TOP
|
特許
|
意匠
|
商標
特許ウォッチ
Twitter
他の特許を見る
公開番号
2025067062
公報種別
公開特許公報(A)
公開日
2025-04-24
出願番号
2023176738
出願日
2023-10-12
発明の名称
圧電ポンプ
出願人
株式会社村田製作所
代理人
個人
,
個人
主分類
F04B
43/04 20060101AFI20250417BHJP(液体用容積形機械;液体または圧縮性流体用ポンプ)
要約
【課題】振動板の振動に伴う筐体の振動が、ヒートシンクへと伝達されることを抑制する。
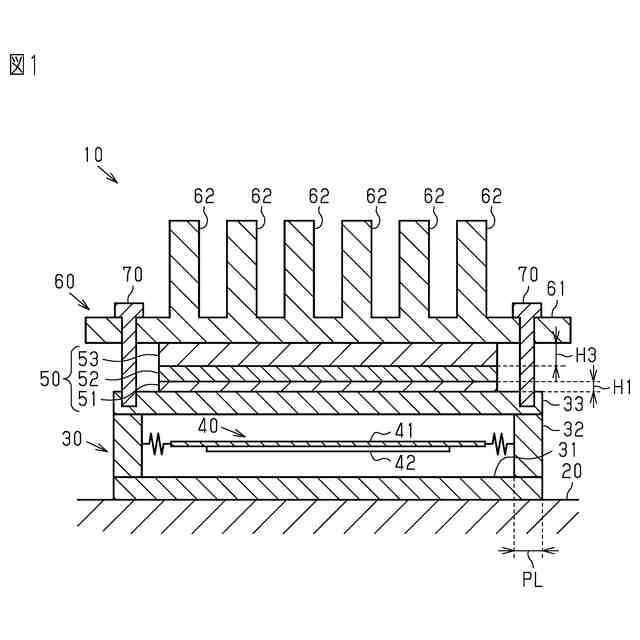
【解決手段】圧電ポンプ10は、振動板40と、筐体30と、弾性体50と、ヒートシンク60と、固定部材70と、を備えている。振動板40は、圧電振動子42を有している。筐体30は、振動板40を収容している。弾性体50は、筐体30の外面に取り付けられている。また、弾性体50の弾性率は、筐体30の弾性率よりも小さい。ヒートシンク60は、弾性体50における筐体30とは反対側に取り付けられている。固定部材70は、ヒートシンク60を、弾性体50を介さずに、筐体30に固定する。弾性体50は、筐体30側から順に積層された、第1層51、第2層52、及び第3層53を有している。第1層51の材質は、第2層52の材質とは異なっている。
【選択図】図1
特許請求の範囲
【請求項1】
圧電振動子を有する振動板と、
前記振動板を収容する筐体と、
前記筐体の外面に取り付けられ、前記筐体よりも弾性率が小さい弾性体と、
前記弾性体における前記筐体とは反対側に取り付けられたヒートシンクと、
前記ヒートシンクを、前記弾性体を介さずに前記筐体に固定する固定部材と、
を備え、
前記弾性体は、前記筐体側から順に積層された、第1層、第2層、及び第3層を有し、
前記第1層の材質は、前記第2層の材質とは異なる
圧電ポンプ。
続きを表示(約 1,000 文字)
【請求項2】
前記第3層の材質は、前記第2層の材質とは異なる
請求項1に記載の圧電ポンプ。
【請求項3】
前記第1層の弾性率は、前記第2層の弾性率よりも小さい
請求項1に記載の圧電ポンプ。
【請求項4】
複数の前記固定部材を備えており、
前記複数の固定部材は、間隔を空けて配置されている
請求項1に記載の圧電ポンプ。
【請求項5】
前記筐体は、天壁、前記天壁に向かい合う底壁、及び前記天壁と前記底壁とを接続する側壁を含んでおり、
前記振動板は、前記天壁及び前記底壁が向かい合う方向に振動し、
前記固定部材は、前記天壁及び前記底壁が向かい合う方向で透視したときに、前記筐体における前記側壁が存在する箇所に固定されている
請求項1に記載の圧電ポンプ。
【請求項6】
前記筐体及び前記ヒートシンクのうちの一方を第1部材とし、前記筐体及び前記ヒートシンクのうちの他方を第2部材としたとき、
前記第1部材から前記第2部材に向かって突出する柱状部材をさらに備え、
前記柱状部材の突出先端は、前記第2部材に接触している
請求項1に記載の圧電ポンプ。
【請求項7】
前記第1層における前記弾性体の積層方向に沿う厚み寸法は、前記第3層における前記積層方向に沿う厚み寸法よりも小さい
請求項1に記載の圧電ポンプ。
【請求項8】
圧電振動子を有する振動板と、
前記振動板を収容する筐体と、
前記筐体の外面に取り付けられ、前記筐体よりも弾性率が小さい弾性体と、
前記弾性体における前記筐体とは反対側に取り付けられたヒートシンクと、
前記筐体が載置されるベース材と、
前記ヒートシンクを、前記弾性体を介さずに前記ベース材に固定する固定部材と、
を備え、
前記弾性体は、前記筐体側から順に積層された、第1層、第2層、及び第3層を有し、
前記第1層の材質は、前記第2層の材質とは異なる
圧電ポンプ。
【請求項9】
前記ベース材及び前記ヒートシンクのうちの一方を第1部材とし、前記ベース材及び前記ヒートシンクのうちの他方を第2部材としたとき、
前記第1部材から前記第2部材に向かって突出する柱状部材をさらに備え、
前記柱状部材の突出先端は、前記第2部材に接触している
請求項8に記載の圧電ポンプ。
発明の詳細な説明
【技術分野】
【0001】
本発明は、圧電ポンプに関する。
続きを表示(約 1,700 文字)
【背景技術】
【0002】
特許文献1に記載の圧電振動板は、ダイヤフラムと、圧電体と、中間板と、接着剤と、を備えている。ダイヤフラムは可撓性を有する板状である。中間板は、ダイヤフラムの主面上に接着剤を介して張り付けられている。圧電体は、中間板におけるダイヤフラムとは反対側の主面に接着剤を介して張り付けられている。
【先行技術文献】
【特許文献】
【0003】
特許第5333523号公報
【発明の概要】
【発明が解決しようとする課題】
【0004】
特許文献1に記載のような圧電振動板を駆動源とする圧電ポンプが知られている。この種の圧電ポンプにおいて圧電振動板を駆動させると、圧電振動板に入力した電気エネルギーの一部は熱エネルギーに変換される。そこで、例えばヒートシンクを設けることにより、圧電ポンプの放熱性能を高めることが考えられる。しかし、圧電ポンプを駆動しているときには、圧電振動板が撓み振動を繰り返している。そのため、圧電振動板の振動が、ヒートシンクに伝わって、圧電ポンプから発せられる騒音及び振動の原因となるおそれがある。
【課題を解決するための手段】
【0005】
上記課題を解決するため、本発明は、圧電振動子を有する振動板と、前記振動板を収容する筐体と、前記筐体の外面に取り付けられ、前記筐体よりも弾性率が小さい弾性体と、前記弾性体における前記筐体とは反対側に取り付けられたヒートシンクと、前記ヒートシンクを、前記弾性体を介さずに前記筐体に固定する固定部材と、を備え、前記弾性体は、前記筐体側から順に積層された、第1層、第2層、及び第3層を有し、前記第1層の材質は、前記第2層の材質とは異なる圧電ポンプである。
【0006】
また、上記課題を解決するため、本発明は、圧電振動子を有する振動板と、前記振動板を収容する筐体と、前記筐体の外面に取り付けられ、前記筐体よりも弾性率が小さい弾性体と、前記弾性体における前記筐体とは反対側に取り付けられたヒートシンクと、前記筐体が載置されるベース材と、前記ヒートシンクを、前記弾性体を介さずに前記ベース材に固定する固定部材と、を備え、前記弾性体は、前記筐体側から順に積層された、第1層、第2層、及び第3層を有し、前記第1層の材質は、前記第2層の材質とは異なる圧電ポンプである。
【発明の効果】
【0007】
上記構成によれば、弾性体の各層の材質の違いに起因して、筐体からヒートシンクへの経路上において、第1層と第2層との界面、第2層と第3層との界面、という2つの界面が存在する。これら弾性体の内部の界面において、振動が減衰したり界面に沿って分散したりする。そのため、振動板の振動に伴う筐体の振動が、ヒートシンクへと伝達されることを低減できる。
【図面の簡単な説明】
【0008】
図1は、圧電ポンプの断面図である。
図2は、圧電ポンプの斜視図である。
図3は、圧電ポンプにおける弾性体の一部を拡大した断面図である。
図4は、変更例の圧電ポンプの断面図である。
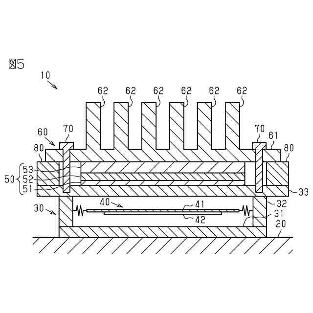
図5は、変更例の圧電ポンプの断面図である。
図6は、変更例の圧電ポンプの断面図である。
図7は、変更例の圧電ポンプの断面図である。
【発明を実施するための形態】
【0009】
以下、圧電ポンプの一実施形態を、図面を参照して説明する。なお、図面は、理解を容易にするために構成要素を拡大して示している場合がある。構成要素の寸法比率は実際のものと、又は別の図面中のものと異なる場合がある。
【0010】
<全体構成について>
図1に示すように、圧電ポンプ10は、ベース材20と、筐体30と、を備えている。また、圧電ポンプ10は、振動板40と、弾性体50と、ヒートシンク60と、複数の固定部材70と、を備えている。圧電ポンプ10は、例えば、ネブライザ等に適用される。
(【0011】以降は省略されています)
この特許をJ-PlatPat(特許庁公式サイト)で参照する
関連特許
株式会社村田製作所
電子部品
19日前
株式会社村田製作所
二次電池
6日前
株式会社村田製作所
移相回路
12日前
株式会社村田製作所
測定装置
14日前
株式会社村田製作所
コイル部品
12日前
株式会社村田製作所
コイル部品
12日前
株式会社村田製作所
ネブライザ
12日前
株式会社村田製作所
高周波回路
13日前
株式会社村田製作所
電子聴診器
12日前
株式会社村田製作所
電池パック
14日前
株式会社村田製作所
フィルタ装置
13日前
株式会社村田製作所
電力システム
1日前
株式会社村田製作所
電池モジュール
12日前
株式会社村田製作所
圧力センサ装置
14日前
株式会社村田製作所
電子部品包装装置
14日前
株式会社村田製作所
造粒粉及びインダクタ
13日前
株式会社村田製作所
コンデンサモジュール
12日前
株式会社村田製作所
ファブリペロー干渉計
13日前
株式会社村田製作所
積層セラミック電子部品
13日前
株式会社村田製作所
光学的パターン表示物品
19日前
株式会社村田製作所
積層セラミック電子部品
19日前
株式会社村田製作所
積層セラミック電子部品
13日前
株式会社村田製作所
積層セラミック電子部品
13日前
株式会社村田製作所
濾過装置および濾過方法
13日前
株式会社村田製作所
二次電池および電池パック
13日前
株式会社村田製作所
高周波回路および通信装置
14日前
株式会社村田製作所
積層インダクタの製造方法
19日前
株式会社村田製作所
電池および電池の製造方法
19日前
株式会社村田製作所
二次電池および電池パック
15日前
株式会社村田製作所
二次電池および電池パック
15日前
株式会社村田製作所
積層セラミックコンデンサ
15日前
株式会社村田製作所
積層セラミックコンデンサ
13日前
株式会社村田製作所
積層セラミックコンデンサ
13日前
株式会社村田製作所
二次電池および電池パック
13日前
株式会社村田製作所
タブおよび電池モジュール
19日前
株式会社村田製作所
光学的パターン表示システム
19日前
続きを見る
他の特許を見る