TOP
|
特許
|
意匠
|
商標
特許ウォッチ
Twitter
他の特許を見る
10個以上の画像は省略されています。
公開番号
2025065919
公報種別
公開特許公報(A)
公開日
2025-04-22
出願番号
2023175453
出願日
2023-10-10
発明の名称
ポンプ
出願人
株式会社酉島製作所
代理人
個人
,
個人
主分類
F04D
29/66 20060101AFI20250415BHJP(液体用容積形機械;液体または圧縮性流体用ポンプ)
要約
【課題】NZ加振力によるインペラの振動を抑制し、他の構成部品の固有振動との共振による過大振動を抑制できるポンプを提供する。
【解決手段】ポンプ10は、ポンプケーシングと、回転軸25に取り付けられたインペラ30と、インペラ30の翼部32と対向する舌部20aと、インペラ30のシュラウド31に対して回転軸25の軸線Aまわりに間隔をあけて設けられた遠心式で複数の動吸振器40とを備える。動吸振器40は、シュラウド31の径方向に沿って延びるように配置され、径方向の内端側が軸支された板状の質量体45を有する。
【選択図】図3
特許請求の範囲
【請求項1】
筒状のポンプケーシングと、
前記ポンプケーシング内において回転軸に取り付けられたシュラウドと、前記シュラウドから放射状に突出した複数の翼部とを有するインペラと、
前記翼部と対向するように前記ポンプケーシングに設けられ、前記回転軸の軸線まわりに間隔をあけて設けられた複数の舌部と、
前記シュラウドの径方向に沿って延びるように配置され、前記径方向の内端側が軸支された板状の質量体を有し、前記シュラウドに対して前記回転軸の軸線まわりに間隔をあけて配置された遠心式で複数の動吸振器と
を備える、ポンプ。
続きを表示(約 630 文字)
【請求項2】
前記質量体は、前記径方向の外端側に錘を含み、前記シュラウドに対して着脱可能であり、前記錘の重量及び前記質量体の回転軸線から前記錘の先端までの長さのうちの少なくとも一方が異なるように複数種用意されている、請求項1に記載のポンプ。
【請求項3】
前記シュラウドには、前記質量体を軸支するための複数の軸穴が、前記径方向に間隔をあけて設けられている、請求項1又は2に記載のポンプ。
【請求項4】
前記シュラウドには、前記舌部に対して離れる向きに窪むように、前記複数の動吸振器を個別に配置する複数の凹部が設けられている、請求項1又は2に記載のポンプ。
【請求項5】
前記凹部には抵抗を付与するための液体が充填され、前記凹部の開口はカバーによって塞がれている、請求項4に記載のポンプ。
【請求項6】
前記動吸振器の数と前記翼部の数は同じであり、
前記シュラウドの前記径方向において、前記動吸振器は前記翼部と同じ角度位置に配置されている、請求項1又は2に記載のポンプ。
【請求項7】
前記ポンプケーシングは、前記インペラの下流側にガイドベーンを介して設けられ、前記インペラから突出した前記回転軸の一部を軸支する軸受ケーシングを有し、
前記舌部は、前記ガイドベーンのうち前記翼部と対向する対向縁によって構成されている、請求項1又は2に記載のポンプ。
発明の詳細な説明
【技術分野】
【0001】
本発明は、ポンプに関する。
続きを表示(約 1,800 文字)
【背景技術】
【0002】
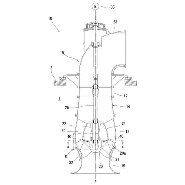
特許文献1に開示された立軸ポンプは、ポンプケーシング内にインペラと軸受ケーシングを備える。インペラは、放射状に突出した複数の翼部を備え、ポンプケーシング内において回転軸の下端側に取り付けられている。軸受ケーシングは、ポンプケーシング内のインペラの上側にガイドベーンを介して配置され、回転軸のインペラから突出した部分を回転可能に支持する。
【先行技術文献】
【特許文献】
【0003】
特開2003-176798号公報
【発明の概要】
【発明が解決しようとする課題】
【0004】
この種のポンプでは、インペラの翼部がガイドベーンの下端(舌部)の下方を通過するとき、インペラの回転数(N)にインペラ翼部の数(Z)を乗算した翼通過周波数(NZ)の周期でインペラが加振されて振動する。このNZによる加振力は通過する全ての翼部に個別に作用する一方、このNZ加振力が作用する向きは、ガイドベーンが延びる方向によって異なるが、インペラ全体としては概ね径方向である。ガイドベーンには、インペラの回転数(N)にガイドベーンの数(Zg)を乗算したNZgによる力が作用する。しかし、ガイドベーンはポンプケーシングに固定されているため、NZgによってガイドベーンに作用する力は、NZによってインペラに作用する加振力と比較して小さい。つまり、NZgによってガイドベーンに作用する力については考慮の必要はない。
【0005】
NZ加振力によるインペラの振動周波数が他の構成部品(特にポンプケーシング)の固有振動数に同期して共振すると、過大な振動になる。しかし、特許文献1の立軸ポンプでは、NZ加振力によるインペラの振動と他の構成部品の固有振動との共振について何ら考慮されていないため、共振による振動抑制について改善の余地がある。
【0006】
本発明は、NZ加振力によるインペラの振動を抑制し、他の構成部品の固有振動との共振による過大振動を抑制できるポンプを提供することを課題とする。
【課題を解決するための手段】
【0007】
本発明は、筒状のポンプケーシングと、前記ポンプケーシング内において回転軸に取り付けられたシュラウドと、前記シュラウドから放射状に突出した複数の翼部とを有するインペラと、前記翼部と対向するように前記ポンプケーシングに設けられ、前記回転軸の軸線まわりに間隔をあけて設けられた複数の舌部と、前記シュラウドの径方向に沿って延びるように配置され、前記径方向の内端側が軸支された板状の質量体を有し、前記シュラウドに対して前記回転軸の軸線まわりに間隔をあけて配置された遠心式で複数の動吸振器とを備える、ポンプを提供する。
【0008】
インペラのシュラウドには、シュラウドの径方向に沿って延びる板状の質量体を備え、回転軸の軸線まわりに間隔をあけて遠心式で複数の動吸振器が配置されている。これにより、動吸振器が備える回転揺動可能な質量体は、インペラに径方向の加振力が作用すると、慣性によって加振力とは逆向きに揺動(回動)する。そのため、NZ加振力によるインペラの振動を抑制できる。よって、インペラの振動周波数がポンプケーシング等の他の構成部品の固有振動数に同期して共振し、ポンプに過大振動が発生することを抑制できる。
【発明の効果】
【0009】
本発明では、NZ加振力によるインペラの振動を抑制し、他の構成部品の固有振動との共振による過大振動を抑制できる。
【図面の簡単な説明】
【0010】
本発明の第1実施形態に係る立軸ポンプの断面図。
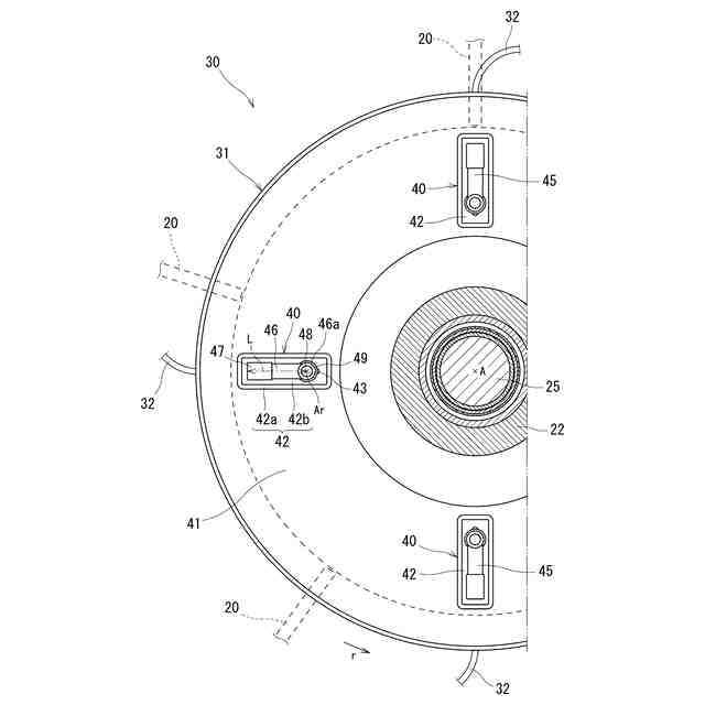
図1のII-II線で切断したインペラの一部断面図。
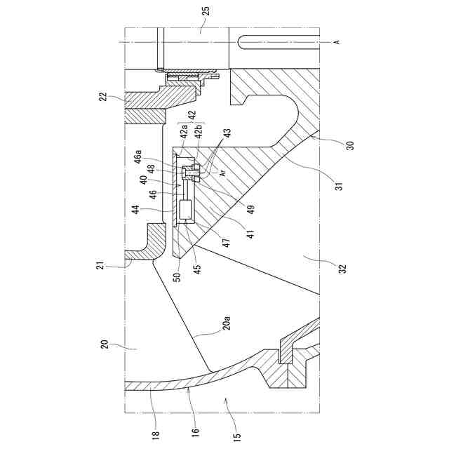
図1のIII部分の拡大断面図。
インペラのシュラウドと動吸振器の分解斜視図。
NZによる加振力が作用した図1のインペラのII-II線断面図。
アンバランスなインペラの均整方法を示す図5と同様の断面図。
動吸振器の概要を示す図。
臨界減衰比による振動変化を示すグラフ。
第2実施形態に係る立軸ポンプの図2と同様の断面図。
第3実施形態に係る立軸ポンプの図3と同様の拡大断面図。
【発明を実施するための形態】
(【0011】以降は省略されています)
この特許をJ-PlatPat(特許庁公式サイト)で参照する
関連特許
株式会社酉島製作所
液化ガス昇圧ポンプ
29日前
個人
海流製造装置。
29日前
株式会社スギノマシン
圧縮機
7日前
株式会社ツインバード
送風装置
27日前
株式会社ツインバード
送風装置
27日前
カヤバ株式会社
電動ポンプ
2か月前
株式会社不二越
蓄圧装置
2か月前
ビッグボーン株式会社
送風装置
1か月前
株式会社ノーリツ
ロータリ圧縮機
1か月前
株式会社酉島製作所
ポンプ
3か月前
樫山工業株式会社
真空ポンプ
8日前
サンデン株式会社
スクロール圧縮機
13日前
小倉クラッチ株式会社
ルーツブロア
2か月前
株式会社不二越
ベーンポンプ
2か月前
株式会社ノーリツ
ロータリー圧縮機
3か月前
サンデン株式会社
スクロール圧縮機
13日前
株式会社坂製作所
スクロール圧縮機
3か月前
サンデン株式会社
スクロール圧縮機
13日前
株式会社アイシン
ポンプケース
20日前
エドワーズ株式会社
真空ポンプ
21日前
株式会社チロル
送風機、送風機付衣服
1か月前
株式会社島津製作所
真空ポンプ
27日前
株式会社豊田自動織機
流体機械
1か月前
株式会社島津製作所
真空ポンプ
1か月前
株式会社ナノバブル研究所
気液駆動装置
21日前
株式会社豊田自動織機
電動圧縮機
1か月前
株式会社豊田自動織機
電動圧縮機
2か月前
株式会社豊田自動織機
電動圧縮機
2か月前
NTN株式会社
電動オイルポンプ
14日前
已久工業股ふん有限公司
空気圧縮機構造
2か月前
株式会社豊田自動織機
電動圧縮機
3か月前
株式会社豊田自動織機
電動圧縮機
1か月前
株式会社豊田自動織機
電動圧縮機
1か月前
株式会社豊田自動織機
電動圧縮機
1か月前
株式会社豊田自動織機
電動圧縮機
2か月前
株式会社豊田自動織機
電動圧縮機
1か月前
続きを見る
他の特許を見る