TOP
|
特許
|
意匠
|
商標
特許ウォッチ
Twitter
他の特許を見る
公開番号
2025122359
公報種別
公開特許公報(A)
公開日
2025-08-21
出願番号
2024017770
出願日
2024-02-08
発明の名称
電動圧縮機
出願人
株式会社豊田自動織機
代理人
個人
,
個人
主分類
F04B
39/00 20060101AFI20250814BHJP(液体用容積形機械;液体または圧縮性流体用ポンプ)
要約
【課題】リードが接続端子に接続されていることを作業者が容易に確認することができる電動圧縮機を提供すること。
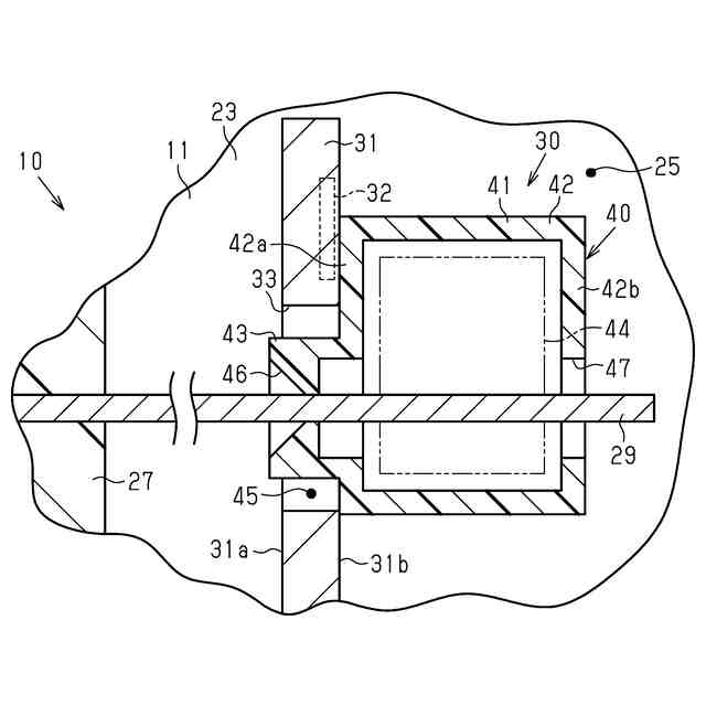
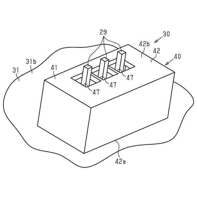
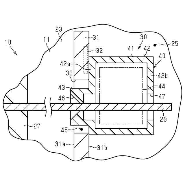
【解決手段】ケース41には、接続端子44を間に挟んで挿入口46とは反対側にリード29が露出する露出孔47が設けられている。このため、リード29が接続端子44に接続されているときに、リード29が露出孔47を介して露出する。したがって、リード29が接続端子44に接続されていることを作業者が容易に確認することが可能となる。
【選択図】図2
特許請求の範囲
【請求項1】
流体を圧縮する圧縮部と、
前記圧縮部を駆動するモータと、
前記モータを駆動するインバータと、を備え、
前記インバータは、
回路基板と、
前記回路基板上に形成されたパターンに電気的に接続される接続端子を収容するケースを有するとともに、前記回路基板に実装されるコネクタと、を有する電動圧縮機であって、
前記回路基板には、貫通孔が形成されており、
前記ケースは、前記貫通孔内に挿入されるとともに、前記接続端子に電気的に接続されるリードを前記接続端子に向けて案内する挿入口が開口する突出部を有し、
前記ケースには、前記接続端子を間に挟んで前記挿入口とは反対側に前記リードが露出する露出孔が設けられていることを特徴とする電動圧縮機。
続きを表示(約 200 文字)
【請求項2】
前記突出部と前記貫通孔との間の隙間が前記リードの太さよりも大きいことを特徴とする請求項1に記載の電動圧縮機。
【請求項3】
前記ケースは、前記突出部と前記貫通孔との間の隙間を閉塞していることを特徴とする請求項1又は請求項2に記載の電動圧縮機。
【請求項4】
前記リードは、前記露出孔から突出していることを特徴とする請求項1又は請求項2に記載の電動圧縮機。
発明の詳細な説明
【技術分野】
【0001】
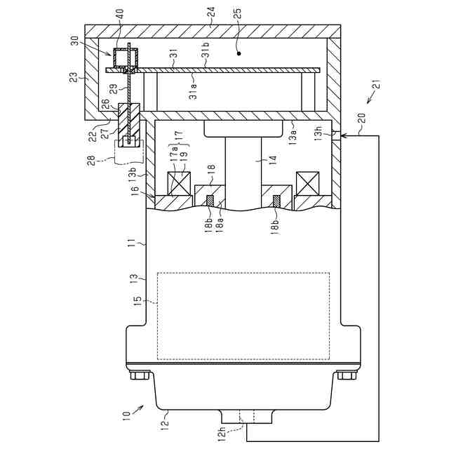
本発明は、電動圧縮機に関する。
続きを表示(約 1,800 文字)
【背景技術】
【0002】
電動圧縮機は、圧縮部と、モータと、を備えている。圧縮部は、流体を圧縮する。モータは、圧縮部を駆動する。また、例えば特許文献1のように、電動圧縮機は、インバータを備えている。インバータは、モータを駆動する。インバータは、回路基板を有している。また、例えば特許文献2のように、インバータは、回路基板に実装されるコネクタを有している。コネクタは、接続端子を収容するケースを有している。ケースには、リードが挿入される挿入口が開口している。接続端子は、リードと回路基板上に形成されたパターンとを電気的に接続している。
【先行技術文献】
【特許文献】
【0003】
特開2019-203448号公報
特開2022-137909号公報
【発明の概要】
【発明が解決しようとする課題】
【0004】
このような電動圧縮機においては、リードの挿入方向に対して、リードとコネクタとの間に回路基板が設けられる場合がある。この場合、回路基板に貫通孔を設け、且つ、リードを回路基板の貫通孔に挿入するとともにコネクタの挿入口に挿入する必要がある。この場合、リードをコネクタの挿入口に挿入する際に、例えば、リードがコネクタの挿入口に挿入されずに、回路基板の貫通孔とコネクタのケースとの間の隙間に誤挿入されてしまう場合がある。したがって、リードが接続端子に接続されていることを作業者が容易に確認することができる電動圧縮機が望まれている。
【課題を解決するための手段】
【0005】
上記課題を解決する電動圧縮機は、流体を圧縮する圧縮部と、前記圧縮部を駆動するモータと、前記モータを駆動するインバータと、を備え、前記インバータは、回路基板と、前記回路基板上に形成されたパターンに電気的に接続される接続端子を収容するケースを有するとともに、前記回路基板に実装されるコネクタと、を有する電動圧縮機であって、前記回路基板には、貫通孔が形成されており、前記ケースは、前記貫通孔内に挿入されるとともに、前記接続端子に電気的に接続されるリードを前記接続端子に向けて案内する挿入口が開口する突出部を有し、前記ケースには、前記接続端子を間に挟んで前記挿入口とは反対側に前記リードが露出する露出孔が設けられている。
【0006】
これによれば、ケースには、接続端子を間に挟んで挿入口とは反対側にリードが露出する露出孔が設けられているため、リードが接続端子に接続されているときに、リードが露出孔を介して露出する。したがって、リードが接続端子に接続されていることを作業者が容易に確認することができる。
【0007】
上記電動圧縮機において、前記突出部と前記貫通孔との間の隙間が前記リードの太さよりも大きいとよい。
このように、突出部と貫通孔との間の隙間がリードの太さよりも大きく、リードが突出部と貫通孔との間の隙間に誤挿入され易い構成であっても、リードが接続端子に接続されているときには、リードが露出孔を介して露出する。したがって、リードが突出部と貫通孔との間の隙間に誤挿入され易い構成であっても、リードが接続端子に接続されていることを作業者が容易に確認することができる。
【0008】
上記電動圧縮機において、前記ケースは、前記突出部と前記貫通孔との間の隙間を閉塞しているとよい。
これによれば、リードが挿入口に挿入されずに、突出部と貫通孔との間の隙間に誤挿入されたとしても、リードがケースに当接する。したがって、リードが誤挿入されていることを作業者が把握し易くなる。
【0009】
上記電動圧縮機において、前記リードは、前記露出孔から突出しているとよい。
これによれば、リードが、露出孔から突出していない場合に比べると、リードが接続端子に接続されていることを作業者がさらに容易に確認し易くすることができる。
【発明の効果】
【0010】
この発明によれば、リードが接続端子に接続されていることを作業者が容易に確認することができる。
【図面の簡単な説明】
(【0011】以降は省略されています)
この特許をJ-PlatPat(特許庁公式サイト)で参照する
関連特許
株式会社豊田自動織機
排気管
7日前
株式会社豊田自動織機
監視装置
11日前
株式会社豊田自動織機
冷却装置
11日前
株式会社豊田自動織機
電力変換器
3日前
株式会社豊田自動織機
車両用機器
11日前
株式会社豊田自動織機
回転圧縮機
3日前
株式会社豊田自動織機
回転圧縮機
3日前
株式会社豊田自動織機
荷役制御装置
7日前
株式会社豊田自動織機
自動運転車両
7日前
株式会社豊田自動織機
インバータ装置
11日前
株式会社豊田自動織機
燃料電池システム
11日前
株式会社豊田自動織機
燃料電池システム
11日前
株式会社豊田自動織機
燃料電池システム
11日前
株式会社豊田自動織機
パレット検知装置
9日前
株式会社豊田自動織機
段積みケース構造
7日前
株式会社豊田自動織機
スクロール型圧縮機
1日前
株式会社豊田自動織機
スクロール型圧縮機
2日前
株式会社豊田自動織機
燃料電池モジュール
11日前
株式会社豊田自動織機
回転電機のステータ
7日前
株式会社豊田自動織機
スクロール型圧縮機
7日前
株式会社豊田自動織機
エンジン式産業車両
1日前
株式会社豊田自動織機
スクロール型圧縮機
2日前
株式会社豊田自動織機
車両のリアシート構造
2日前
株式会社豊田自動織機
屋外自動運転システム
7日前
株式会社豊田自動織機
両回転式スクロール型圧縮機
2日前
株式会社豊田自動織機
両回転式スクロール型圧縮機
2日前
株式会社豊田自動織機
両回転式スクロール型圧縮機
2日前
株式会社豊田自動織機
両回転式スクロール型圧縮機
2日前
株式会社豊田自動織機
ローリングピストン型圧縮機
1日前
株式会社豊田自動織機
両回転式スクロール型圧縮機
2日前
株式会社豊田自動織機
両回転式スクロール型圧縮機
2日前
トヨタ自動車株式会社
電池
3日前
株式会社豊田自動織機
両回転式スクロール型圧縮機
2日前
株式会社豊田自動織機
産業車両及び産業車両の冷却装置
1日前
豊田合成株式会社
車両用内装品
9日前
株式会社豊田自動織機
ローリングピストン型電動圧縮機
1日前
続きを見る
他の特許を見る