TOP
|
特許
|
意匠
|
商標
特許ウォッチ
Twitter
他の特許を見る
10個以上の画像は省略されています。
公開番号
2025108934
公報種別
公開特許公報(A)
公開日
2025-07-24
出願番号
2024002490
出願日
2024-01-11
発明の名称
圧縮機
出願人
株式会社豊田自動織機
代理人
弁理士法人ぱてな
主分類
F04B
39/00 20060101AFI20250716BHJP(液体用容積形機械;液体または圧縮性流体用ポンプ)
要約
【課題】取付足に装着される防振部材の弾性体の熱劣化を抑制することができる圧縮機を提供する。
【解決手段】流体を圧縮する圧縮部3と、圧縮部3を収容するハウジング1と、ハウジング1の外面から突出し、取付孔31を有する取付足25と、取付孔31に装着される防振部材41と、を備える。防振部材41は、取付孔31の内周面31aに保持される外筒43と、外筒43の内側に配置され、取付足25を取付対象91に締結するための締結部材93が挿通される内筒45と、外筒43と内筒45との間に配置されて両者を連結する弾性体47と、を有する。取付孔31の内周面31aと外筒43の外周面43aとの間には、取付足25から外筒43への熱伝導を抑制する熱伝導抑制部材61が配置されている。
【選択図】図6
特許請求の範囲
【請求項1】
流体を圧縮する圧縮部と、
前記圧縮部を収容するハウジングと、
前記ハウジングの外面から突出し、取付孔を有する取付足と、
前記取付孔に装着される防振部材と、を備え、
前記防振部材は、前記取付孔の内周面に保持される外筒と、前記外筒の内側に配置され、前記取付足を取付対象に締結するための締結部材が挿通される内筒と、前記外筒と前記内筒との間に配置されて両者を連結する弾性体と、を有し、
前記取付孔の前記内周面と前記外筒の外周面との間には、前記取付足から前記外筒への熱伝導を抑制する熱伝導抑制部材が配置されていることを特徴とする圧縮機。
続きを表示(約 610 文字)
【請求項2】
前記熱伝導抑制部材は、前記取付足よりも熱伝導性の低い低熱伝導材料よりなる請求項1記載の圧縮機。
【請求項3】
前記熱伝導抑制部材は環状をなしている請求項1又は2記載の圧縮機。
【請求項4】
前記熱伝導抑制部材は弧状をなし、
前記取付孔の軸方向視において、前記ハウジングの前記外面に近い近接内周面と前記近接内周面より前記外面から遠い遠隔内周面とに前記取付孔の前記内周面を二分割したとき、前記熱伝導抑制部材は前記近接内周面に配置されている請求項1又は2記載の圧縮機。
【請求項5】
前記取付足における前記取付孔の軸方向の一方の端部には、前記熱伝導抑制部材が当接する当接部が設けられている請求項1又は2記載の圧縮機。
【請求項6】
前記取付孔の軸方向視において、前記ハウジングの前記外面に近い近接内周面と前記近接内周面より前記外面から遠い遠隔内周面とに前記取付孔の前記内周面を二分割したとき、前記当接部は前記遠隔内周面に設けられている請求項5記載の圧縮機。
【請求項7】
前記熱伝導抑制部材は、前記取付孔に対して前記防振部材を弾性支持するばね構造体よりなり、
前記ばね構造体は、前記取付孔の前記内周面と前記外筒の前記外周面との少なくとも一方に対して、部分的に当接している請求項1又は2記載の圧縮機。
発明の詳細な説明
【技術分野】
【0001】
本発明は圧縮機に関する。
続きを表示(約 1,300 文字)
【背景技術】
【0002】
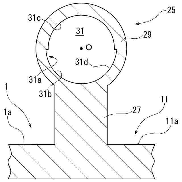
特許文献1に従来の圧縮機が開示されている。この圧縮機は、圧縮部と、ハウジングと、取付足と、防振部材と、を備えている。
【0003】
圧縮部は流体を圧縮する。ハウジングは圧縮部を収容している。取付足は、ハウジングの外面から突出し、取付孔を有している。防振部材は、取付足の取付孔に装着される。
【0004】
防振部材は、外筒と、内筒と、弾性体と、を有している。外筒は、取付孔の内周面に保持される。内筒は、外筒の内側に配置され、取付足を取付対象に締結するための締結部材が挿通される。弾性体は、外筒と内筒との間に配置されて両者を連結している。
【0005】
この圧縮機は、防振部材の内筒に挿通した締結部材により取付足を車両等の取付対象に締結することで、車両等に固定される。そして、圧縮機の作動中においては、圧縮部で生じる振動が、取付孔に装着された防振部材の弾性体によって吸収される。その結果、この圧縮機によれば、圧縮部で生じる振動が車両の取付対象に伝達されることを抑制することができる。
【先行技術文献】
【特許文献】
【0006】
実開昭63-98490号公報
【発明の概要】
【発明が解決しようとする課題】
【0007】
しかしながら、上記従来の圧縮機においては、圧縮機の作動中、圧縮部で圧縮された流体が高温になるため、圧縮部を収容するハウジングを介して高温流体の熱が防振部材に伝わって、ゴム等の弾性体が熱劣化するという問題がある。例えば、熱によりゴム等の弾性体が軟化すれば、強度低下した弾性体が破断し易くなる。また、高温に長時間晒されることで弾性体が硬化すれば、防振特性が低下し易くなる。
【0008】
本発明は、上記従来の実情に鑑みてなされたものであって、取付足に装着される防振部材の弾性体の熱劣化を抑制することができる圧縮機を提供することを解決すべき課題としている。
【課題を解決するための手段】
【0009】
本発明の圧縮機は、流体を圧縮する圧縮部と、
前記圧縮部を収容するハウジングと、
前記ハウジングの外面から突出し、取付孔を有する取付足と、
前記取付孔に装着される防振部材と、を備え、
前記防振部材は、前記取付孔の内周面に保持される外筒と、前記外筒の内側に配置され、前記取付足を取付対象に締結するための締結部材が挿通される内筒と、前記外筒と前記内筒との間に配置されて両者を連結する弾性体と、を有し、
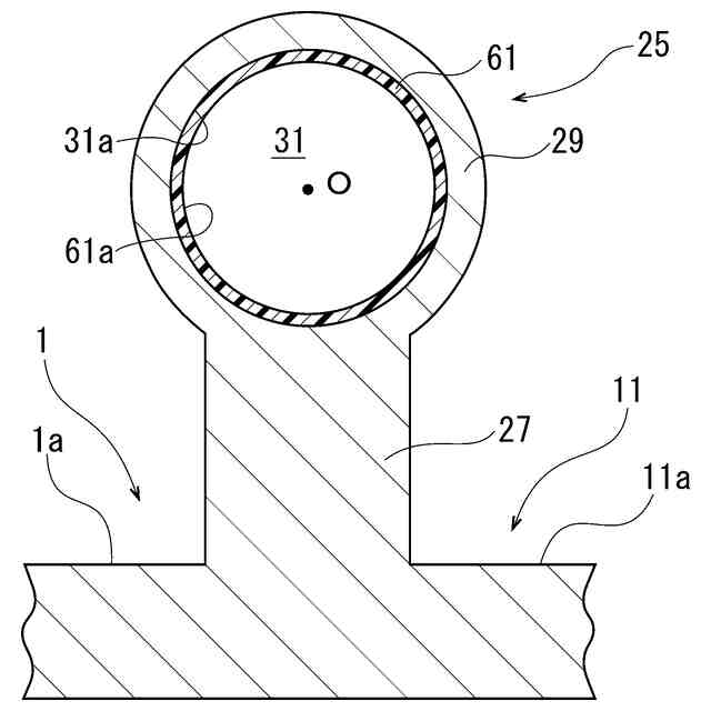
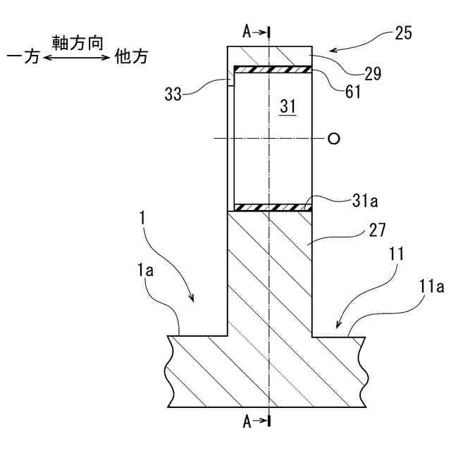
前記取付孔の前記内周面と前記外筒の外周面との間には、前記取付足から前記外筒への熱伝導を抑制する熱伝導抑制部材が配置されていることを特徴とする。
【0010】
本発明の圧縮機では、取付足の取付孔の内周面に防振部材の外筒が保持されており、この取付孔の内周面と外筒の外周面との間に熱伝導抑制部材が配置されている。このため、熱伝導抑制部材によって、取付足から外筒への熱伝導が抑制される。その結果、取付足から外筒の内側に配置された弾性体に熱が伝わることを抑えることができる。
(【0011】以降は省略されています)
特許ウォッチbot のツイートを見る
この特許をJ-PlatPat(特許庁公式サイト)で参照する
関連特許
株式会社豊田自動織機
電源装置
9日前
株式会社豊田自動織機
トランス
9日前
株式会社豊田自動織機
産業車両
24日前
株式会社豊田自動織機
蓄電装置
8日前
株式会社豊田自動織機
内燃機関
8日前
株式会社豊田自動織機
制御装置
8日前
株式会社豊田自動織機
双方向充電器
23日前
株式会社豊田自動織機
燃料電池システム
2日前
株式会社豊田自動織機
電力供給システム
21日前
株式会社豊田自動織機
ターボチャージャ
16日前
株式会社豊田自動織機
内燃機関の制御装置
22日前
株式会社豊田自動織機
ディーゼルエンジン
今日
株式会社豊田自動織機
繊維機械の検査システム
29日前
株式会社豊田自動織機
車両用熱マネジメントシステム
8日前
トヨタ自動車株式会社
蓄電池
22日前
株式会社豊田自動織機
繊維構造体および繊維強化複合材
1日前
株式会社豊田自動織機
蓄電装置の製造方法及び蓄電装置
今日
株式会社豊田自動織機
制御装置、及び燃料電池モジュール
8日前
トヨタ自動車株式会社
蓄電モジュール
22日前
株式会社豊田自動織機
多孔質クラスレートシリコンの製造方法
今日
株式会社豊田自動織機
シリコンクラスレートIIを含む負極活物質の製造方法
8日前
株式会社豊田自動織機
産業車両のヘッドガード、産業車両及び産業車両の屋根部材
16日前
株式会社アルテックス
ダイカスト装置及び鋳造品の製造方法
22日前
個人
海流製造装置。
2か月前
株式会社スギノマシン
圧縮機
1か月前
株式会社ツインバード
送風装置
2か月前
株式会社ツインバード
送風装置
2か月前
日機装株式会社
遠心ポンプ
1か月前
カヤバ株式会社
電動ポンプ
21日前
カヤバ株式会社
電動ポンプ
3か月前
株式会社不二越
蓄圧装置
3か月前
ビッグボーン株式会社
送風装置
3か月前
株式会社ノーリツ
ロータリ圧縮機
2か月前
サンデン株式会社
可変容量型圧縮機
29日前
樫山工業株式会社
真空ポンプ
1か月前
サンデン株式会社
スクロール圧縮機
1か月前
続きを見る
他の特許を見る