TOP
|
特許
|
意匠
|
商標
特許ウォッチ
Twitter
他の特許を見る
公開番号
2025164702
公報種別
公開特許公報(A)
公開日
2025-10-30
出願番号
2025039516
出願日
2025-03-12
発明の名称
繊維機械の検査システム
出願人
株式会社豊田自動織機
代理人
個人
,
個人
主分類
G01N
21/88 20060101AFI20251023BHJP(測定;試験)
要約
【課題】記憶部に記憶されるデータ容量を削減しつつ、繊維機械の異常度合いの分布を取得できる繊維機械の検査システムを提供する。
【解決手段】繊維機械の検査システムは、新たに取得した撮影画像に基づいて繊維機械の異常度合いを検出し、検出した繊維機械の異常度合いに基づいて、新たに取得した撮影画像を複数のグループのうちの何れかに分類する分類部と、撮影画像をグループ毎に記憶する記憶部と、新たに取得した撮影画像が分類されたグループである対象グループに分類された撮影画像の枚数をカウントし、カウントした撮影画像の枚数を記憶部に記憶させるカウント部と、記憶部に記憶された対象グループの撮影画像の枚数が所定の上限枚数に達している場合、記憶部に記憶された対象グループの撮影画像を、新たに取得した撮影画像に置換するか否かを判定する選別部とを備えている。
【選択図】図5
特許請求の範囲
【請求項1】
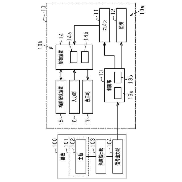
カメラによる撮影画像に基づいて繊維機械を検査する繊維機械の検査システムであって、
新たに取得した前記撮影画像に基づいて前記繊維機械の異常度合いを検出し、検出した前記繊維機械の異常度合いに基づいて、新たに取得した前記撮影画像を複数のグループのうちの何れかに分類する分類部と、
前記撮影画像を前記グループ毎に記憶する記憶部と、
新たに取得した前記撮影画像が分類された前記グループである対象グループに分類された前記撮影画像の枚数をカウントするとともに、カウントした前記撮影画像の枚数を前記記憶部に記憶させるカウント部と、
前記記憶部に記憶された前記対象グループの前記撮影画像の枚数が所定の上限枚数に達したか否かを判定し、前記記憶部に記憶された前記対象グループの前記撮影画像の枚数が前記所定の上限枚数に達していないと判定した場合、新たに取得した前記撮影画像を前記対象グループの前記撮影画像として前記記憶部に記憶させ、前記記憶部に記憶された前記対象グループの前記撮影画像の枚数が前記所定の上限枚数に達していると判定した場合、前記記憶部に記憶された前記対象グループの前記撮影画像を、新たに取得した前記撮影画像に置換するか否かを判定する選別部と、
を備える繊維機械の検査システム。
続きを表示(約 590 文字)
【請求項2】
前記分類部は、前記繊維機械の異常度合いをスコアとして算出し、算出した前記スコアに基づいて、前記撮影画像を前記複数のグループのうちの何れかに分類する請求項1に記載の繊維機械の検査システム。
【請求項3】
前記分類部は、前記繊維機械の異常度合いが高いほど、前記スコアが低くなるように前記スコアの算出を行い、
前記選別部は、新たに取得した前記撮影画像のスコアが、前記記憶部に記憶された前記対象グループの撮影画像のうち、スコアが最も高い前記撮影画像のスコア未満の場合、前記記憶部に記憶された前記対象グループの撮影画像のうち、スコアが最も高い前記撮影画像を、新たに取得した前記撮影画像に置換する請求項2に記載の繊維機械の検査システム。
【請求項4】
前記分類部は、さらに前記撮影画像の撮影時刻に基づいて、前記撮影画像を前記複数のグループのうちの何れかに分類する請求項1に記載の繊維機械の検査システム。
【請求項5】
表示部を備え、
前記表示部は、各グループに分類された前記撮影画像の枚数を示す表を表示する請求項1に記載の繊維機械の検査システム。
【請求項6】
前記表示部は、各グループに分類された前記撮影画像の枚数に応じてヒートマップ形式で前記表を表示する請求項5に記載の繊維機械の検査システム。
発明の詳細な説明
【技術分野】
【0001】
本発明は、繊維機械の検査システムに関する。
続きを表示(約 2,100 文字)
【背景技術】
【0002】
特許文献1には、経糸の開口不良を検知する織機の開口不良検知装置が開示されている。織機の開口不良検知装置は、経糸の開口を撮影するカメラと、カメラによる撮影画像に基づいて開口不良を検知する制御装置とを備えている。撮影画像は、制御装置の記憶部に記憶される。
【0003】
特許文献2に記載の検査システムは、ワークを撮像する撮像部と、撮像部によって撮像された画像を記憶する記憶部と、画像に写るワークが不良品か否かを判定する第1判定部と、記憶部に画像を記憶させるか否かを判定する第2判定部とを備えている。第1判定部により過去に良品と判定されたワークの検査における計測値の分布は、N領域に分けられている。第2判定部は、検査において計測された計測値が、N領域のうち、画像の保存枚数が規定の枚数に満たない領域に属する場合、記憶部に画像を記憶させる。
【先行技術文献】
【特許文献】
【0004】
特開2020-196972号公報
特開2021-144000号公報
【発明の概要】
【発明が解決しようとする課題】
【0005】
特許文献1において、織機の運転中にカメラによる撮影が連続して行われる場合、撮影画像は膨大な枚数になる。このため、全ての撮影画像を保存しようとすると、記憶部の記憶容量が圧迫される。例えば、特許文献2のように、保存する撮影画像の枚数に上限を設けることにより、記憶部に記憶されるデータ容量を削減することが考えられる。しかしながら、この場合には、各領域における撮影画像の枚数は不明であるため、領域全体における撮影画像の分布を取得できない。したがって、検査対象の状態を把握しにくくなる。
【課題を解決するための手段】
【0006】
上記問題点を解決するための繊維機械の検査システムは、カメラによる撮影画像に基づいて繊維機械を検査する繊維機械の検査システムであって、新たに取得した前記撮影画像に基づいて前記繊維機械の異常度合いを検出し、検出した前記繊維機械の異常度合いに基づいて、新たに取得した前記撮影画像を複数のグループのうちの何れかに分類する分類部と、前記撮影画像を前記グループ毎に記憶する記憶部と、新たに取得した前記撮影画像が分類された前記グループである対象グループに分類された前記撮影画像の枚数をカウントするとともに、カウントした前記撮影画像の枚数を前記記憶部に記憶させるカウント部と、前記記憶部に記憶された前記対象グループの前記撮影画像の枚数が所定の上限枚数に達したか否かを判定し、前記記憶部に記憶された前記対象グループの前記撮影画像の枚数が前記所定の上限枚数に達していないと判定した場合、新たに取得した前記撮影画像を前記対象グループの前記撮影画像として前記記憶部に記憶させ、前記記憶部に記憶された前記対象グループの前記撮影画像の枚数が前記所定の上限枚数に達していると判定した場合、前記記憶部に記憶された前記対象グループの前記撮影画像を、新たに取得した前記撮影画像に置換するか否かを判定する選別部と、を備えることを要旨とする。
【0007】
上記構成によれば、選別部は、記憶部に記憶された対象グループの撮影画像の枚数が所定の上限枚数に達している場合、記憶部に記憶された対象グループの撮影画像を、新たに取得した撮影画像に置換するか否かを判定する。これにより、記憶部に記憶される各グループの撮影画像の枚数は上限枚数を超えないように制限されるため、記憶部に記憶されるデータ容量を削減できる。また、カウント部は、対象グループに分類された撮影画像の枚数をカウントするとともに、カウントした撮影画像の枚数を記憶部に記憶させる。これにより、全ての撮影画像を保存しなくても、繊維機械の異常度合いの分布を取得できる。したがって、記憶部に記憶されるデータ容量を削減しつつ、繊維機械の異常度合いの分布を取得できる。
【0008】
上記繊維機械の検査システムにおいて、前記分類部は、前記繊維機械の異常度合いをスコアとして算出し、算出した前記スコアに基づいて、前記撮影画像を前記複数のグループのうちの何れかに分類してもよい。
【0009】
上記構成によれば、例えば、繊維機械の異常度合いがS・A・B・Cや優・良・可・不可など段階的に検出される場合と比較して、繊維機械の異常度合いをより細かく検出することができる。
【0010】
上記繊維機械の検査システムにおいて、前記分類部は、前記繊維機械の異常度合いが高いほど、前記スコアが低くなるように前記スコアの算出を行い、前記選別部は、新たに取得した前記撮影画像のスコアが、前記記憶部に記憶された前記対象グループの撮影画像のうち、スコアが最も高い前記撮影画像のスコア未満の場合、前記記憶部に記憶された前記対象グループの撮影画像のうち、スコアが最も高い前記撮影画像を、新たに取得した前記撮影画像に置換してもよい。
(【0011】以降は省略されています)
この特許をJ-PlatPat(特許庁公式サイト)で参照する
関連特許
株式会社豊田自動織機
荷役装置
1か月前
株式会社豊田自動織機
トランス
10日前
株式会社豊田自動織機
産業車両
25日前
株式会社豊田自動織機
蓄電装置
9日前
株式会社豊田自動織機
内燃機関
9日前
株式会社豊田自動織機
制御装置
9日前
株式会社豊田自動織機
トランス
1か月前
株式会社豊田自動織機
操作装置
1か月前
株式会社豊田自動織機
電源装置
10日前
株式会社豊田自動織機
電力変換器
1か月前
株式会社豊田自動織機
双方向充電器
24日前
株式会社豊田自動織機
車両制御装置
1か月前
株式会社豊田自動織機
排気浄化装置
1か月前
株式会社豊田自動織機
双方向充電器
1か月前
株式会社豊田自動織機
ターボチャージャ
1か月前
株式会社豊田自動織機
ターボチャージャ
17日前
株式会社豊田自動織機
電力供給システム
22日前
株式会社豊田自動織機
燃料電池システム
3日前
株式会社豊田自動織機
燃料電池ユニット
1か月前
株式会社豊田自動織機
電磁ブレーキ装置
1か月前
株式会社豊田自動織機
内燃機関の制御装置
23日前
株式会社豊田自動織機
ディーゼルエンジン
1日前
株式会社豊田自動織機
織機用異常検知装置
1か月前
株式会社豊田自動織機
ねじりコイルばね装置
1か月前
株式会社豊田自動織機
車両のルーフサイド構造
1か月前
株式会社豊田自動織機
内燃機関の制御システム
1か月前
株式会社豊田自動織機
繊維機械の検査システム
1か月前
トヨタ自動車株式会社
蓄電池
23日前
株式会社豊田自動織機
車両用熱マネジメントシステム
9日前
株式会社豊田自動織機
繊維構造体、及び繊維強化複合材
1か月前
株式会社豊田自動織機
繊維構造体および繊維強化複合材
2日前
株式会社豊田自動織機
蓄電装置の製造方法及び蓄電装置
1日前
株式会社豊田自動織機
内燃機関の吸気温度制御システム
1か月前
株式会社豊田自動織機
制御装置、及び燃料電池モジュール
9日前
株式会社豊田自動織機
燃料電池システム及びフォークリフト
1か月前
トヨタ自動車株式会社
蓄電モジュール
23日前
続きを見る
他の特許を見る