TOP
|
特許
|
意匠
|
商標
特許ウォッチ
Twitter
他の特許を見る
公開番号
2025170505
公報種別
公開特許公報(A)
公開日
2025-11-19
出願番号
2024075124
出願日
2024-05-07
発明の名称
トランス
出願人
株式会社豊田自動織機
代理人
個人
,
個人
,
個人
,
個人
,
個人
主分類
H01F
38/08 20060101AFI20251112BHJP(基本的電気素子)
要約
【課題】渦電流損を低減可能なトランスを提供すること。
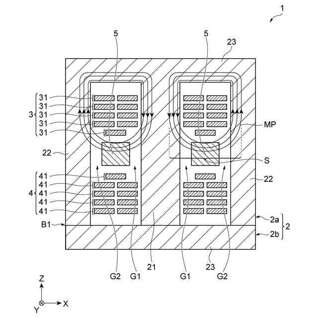
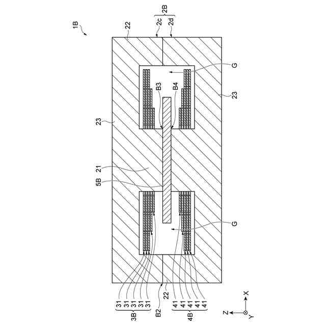
【解決手段】トランス1は、上下方向に延びる中央脚部21及び側脚部22を有するコア2と、中央脚部21に多層に巻き回された一次巻線3と、上下方向において一次巻線3から離れて設けられ、中央脚部21に多層に巻き回された二次巻線4と、コア2とともに漏れ磁束の磁路を形成するパスコア5であって、左右方向に延びるとともに一次巻線3と二次巻線4との間に設けられたパスコア5と、を備え、磁路のうちの、中央脚部21からパスコア5を通って側脚部22に至る区間にはギャップGが形成されており、一次巻線3は、ギャップGに近い層31ほど上下方向から見てギャップGと重なる部分が小さい複数の層31を含み、二次巻線4は、ギャップGに近い層41ほど、上下方向から見てギャップGと重なる部分が小さい複数の層41を含む。
【選択図】図2
特許請求の範囲
【請求項1】
第1方向に延びる中央脚部、及び前記第1方向に延びるとともに前記第1方向と交差する第2方向において前記中央脚部から離れて設けられた側脚部を有するコアと、
前記中央脚部に多層に巻き回された一次巻線と、
前記第1方向において前記一次巻線から離れて設けられ、前記中央脚部に多層に巻き回された二次巻線と、
前記コアとともに漏れ磁束の磁路を形成するパスコアであって、前記第2方向に延びるとともに前記一次巻線と前記二次巻線との間に設けられた前記パスコアと、
を備え、
前記磁路のうちの、前記中央脚部から前記パスコアを通って前記側脚部に至る区間にはギャップが形成されており、
前記一次巻線は、前記ギャップに近い層ほど前記第1方向から見て前記ギャップと重なる部分が小さい複数の一次層を含み、
前記二次巻線は、前記ギャップに近い層ほど、前記第1方向から見て前記ギャップと重なる部分が小さい複数の二次層を含む、トランス。
続きを表示(約 390 文字)
【請求項2】
前記複数の一次層では、前記ギャップに近い層ほど巻数が少なく、
前記複数の二次層では、前記ギャップに近い層ほど巻数が少ない、請求項1に記載のトランス。
【請求項3】
前記ギャップは、互いに離間して前記第2方向に配列された複数のギャップ部分を含む、請求項1又は請求項2に記載のトランス。
【請求項4】
前記複数のギャップ部分は、第1ギャップ部分と第2ギャップ部分とを含み、
前記第1ギャップ部分の前記第2方向における長さは、前記第2ギャップ部分の前記第2方向における長さよりも短く、
前記一次巻線は、前記第1ギャップ部分からよりも前記第2ギャップ部分から離れるように配置され、
前記二次巻線は、前記第1ギャップ部分からよりも前記第2ギャップ部分から離れるように配置されている、請求項3に記載のトランス。
発明の詳細な説明
【技術分野】
【0001】
本開示は、トランスに関する。
続きを表示(約 2,100 文字)
【背景技術】
【0002】
一次巻線と二次巻線との間に設けられた磁束漏洩用のパスコアを備えるトランスが知られている(例えば、特許文献1参照)。特許文献1に記載のトランスでは、互いに向かい合った2つのE形コアの中央脚部から側脚部に向かってパスコアが突出している。
【先行技術文献】
【特許文献】
【0003】
特開昭59-47722号公報
【発明の概要】
【発明が解決しようとする課題】
【0004】
特許文献1に記載のトランスにおいては、パスコアと側脚部との間にギャップが形成される。巻線に電流が流れることによって生じる磁束のうち、漏れ磁束は、中央脚部から、パスコア、ギャップ、及び側脚部を順に通って中央脚部に戻る経路を循環する。磁束は抵抗が最小となる経路を通過するので、漏れ磁束はギャップにおいてはパスコアを延長した部分よりも巻線の近くを通過する。このため、漏れ磁束が巻線と鎖交することによって、渦電流損が生じるおそれがある。
【0005】
本開示は、渦電流損を低減可能なトランスを説明する。
【課題を解決するための手段】
【0006】
本開示の一側面に係るトランスは、第1方向に延びる中央脚部、及び第1方向に延びるとともに第1方向と交差する第2方向において中央脚部から離れて設けられた側脚部を有するコアと、中央脚部に多層に巻き回された一次巻線と、第1方向において一次巻線から離れて設けられ、中央脚部に多層に巻き回された二次巻線と、コアとともに漏れ磁束の磁路を形成するパスコアであって、第2方向に延びるとともに一次巻線と二次巻線との間に設けられたパスコアと、を備える。磁路のうちの、中央脚部からパスコアを通って側脚部に至る区間にはギャップが形成されている。一次巻線は、ギャップに近い層ほど第1方向から見てギャップと重なる部分が小さい複数の一次層を含む。二次巻線は、ギャップに近い層ほど、第1方向から見てギャップと重なる部分が小さい複数の二次層を含む。
【0007】
このトランスにおいては、一次巻線の、ギャップに近い一次層ほど、第1方向から見てギャップと重なる部分が小さく、二次巻線の、ギャップに近い二次層ほど、第1方向から見てギャップと重なる部分が小さい。このため、ギャップにおいてパスコアを延長した部分よりも一次巻線の近くを漏れ磁束が通過したとしても、一次巻線と鎖交する漏れ磁束を減らすことができる。同様に、ギャップにおいてパスコアを延長した部分よりも二次巻線の近くを漏れ磁束が通過したとしても、二次巻線と鎖交する漏れ磁束を減らすことができる。その結果、渦電流損を低減することが可能となる。
【0008】
複数の一次層では、ギャップに近い層ほど巻数が少なくてもよく、複数の二次層では、ギャップに近い層ほど巻数が少なくてもよい。この場合、一次巻線の、ギャップに近い一次層ほど巻数が少ないので、ギャップに近い一次層においてギャップから離れた位置に一次巻線を構成する導電性部材を配置するだけで、第1方向から見てギャップと重なる部分を小さくできる。同様に、二次巻線の、ギャップに近い二次層ほど巻数が少ないので、ギャップに近い二次層においてギャップから離れた位置に二次巻線を構成する導電性部材を配置するだけで、第1方向から見てギャップと重なる部分を小さくできる。
【0009】
ギャップは、互いに離間して第2方向に配列された複数のギャップ部分を含んでもよい。この場合、一次巻線の、ギャップに近い一次層ほど、第1方向から見て複数のギャップ部分と重なる部分が小さく、二次巻線の、ギャップに近い二次層ほど、第1方向から見て複数のギャップ部分と重なる部分が小さい。このため、各ギャップ部分においてパスコアを延長した部分よりも一次巻線の近くを漏れ磁束が通過したとしても、一次巻線と鎖交する漏れ磁束を減らすことができる。同様に、各ギャップ部分においてパスコアを延長した部分よりも二次巻線の近くを漏れ磁束が通過したとしても、二次巻線と鎖交する漏れ磁束を減らすことができる。その結果、渦電流損を低減することが可能となる。
【0010】
複数のギャップ部分は、第1ギャップ部分と第2ギャップ部分とを含んでもよく、第1ギャップ部分の第2方向における長さは、第2ギャップ部分の第2方向における長さよりも短くてもよい。一次巻線は、第1ギャップ部分からよりも第2ギャップ部分から離れるように配置されてもよく、二次巻線は、第1ギャップ部分からよりも第2ギャップ部分から離れるように配置されてもよい。ギャップ部分の第2方向における長さが長いほど、パスコアを延長した部分よりも巻線の近くを通過する漏れ磁束が多くなる。上記構成によれば、一次巻線及び二次巻線は、第1ギャップ部分よりも第2方向における長さが長い第2ギャップ部分から離れるように配置されているので、各巻線と鎖交する漏れ磁束を減らすことができる。その結果、渦電流損を低減することが可能となる。
【発明の効果】
(【0011】以降は省略されています)
特許ウォッチbot のツイートを見る
この特許をJ-PlatPat(特許庁公式サイト)で参照する
関連特許
株式会社豊田自動織機
解繊機
5日前
株式会社豊田自動織機
制御装置
20日前
株式会社豊田自動織機
産業車両
7日前
株式会社豊田自動織機
内燃機関
20日前
株式会社豊田自動織機
蓄電装置
20日前
株式会社豊田自動織機
産業車両
1か月前
株式会社豊田自動織機
電源装置
21日前
株式会社豊田自動織機
トランス
21日前
株式会社豊田自動織機
荷役装置
1か月前
株式会社豊田自動織機
車両用灯具
7日前
株式会社豊田自動織機
車両上部構造
7日前
株式会社豊田自動織機
排気浄化装置
6日前
株式会社豊田自動織機
双方向充電器
1か月前
株式会社豊田自動織機
障害物検出装置
5日前
株式会社豊田自動織機
ターボチャージャ
1か月前
株式会社豊田自動織機
燃料電池システム
14日前
株式会社豊田自動織機
電力供給システム
1か月前
株式会社豊田自動織機
ターボチャージャ
28日前
株式会社豊田自動織機
織機用異常検知装置
1か月前
株式会社豊田自動織機
ディーゼルエンジン
12日前
株式会社豊田自動織機
内燃機関の制御装置
1か月前
株式会社豊田自動織機
繊維機械の検査システム
1か月前
株式会社豊田自動織機
蓄電モジュール製造方法
1日前
株式会社豊田自動織機
車両用熱マネジメントシステム
20日前
トヨタ自動車株式会社
蓄電池
1か月前
株式会社豊田自動織機
繊維構造体、及び繊維強化複合材
1か月前
株式会社豊田自動織機
コア設計装置、及びコア設計方法
7日前
株式会社豊田自動織機
内燃機関の吸気温度制御システム
1か月前
株式会社豊田自動織機
蓄電装置の製造方法及び蓄電装置
12日前
株式会社豊田自動織機
繊維構造体および繊維強化複合材
13日前
株式会社豊田自動織機
制御装置、及び燃料電池モジュール
20日前
株式会社豊田自動織機
多孔質クラスレートシリコンの製造方法
12日前
トヨタ自動車株式会社
蓄電モジュール
1か月前
株式会社豊田自動織機
電子制御装置および電子制御装置の起動方法
7日前
株式会社豊田自動織機
物流システムの物品配置システムおよび倉庫システム
6日前
株式会社豊田自動織機
シリコンクラスレートIIを含む負極活物質の製造方法
20日前
続きを見る
他の特許を見る