TOP
|
特許
|
意匠
|
商標
特許ウォッチ
Twitter
他の特許を見る
公開番号
2025175807
公報種別
公開特許公報(A)
公開日
2025-12-03
出願番号
2024082081
出願日
2024-05-20
発明の名称
車両上部構造
出願人
株式会社豊田自動織機
代理人
個人
,
個人
主分類
B60J
1/02 20060101AFI20251126BHJP(車両一般)
要約
【課題】部品点数を抑えつつも、ルーフパネルとウィンドウガラスとの相対位置が所望の位置に対して大きくずれてしまうことを抑制すること。
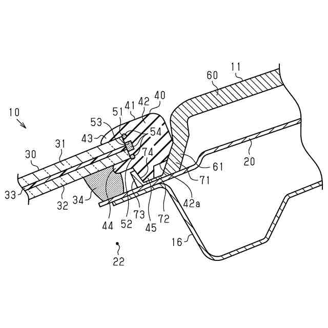
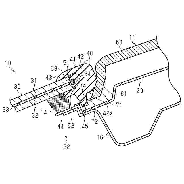
【解決手段】モール40には、係止部45が設けられている。ルーフパネル11におけるウィンドウガラス30側の端部には、係止部45が係止される被係止部74が設けられている。モール40の係止部45がルーフパネル11の被係止部74に係止されているため、ウィンドウガラス30の組み付け基準の対象がルーフパネル11におけるウィンドウガラス30側の端部になっている。したがって、従来技術のように、ルーフパネル11及びウィンドウガラス30それぞれの組み付け基準の対象がヘッダパネル20になることによって、ルーフパネル11とウィンドウガラス30との相対位置が所望の位置に対して大きくずれてしまうといった問題が回避され易くなっている。
【選択図】図3
特許請求の範囲
【請求項1】
車両の屋根部分を形成するルーフパネルと、
運転席の上方に位置しつつ前記ルーフパネルを下方から支持するヘッダパネルと、
前記車両の前方または後方で前記ルーフパネルと隣り合った状態で配置されるウィンドウガラスと、を備えている車両上部構造であって、
前記ウィンドウガラスにおける前記ルーフパネル側の端部に接着剤を介して固定されるとともに前記ルーフパネルと前記ウィンドウガラスとの間の隙間を埋めるモールを備え、
前記モールには、係止部が設けられており、
前記ルーフパネルにおける前記ウィンドウガラス側の端部には、前記係止部が係止される被係止部が設けられていることを特徴とする車両上部構造。
続きを表示(約 280 文字)
【請求項2】
前記モールは、前記ウィンドウガラスの端部を覆うモール本体部を有し、
前記係止部は、前記モール本体部から前記車両の下方に向けて突出する凸部であり、
前記被係止部は、前記凸部が挿入される凹部であることを特徴とする請求項1に記載の車両上部構造。
【請求項3】
前記モールは、前記ウィンドウガラスの端部を覆うモール本体部を有し、
前記係止部は、前記モール本体部から前記車両の下方に向けて突出する柱状のピンであり、
前記被係止部は、前記ピンが挿入される孔であることを特徴とする請求項1に記載の車両上部構造。
発明の詳細な説明
【技術分野】
【0001】
本発明は、車両上部構造に関する。
続きを表示(約 2,000 文字)
【背景技術】
【0002】
車両上部構造は、車両の屋根部分を形成するルーフパネルと、ヘッダパネルと、ウィンドウガラスと、を備えている。ヘッダパネルは、運転席の上方に位置しつつルーフパネルを下方から支持している。ウィンドウガラスは、車両の前方または後方でルーフパネルと隣り合った状態で配置されている。例えば特許文献1では、ルーフパネルは、ルーフパネルにおけるウィンドウガラス側の端部が接着剤を介してヘッダパネルに接着されることにより、ヘッダパネルに固定されている。また、ウィンドウガラスは、ウィンドウガラスにおけるルーフパネル側の端部が接着剤を介してヘッダパネルに接着されることにより、ヘッダパネルに固定されている。
【先行技術文献】
【特許文献】
【0003】
特開2023-90523号公報
【発明の概要】
【発明が解決しようとする課題】
【0004】
ところで、特許文献1のように、ルーフパネル及びウィンドウガラスそれぞれがヘッダパネルに固定されている構成では、ルーフパネル及びウィンドウガラスそれぞれの組み付け基準の対象がヘッダパネルになっている。このような場合、ルーフパネルにおけるヘッダパネルに対する組み付け状態やウィンドウガラスにおけるヘッダパネルに対する組み付け状態によっては、ルーフパネルとウィンドウガラスとの相対位置が所望の位置に対して大きくずれてしまう虞がある。したがって、車両上部構造において、部品点数を抑えつつも、ルーフパネルとウィンドウガラスとの相対位置が所望の位置に対して大きくずれてしまうことを抑制することが望まれている。
【課題を解決するための手段】
【0005】
上記課題を解決する車両上部構造は、車両の屋根部分を形成するルーフパネルと、運転席の上方に位置しつつ前記ルーフパネルを下方から支持するヘッダパネルと、前記車両の前方または後方で前記ルーフパネルと隣り合った状態で配置されるウィンドウガラスと、を備えている車両上部構造であって、前記ウィンドウガラスにおける前記ルーフパネル側の端部に接着剤を介して固定されるとともに前記ルーフパネルと前記ウィンドウガラスとの間の隙間を埋めるモールを備え、前記モールには、係止部が設けられており、前記ルーフパネルにおける前記ウィンドウガラス側の端部には、前記係止部が係止される被係止部が設けられている。
【0006】
これによれば、モールの係止部がルーフパネルの被係止部に係止されているため、ウィンドウガラスの組み付け基準の対象をルーフパネルにおけるウィンドウガラス側の端部にすることができる。したがって、従来技術のように、ルーフパネル及びウィンドウガラスそれぞれの組み付け基準の対象がヘッダパネルになることによって、ルーフパネルとウィンドウガラスとの相対位置が所望の位置に対して大きくずれてしまうといった問題を回避し易くすることができる。ここで、モールは、車両上部構造においては、ルーフパネルとウィンドウガラスとの間の隙間を埋めるために、ウィンドウガラスにおけるルーフパネル側の端部に接着剤を介して固定される既存の部品である。したがって、ルーフパネルとウィンドウガラスとの相対位置が所望の位置に対して大きくずれてしまうことを抑制するために、新たな部品を追加する必要が無い。したがって、部品点数を抑えつつも、ルーフパネルとウィンドウガラスとの相対位置が所望の位置に対して大きくずれてしまうことを抑制することができる。
【0007】
上記車両上部構造において、前記モールは、前記ウィンドウガラスの端部を覆うモール本体部を有し、前記係止部は、前記モール本体部から前記車両の下方に向けて突出する凸部であり、前記被係止部は、前記凸部が挿入される凹部であるとよい。
【0008】
このように、係止部が、モール本体部から車両の下方に向けて突出する凸部であり、被係止部が、凸部が挿入される凹部である構成は、係止部を被係止部に係止させる構成として好適な構成である。
【0009】
上記車両上部構造において、前記モールは、前記ウィンドウガラスの端部を覆うモール本体部を有し、前記係止部は、前記モール本体部から前記車両の下方に向けて突出する柱状のピンであり、前記被係止部は、前記ピンが挿入される孔であるとよい。
【0010】
このように、係止部が、モール本体部から車両の下方に向けて突出する柱状のピンであり、被係止部が、ピンが挿入される孔である構成は、係止部が被係止部に係止される構成として好適な構成である。
【発明の効果】
(【0011】以降は省略されています)
この特許をJ-PlatPat(特許庁公式サイト)で参照する
関連特許
株式会社豊田自動織機
産業車両
29日前
株式会社豊田自動織機
内燃機関
13日前
株式会社豊田自動織機
産業車両
今日
株式会社豊田自動織機
トランス
14日前
株式会社豊田自動織機
電源装置
14日前
株式会社豊田自動織機
操作装置
1か月前
株式会社豊田自動織機
トランス
1か月前
株式会社豊田自動織機
荷役装置
1か月前
株式会社豊田自動織機
制御装置
13日前
株式会社豊田自動織機
蓄電装置
13日前
株式会社豊田自動織機
車両用灯具
今日
株式会社豊田自動織機
電力変換器
1か月前
株式会社豊田自動織機
車両上部構造
今日
株式会社豊田自動織機
双方向充電器
28日前
株式会社豊田自動織機
排気浄化装置
1か月前
株式会社豊田自動織機
双方向充電器
1か月前
株式会社豊田自動織機
車両制御装置
1か月前
株式会社豊田自動織機
燃料電池ユニット
1か月前
株式会社豊田自動織機
ターボチャージャ
1か月前
株式会社豊田自動織機
電磁ブレーキ装置
1か月前
株式会社豊田自動織機
電力供給システム
26日前
株式会社豊田自動織機
燃料電池システム
7日前
株式会社豊田自動織機
ターボチャージャ
21日前
株式会社豊田自動織機
織機用異常検知装置
1か月前
株式会社豊田自動織機
ディーゼルエンジン
5日前
株式会社豊田自動織機
内燃機関の制御装置
27日前
株式会社豊田自動織機
ねじりコイルばね装置
1か月前
株式会社豊田自動織機
内燃機関の制御システム
1か月前
株式会社豊田自動織機
車両のルーフサイド構造
1か月前
株式会社豊田自動織機
繊維機械の検査システム
1か月前
トヨタ自動車株式会社
蓄電池
27日前
株式会社豊田自動織機
車両用熱マネジメントシステム
13日前
株式会社豊田自動織機
内燃機関の吸気温度制御システム
1か月前
株式会社豊田自動織機
繊維構造体、及び繊維強化複合材
1か月前
株式会社豊田自動織機
蓄電装置の製造方法及び蓄電装置
5日前
株式会社豊田自動織機
コア設計装置、及びコア設計方法
今日
続きを見る
他の特許を見る