TOP
|
特許
|
意匠
|
商標
特許ウォッチ
Twitter
他の特許を見る
公開番号
2025166621
公報種別
公開特許公報(A)
公開日
2025-11-06
出願番号
2024070783
出願日
2024-04-24
発明の名称
蓄電モジュール
出願人
トヨタ自動車株式会社
,
株式会社豊田自動織機
代理人
弁理士法人太陽国際特許事務所
主分類
H01M
50/569 20210101AFI20251029BHJP(基本的電気素子)
要約
【課題】集電体と電圧検出端子との接合強度に優れた蓄電モジュールを提供する。
【解決手段】一対の金属箔を含み、前記一対の金属箔の一方の厚みが他方の厚みより厚い集電体と、厚みが他方の厚みより厚い前記一方の金属箔に接合され、電圧を検出するための金属端子と、を備えた蓄電モジュールである。
【選択図】なし
特許請求の範囲
【請求項1】
一対の金属箔を含み、前記一対の金属箔の一方の厚みが他方の厚みより厚い集電体と、
厚みが他方の厚みより厚い前記一方の金属箔に接合され、電圧を検出するための金属端子と、
を備えた蓄電モジュール。
続きを表示(約 500 文字)
【請求項2】
前記集電体が、前記一対の金属箔における対向面の間に配された接着層を含み、
他方の厚みより厚い前記一方の金属箔の硬度が、他方の金属箔の硬度より低い請求項1に記載の蓄電モジュール。
【請求項3】
前記金属端子と、他方の厚みより厚い前記一方の金属箔と、が金属結合により固定化されている請求項1又は請求項2に記載の蓄電モジュール。
【請求項4】
前記金属端子と他方の厚みより厚い前記一方の金属箔との間に融接部又は固相接合部を有することで前記金属結合を有する請求項3に記載の蓄電モジュール。
【請求項5】
前記融接部又は固相接合部の厚みが、1μm以下である請求項4に記載の蓄電モジュール。
【請求項6】
前記集電体、前記集電体の一方の面に配された正極活物質層、及び前記集電体の他方の面に配された負極活物質層を含む少なくとも2つのバイポーラ電極と、
隣り合う前記バイポーラ電極のうち、一方における負極活物質層と他方における正極活物質層との間に配された電解質層と、を備えた請求項1又は請求項2に記載の蓄電モジュール。
発明の詳細な説明
【技術分野】
【0001】
本開示は、蓄電モジュールに関する。
続きを表示(約 1,500 文字)
【背景技術】
【0002】
蓄電モジュールとしては、二次電池に対する需要が拡大しており、様々な形態の二次電池が検討されている。二次電池の一例として、集電体と集電体の一方の面に配された正極と他方の面に配された負極とを有する複数のバイポーラ電極が電解質層を挟んで負極と正極が対向するように積層されたバイポーラ型二次電池が知られている。二次電池では、集電体として、導電性を有する単層の金属層、又は負極集電体と正極集電体とを導電性の接着層を介して接合した接合集電体が使用されている。
【0003】
また、集電体には、電圧を検出するための電圧検出端子が接続される場合がある。例えば特許文献1には、正極集電体及び負極集電体のうちのいずれか一方の集電体と電圧検出端子とを接着する接着層を有する双極型二次電池が開示されている。
【先行技術文献】
【特許文献】
【0004】
特開2020-061221号公報
【発明の概要】
【発明が解決しようとする課題】
【0005】
集電体を通じて電圧を検出する場合、集電体とこれに接続された電圧検出端子との間の接合強度が確保されていることが望まれる。
【0006】
本開示の一実施形態が解決しようとする課題は、集電体と電圧検出端子との接合強度に優れた蓄電モジュールを提供することにある。
【課題を解決するための手段】
【0007】
前記課題を達成するための具体的手段には、以下の態様が含まれる。
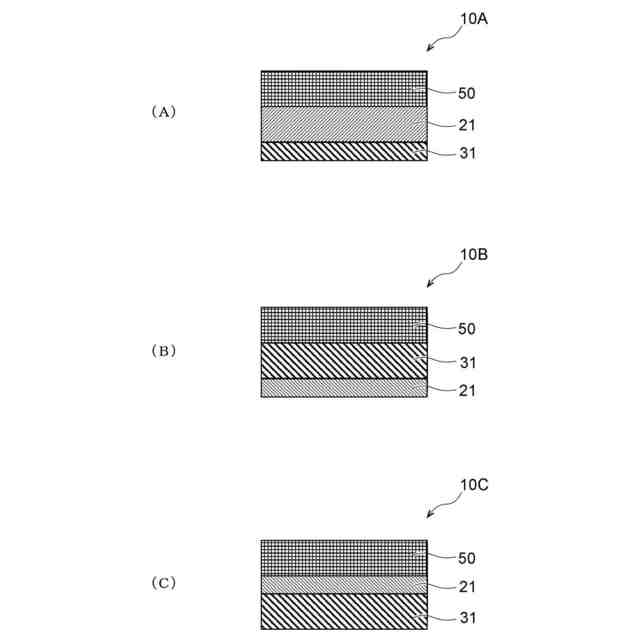
<1> 本開示の一実施形態である蓄電モジュールは、一対の金属箔を含み、前記一対の金属箔の一方の厚みが他方の厚みより厚い集電体と、厚みが他方の厚みより厚い前記一方の金属箔に接合され、電圧を検出するための金属端子と、を備えている。
【0008】
本開示の一実施形態である蓄電モジュールは、集電体として一対の金属箔(好ましくは集電体としての正極箔及び負極箔)を有し、金属箔の一方及び他方は互いに厚みが異なり、一対の金属箔の積層方向における、厚みのより厚い一方の金属箔の側に電圧を検出するための金属端子(以下、電圧検出端子ともいう。)が接合されることで、厚みのより厚い側の「一方の金属箔」に電圧検出端子を備えている。このような構成であることで、例えば融接又は固相接合によって集電体と電圧検出端子とが接合される際、集電体の薄箔/集電体の厚箔/電圧検出端子の順で重ねた状態にすると、融接又は固相接合するための治具(リブ)を薄箔側から集電体内に侵入させて接合界面に近づけた状態で接合を行うことができる。これにより、電圧検出端子を、厚みのより薄い側の「他方の金属箔」と接合する場合に比べ、金属箔の材質に関わらず、集電体と電圧検出端子との接合強度を効果的に向上させることができる。
【0009】
<2> 前記<1>において、集電体が、前記一対の金属箔における対向面の間に配された接着層を含み、一対の金属箔のうち、他方の厚みより厚い前記一方の金属箔の硬度が、他方の金属箔の硬度より低いことが好ましい。
【0010】
一対の金属箔間に接着層を有するとともに、一対の金属箔のうち、電圧検出端子と接続される「一方の金属箔」の硬度が他方の金属箔の硬度よりも低いことで、電圧検出端子と集電体とが柔らかい方の金属箔を介して接合される。一対の金属箔が互いに強固に接続された状態にあり、かつ、集電体と電圧検出端子とが例えば融接又は固相接合によって接続される際、界面での金属の流動性が向上し、これにより電圧検出端子と集電体との間の接合強度がより向上する。
(【0011】以降は省略されています)
特許ウォッチbot のツイートを見る
この特許をJ-PlatPat(特許庁公式サイト)で参照する
関連特許
トヨタ自動車株式会社
方法
15日前
トヨタ自動車株式会社
車両
3日前
トヨタ自動車株式会社
方法
2日前
トヨタ自動車株式会社
車体
2日前
トヨタ自動車株式会社
車両
9日前
トヨタ自動車株式会社
車両
9日前
トヨタ自動車株式会社
治具
10日前
トヨタ自動車株式会社
車両
15日前
トヨタ自動車株式会社
車両
2日前
トヨタ自動車株式会社
車両
2日前
トヨタ自動車株式会社
車両
11日前
トヨタ自動車株式会社
電池
15日前
トヨタ自動車株式会社
電池
3日前
トヨタ自動車株式会社
蓄電池
2日前
トヨタ自動車株式会社
電動機
15日前
トヨタ自動車株式会社
モータ
1日前
トヨタ自動車株式会社
サーバ
12日前
トヨタ自動車株式会社
モータ
12日前
トヨタ自動車株式会社
電動車両
2日前
トヨタ自動車株式会社
鋳造装置
1日前
トヨタ自動車株式会社
通知装置
15日前
トヨタ自動車株式会社
蓄電セル
15日前
トヨタ自動車株式会社
蓄電装置
15日前
トヨタ自動車株式会社
蓄電装置
9日前
トヨタ自動車株式会社
バッテリ
15日前
トヨタ自動車株式会社
蓄電セル
15日前
トヨタ自動車株式会社
蓄電装置
9日前
トヨタ自動車株式会社
樹脂外板
2日前
トヨタ自動車株式会社
蓄電セル
15日前
トヨタ自動車株式会社
濾過装置
3日前
トヨタ自動車株式会社
蓄電装置
10日前
トヨタ自動車株式会社
蓄電装置
9日前
トヨタ自動車株式会社
塗工装置
15日前
トヨタ自動車株式会社
電池装置
11日前
トヨタ自動車株式会社
蓄電装置
12日前
トヨタ自動車株式会社
制御装置
12日前
続きを見る
他の特許を見る