TOP
|
特許
|
意匠
|
商標
特許ウォッチ
Twitter
他の特許を見る
10個以上の画像は省略されています。
公開番号
2025163787
公報種別
公開特許公報(A)
公開日
2025-10-30
出願番号
2024067307
出願日
2024-04-18
発明の名称
蓄電装置
出願人
トヨタ自動車株式会社
代理人
弁理士法人深見特許事務所
主分類
H01M
50/242 20210101AFI20251023BHJP(基本的電気素子)
要約
【課題】上方からの荷重の入力に対する剛性が高い蓄電装置を提供する。
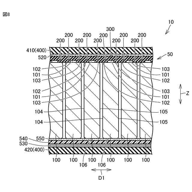
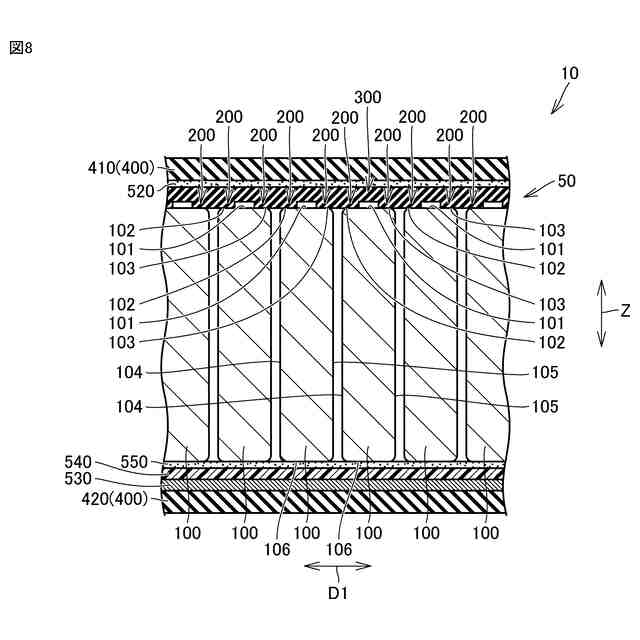
【解決手段】蓄電装置において、複数のセル100は、水平方向に沿う第1方向D1に並んでいる。複数の緩衝部200は、複数のセル100上に配置されている。複数のセル100の各々は、上方を向く上面部101を有している。上面部101は、第1端縁102と、第2端縁103とを有している。第1端縁102は、第1方向D1における一方側の端縁である。第2端縁103は、第1方向D1における他方側の端縁である。第1端縁102および第2端縁103は、水平方向に沿うとともに第1方向D1に直交する第2方向D2に沿って延びている。複数の緩衝部200は、複数のセル100の上面部101上において互いに離隔しつつ、それぞれの複数のセル100の第1端縁102および第2端縁103のうちの少なくとも一方に設けられている。
【選択図】図8
特許請求の範囲
【請求項1】
車両に搭載可能な蓄電装置であって、
水平方向に沿う第1方向に並ぶ複数のセルと、
前記複数のセル上に配置された複数の緩衝部とを備え、
前記複数のセルの各々は、上方を向く上面部を有し、
前記上面部は、前記第1方向における一方側の端縁である第1端縁と、他方側の端縁である第2端縁とを有し、
前記第1端縁および前記第2端縁は、前記水平方向に沿うとともに前記第1方向に直交する第2方向に沿って延びており、
前記複数の緩衝部は、前記複数のセルの前記上面部上において互いに離隔しつつ、それぞれの前記複数のセルの前記第1端縁および前記第2端縁のうちの少なくとも一方に設けられている、蓄電装置。
続きを表示(約 770 文字)
【請求項2】
前記複数の緩衝部は、前記複数のセルの前記上面部上において互いに離隔しつつ、それぞれの前記複数のセルの前記第1端縁および前記第2端縁の両方に設けられている、請求項1に記載の蓄電装置。
【請求項3】
前記複数の緩衝部のうち、互いに異なるセルに設けられ、かつ、前記第1方向で隣り合う緩衝部同士は、連なっている、請求項1に記載の蓄電装置。
【請求項4】
前記複数の緩衝部を覆うように設けられた板状部をさらに備え、
前記複数の緩衝部は、前記板状部と一体的に形成されている、請求項1に記載の蓄電装置。
【請求項5】
前記複数の緩衝部同士の間のうち、前記複数のセルの少なくとも1つの前記上面部上に配置された弾性部材をさらに備える、請求項2に記載の蓄電装置。
【請求項6】
前記複数の緩衝部が設けられた前記複数のセルを収容し、前記車両の車体に固定され得る、パックをさらに備え、
前記複数の緩衝部は、前記パックと一体的に形成されている、請求項1から請求項5のいずれか1項に記載の蓄電装置。
【請求項7】
前記複数のセルのうち互いに隣り合うセル同士の間にそれぞれ配置された、複数のスペーサをさらに備え、
前記複数のスペーサは、前記複数の緩衝部のそれぞれと一体的に形成されている、請求項1から請求項5のいずれか1項に記載の蓄電装置。
【請求項8】
前記複数のセルの各々は、電極体と、該電極体を収容し、セルケースとを含み、
前記複数の緩衝部は、それぞれの前記複数のセルの前記セルケースが外部に向かって凸状に折り曲げられることで前記セルケースと一体的に形成されている、請求項1から請求項5のいずれか1項に記載の蓄電装置。
発明の詳細な説明
【技術分野】
【0001】
本開示は、蓄電装置に関する。
続きを表示(約 1,200 文字)
【背景技術】
【0002】
特開2020-142589号公報(特許文献1)には、フロアパネルの下方側に、電池パックが配設されていることが開示されている。
【先行技術文献】
【特許文献】
【0003】
特開2020-142589号公報
【発明の概要】
【発明が解決しようとする課題】
【0004】
車両に搭載される蓄電装置のエネルギー密度を高めることができる、蓄電装置の構造が検討されている。たとえば、フロアパネルの下方に配置される蓄電装置を可能な限りフロアパネルに近づけることや、蓄電装置自体がフロアパネルの一部を構成することも検討されている。しかしながら、蓄電装置を上記のように設計した場合には、車室内側すなわち上側からの荷重によって、蓄電装置の上方から荷重が入力される可能性がある。
【0005】
本開示は上記の問題点に鑑みてなされたものであり、上方からの荷重の入力に対する剛性が高い蓄電装置を提供することを目的とする。
【課題を解決するための手段】
【0006】
本開示のある局面に従う蓄電装置は、車両に搭載可能である。蓄電装置は、複数のセルと、複数の緩衝部とを備えている。複数のセルは、水平方向に沿う第1方向に並んでいる。複数の緩衝部は、複数のセル上に配置されている。複数のセルの各々は、上方を向く上面部を有している。上面部は、第1端縁と、第2端縁とを有している。第1端縁は、第1方向における一方側の端縁である。第2端縁は、第1方向における他方側の端縁である。第1端縁および第2端縁は、水平方向に沿うとともに第1方向に直交する第2方向に沿って延びている。複数の緩衝部は、複数のセルの上面部上において互いに離隔しつつ、それぞれの複数のセルの第1端縁および第2端縁のうちの少なくとも一方に設けられている。
【0007】
本開示のある局面に従う蓄電装置において、好ましくは、複数の緩衝部が、複数のセルの上面部上において互いに離隔しつつ、それぞれの複数のセルの第1端縁および第2端縁の両方に設けられている。
【0008】
本開示のある局面に従う蓄電装置において、好ましくは、複数の緩衝部のうち、互いに異なるセルに設けられ、かつ、第1方向で隣り合う緩衝部同士は、連なっている。
【0009】
本開示のある局面に従う蓄電装置は、好ましくは、板状部をさらに備えている。板状部は、複数の緩衝部を覆うように設けられている。複数の緩衝部は、板状部と一体的に形成されている。
【0010】
本開示のある局面に従う蓄電装置は、好ましくは、弾性部材をさらに備えている。弾性部材は、複数の緩衝部同士の間において、複数のセルの少なくとも1つの上面部上に配置されている。
(【0011】以降は省略されています)
この特許をJ-PlatPat(特許庁公式サイト)で参照する
関連特許
トヨタ自動車株式会社
車両
7日前
トヨタ自動車株式会社
電動車
7日前
トヨタ自動車株式会社
蓄電装置
今日
トヨタ自動車株式会社
制御装置
7日前
トヨタ自動車株式会社
判定装置
7日前
トヨタ自動車株式会社
蓄電装置
今日
トヨタ自動車株式会社
正極活物質
1日前
トヨタ自動車株式会社
熱利用回路
1日前
トヨタ自動車株式会社
正極活物質
1日前
トヨタ自動車株式会社
情報処理方法
1日前
トヨタ自動車株式会社
通信システム
今日
トヨタ自動車株式会社
駐車支援装置
1日前
トヨタ自動車株式会社
情報処理装置
今日
トヨタ自動車株式会社
情報処理装置
1日前
トヨタ自動車株式会社
充電システム
今日
トヨタ自動車株式会社
巻線界磁型モータ
7日前
トヨタ自動車株式会社
燃料噴射制御装置
1日前
トヨタ自動車株式会社
車両スイッチ装置
7日前
トヨタ自動車株式会社
巻線界磁型モータ
7日前
トヨタ自動車株式会社
車両用ワイパ装置
今日
トヨタ自動車株式会社
内燃機関の制御装置
7日前
トヨタ自動車株式会社
過給機冷却システム
7日前
トヨタ自動車株式会社
充電量予測システム
今日
トヨタ自動車株式会社
車両の空力特性制御装置
7日前
トヨタ自動車株式会社
負極および負極の製造方法
1日前
トヨタ自動車株式会社
蓄電モジュールおよび蓄電装置
1日前
トヨタ自動車株式会社
ユーザインターフェースの電力消費の削減
7日前
トヨタ自動車株式会社
端末装置、感情推定方法、及びプログラム
7日前
トヨタ自動車株式会社
情報処理装置、情報処理方法、および、プログラム
今日
トヨタ自動車株式会社
情報処理装置、情報処理方法、および、プログラム
今日
株式会社デンソー
MOSトランジスタの製造方法
1日前
トヨタ自動車株式会社
電池
7日前
株式会社デンソー
炭化珪素単結晶製造方法および炭化珪素単結晶製造装置
今日
他の特許を見る