TOP
|
特許
|
意匠
|
商標
特許ウォッチ
Twitter
他の特許を見る
公開番号
2025172381
公報種別
公開特許公報(A)
公開日
2025-11-26
出願番号
2024077866
出願日
2024-05-13
発明の名称
蓄電モジュールおよび蓄電装置
出願人
トヨタ自動車株式会社
代理人
弁理士法人深見特許事務所
主分類
H01M
50/505 20210101AFI20251118BHJP(基本的電気素子)
要約
【課題】蓄電モジュールの収納効率の改善。
【解決手段】蓄電モジュールは、複数のセル、および、バスバーを含む。複数のセルの各々は、角形ケース、電極端子、および、発電要素を含む。角形ケースの外面は、長方形状の幅広面、および、側面を含む。側面は、幅広面の長辺方向と交差している。側面は、長辺方向の端部において、幅広面に接続している。隣接するセル同士の間において、互いの幅広面同士が対向するように、複数のセルが積層されている。電極端子は、幅広面の長辺方向に沿って、側面から角形ケースの外部に突出している。電極端子は、上端部および下端部を含む。下端部は、角形ケースの内部に位置している。上端部は、角形ケースの外部に位置している。長辺方向において、電極端子の上端部と、角形ケースの側面との間の位置において、バスバーが電極端子に接続されている。
【選択図】図5
特許請求の範囲
【請求項1】
複数のセル、および、バスバーを含み、
複数の前記セルの各々は、角形ケース、電極端子、および、発電要素を含み、
前記角形ケースは、六面体状であり、
前記角形ケースの外面は、長方形状の幅広面、および、側面を含み、
前記側面は、前記幅広面の長辺方向と交差しており、
前記側面は、前記長辺方向の端部において、前記幅広面に接続しており、
前記角形ケースは、前記発電要素を収納しており、
隣接する前記セル同士の間において、互いの前記幅広面同士が対向するように、前記複数のセルが積層されており、
前記電極端子は、前記幅広面の前記長辺方向に沿って、前記側面から前記角形ケースの外部に突出しており、
前記電極端子は、上端部および下端部を含み、
前記下端部は、前記角形ケースの内部に位置しており、
前記上端部は、前記角形ケースの外部に位置しており、
前記バスバーは、隣接する前記セル同士の間において、前記電極端子同士を接続しており、かつ、
前記長辺方向において、前記電極端子の前記上端部と、前記角形ケースの前記側面との間の位置において、前記バスバーが前記電極端子に接続されている、
蓄電モジュール。
続きを表示(約 830 文字)
【請求項2】
前記電極端子は、小径部を有し、
前記小径部は、前記上端部に比して、小さい径を有し、
前記長辺方向において、前記小径部は、前記上端部と前記側面との間の位置に配置されており、かつ、
前記小径部に、前記バスバーが嵌合している、
請求項1に記載の蓄電モジュール。
【請求項3】
前記電極端子の前記上端部は、前記電極端子の径方向において、前記小径部よりも外側に延びるフランジ部を有し、かつ、
前記フランジ部が前記バスバーに溶接されている、
請求項2に記載の蓄電モジュール。
【請求項4】
前記電極端子は、第1部材および第2部材を含み、
前記第1部材は、凹形の蓋状であり、かつ、
前記第1部材は、前記第2部材に嵌合している、
請求項1または請求項2に記載の蓄電モジュール。
【請求項5】
前記電極端子は、第1部材および第2部材を含み、かつ、
螺子機構により、前記第1部材が前記第2部材に接合されている、
請求項1または請求項2に記載の蓄電モジュール。
【請求項6】
環状部材をさらに含み、
前記環状部材は、電気絶縁性を有し、
前記環状部材に前記電極端子が挿し通されており、かつ、
前記電極端子の前記上端部と、前記環状部材との間に、前記バスバーが接続されている、
請求項1または請求項2に記載の蓄電モジュール。
【請求項7】
請求項1または請求項2に記載の蓄電モジュール、筐体、および、絶縁部材を含み、
前記筐体は、前記蓄電モジュールおよび前記絶縁部材を収納しており、
前記電極端子の前記上端部が、前記筐体の内面と対向しており、かつ、
前記上端部と、前記内面との間に、前記絶縁部材が配置されている、
蓄電装置。
発明の詳細な説明
【技術分野】
【0001】
本開示は、蓄電モジュールおよび蓄電装置に関する。
続きを表示(約 1,400 文字)
【背景技術】
【0002】
特開2018-106800号公報は、複数のセルが積層されることにより形成された、蓄電モジュールを開示する。
【先行技術文献】
【特許文献】
【0003】
特開2018-106800号公報
【発明の概要】
【発明が解決しようとする課題】
【0004】
蓄電装置(「電池パック」とも称される。)は、筐体および蓄電モジュールを含む。筐体は、蓄電モジュールを収納している。蓄電モジュールは、複数のセルおよびバスバーを含み得る。バスバーは、2以上のセルの間において、電極端子同士を接続する。従来、バスバーは、電極端子の上端部を覆うように接続される。すなわち、バスバーは、セルケースに対して電極端子よりも外側に突出している。外側に突出するバスバーにより、筐体内における蓄電モジュールの収納効率が低下する可能性がある。とりわけ、セルケースが幅広面を有する角形ケースであり、かつ電極端子が幅広面の長辺方向に突出する場合、筐体内における蓄電モジュールの収納効率が顕著に低下する可能性がある。
【0005】
本開示の目的は、蓄電モジュールの収納効率の改善にある。
【課題を解決するための手段】
【0006】
以下、本開示の技術的構成および作用効果が説明される。ただし作用メカニズムは推定を含む。作用メカニズムは、本開示の技術的範囲を限定しない。
【0007】
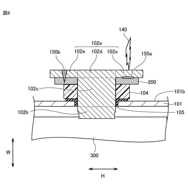
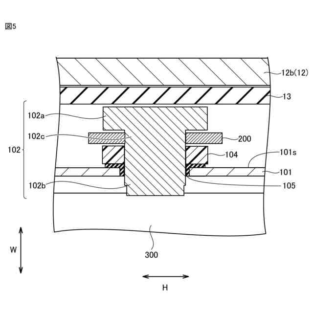
1.蓄電モジュールは、複数のセル、および、バスバーを含む。複数のセルの各々は、角形ケース、電極端子、および、発電要素を含む。角形ケースは、六面体状である。角形ケースの外面は、長方形状の幅広面、および、側面を含む。側面は、幅広面の長辺方向と交差している。側面は、長辺方向の端部において、幅広面に接続している。角形ケースは、発電要素を収納している。隣接するセル同士の間において、互いの幅広面同士が対向するように、複数のセルが積層されている。電極端子は、幅広面の長辺方向に沿って、側面から角形ケースの外部に突出している。電極端子は、上端部および下端部を含む。下端部は、角形ケースの内部に位置している。上端部は、角形ケースの外部に位置している。バスバーは、隣接するセル同士の間において、電極端子同士を接続している。長辺方向において、電極端子の上端部と、角形ケースの側面との間の位置において、バスバーが電極端子に接続されている。
【0008】
上記「1」の蓄電モジュールにおいては、幅広面の長辺方向(幅方向)において、バスバーが電極端子よりも外側に突出していない。よって、蓄電モジュールの収納効率が改善することが期待される。
【0009】
2.上記「1」に記載の蓄電モジュールは、例えば、次の構成を含んでいてもよい。電極端子は、小径部を有する。小径部は、上端部に比して、小さい径を有する。長辺方向において、小径部は、上端部と側面との間の位置に配置されている。小径部に、バスバーが嵌合している。
【0010】
電極端子の小径部にバスバーが嵌合することにより、例えば、電極端子とバスバーとの接続が安定することが期待される。
(【0011】以降は省略されています)
この特許をJ-PlatPat(特許庁公式サイト)で参照する
関連特許
東ソー株式会社
絶縁電線
1か月前
APB株式会社
蓄電セル
1か月前
個人
フレキシブル電気化学素子
1か月前
株式会社ユーシン
操作装置
1か月前
ローム株式会社
半導体装置
1か月前
ローム株式会社
半導体装置
1か月前
日新イオン機器株式会社
イオン源
1か月前
マクセル株式会社
電源装置
1か月前
株式会社東芝
端子台
1か月前
株式会社GSユアサ
蓄電装置
1か月前
株式会社GSユアサ
蓄電装置
1か月前
株式会社GSユアサ
蓄電装置
23日前
株式会社ホロン
冷陰極電子源
1か月前
株式会社GSユアサ
蓄電装置
9日前
株式会社GSユアサ
蓄電設備
1か月前
株式会社GSユアサ
蓄電設備
1か月前
オムロン株式会社
電磁継電器
1か月前
三菱電機株式会社
回路遮断器
17日前
富士電機株式会社
電磁接触器
9日前
太陽誘電株式会社
コイル部品
1か月前
日本特殊陶業株式会社
保持装置
22日前
ホシデン株式会社
複合コネクタ
3日前
大電株式会社
電線又はケーブル
1日前
トヨタ自動車株式会社
蓄電装置
1か月前
サクサ株式会社
電池の固定構造
1か月前
日東電工株式会社
積層体
1か月前
トヨタ自動車株式会社
冷却構造
1か月前
ノリタケ株式会社
熱伝導シート
1か月前
トヨタ自動車株式会社
蓄電装置
1か月前
トヨタ自動車株式会社
バッテリ
1か月前
トヨタ自動車株式会社
蓄電装置
1日前
日本特殊陶業株式会社
保持装置
1か月前
日新イオン機器株式会社
基板処理装置
1か月前
トヨタ自動車株式会社
バッテリ
1か月前
北道電設株式会社
配電具カバー
1か月前
東レエンジニアリング株式会社
実装装置
1か月前
続きを見る
他の特許を見る