TOP
|
特許
|
意匠
|
商標
特許ウォッチ
Twitter
他の特許を見る
公開番号
2025171816
公報種別
公開特許公報(A)
公開日
2025-11-20
出願番号
2024077516
出願日
2024-05-10
発明の名称
巻線界磁型モータ
出願人
トヨタ自動車株式会社
代理人
弁理士法人酒井国際特許事務所
主分類
H02K
1/32 20060101AFI20251113BHJP(電力の発電,変換,配電)
要約
【課題】界磁巻線の冷却効率を向上させることができる巻線界磁型モータを提供すること。
【解決手段】ロータ突極に界磁巻線が巻き回されたロータと、界磁巻線をロータに固定させる固定部と、を備えた巻線界磁型モータであって、固定部は、軸方向に貫通する複数の貫通孔を有し、複数の貫通孔は、ロータの軸方向一方側から供給された冷媒を軸方向一方側の開口部から軸方向他方側の開口部へと流通させる第1冷媒経路と、ロータの軸方向他方側から供給された冷媒を軸方向他方側の開口部から軸方向一方側の開口部へと流通させる第2冷媒経路とを含む。
【選択図】図2
特許請求の範囲
【請求項1】
ロータ突極に界磁巻線が巻き回されたロータと、
前記界磁巻線を前記ロータに固定させる固定部と、
を備えた巻線界磁型モータであって、
前記固定部は、軸方向に貫通する複数の貫通孔を有し、
前記複数の貫通孔は、
前記ロータの軸方向一方側から供給された冷媒を前記軸方向一方側の開口部から軸方向他方側の開口部へと流通させる第1冷媒経路と、
前記ロータの軸方向他方側から供給された冷媒を前記軸方向他方側の開口部から軸方向一方側の開口部へと流通させる第2冷媒経路とを含む
ことを特徴とする巻線界磁型モータ。
発明の詳細な説明
【技術分野】
【0001】
本発明は、巻線界磁型モータに関する。
続きを表示(約 1,300 文字)
【背景技術】
【0002】
特許文献1には、ロータのロータ突極に界磁巻線が巻き回された巻線界磁型モータについて、ロータのスロット内で径方向外側に突出する突起部と、突起部の内部を軸方向に貫通する冷媒流路とを備えることが開示されている。
【先行技術文献】
【特許文献】
【0003】
特開2008-178211号公報
【発明の概要】
【発明が解決しようとする課題】
【0004】
特許文献1に記載の構成では、突起部の冷媒流路内を冷媒が軸方向に流通することによって、界磁巻線と冷媒とが熱交換して界磁巻線を冷却することができる。しかしながら、冷媒流路の出口から流出される冷媒は界磁巻線の熱を受け取り温度上昇した高温状態の冷媒である。そのため、冷媒流路の出口から流出した冷媒を用いて、冷媒流路の出口側に位置する界磁巻線のコイルエンド部を冷却しても冷却効果が十分でない可能性がある。
【0005】
本発明は、上記事情に鑑みてなされたものであって、界磁巻線の冷却効率を向上させることができる巻線界磁型モータを提供することを目的とする。
【課題を解決するための手段】
【0006】
本発明は、ロータ突極に界磁巻線が巻き回されたロータと、前記界磁巻線を前記ロータに固定させる固定部と、を備えた巻線界磁型モータであって、前記固定部は、軸方向に貫通する複数の貫通孔を有し、前記複数の貫通孔は、前記ロータの軸方向一方側から供給された冷媒を前記軸方向一方側の開口部から軸方向他方側の開口部へと流通させる第1冷媒経路と、前記ロータの軸方向他方側から供給された冷媒を前記軸方向他方側の開口部から軸方向一方側の開口部へと流通させる第2冷媒経路とを含むことを特徴とする。
【発明の効果】
【0007】
本発明では、ロータの軸方向両側から冷媒を供給することにより、第1冷媒経路と第2冷媒経路とを含む二つの冷媒経路を通じて軸方向の双方向へと同時に冷媒を流通させることができる。これにより、界磁巻線の冷却効率を向上させることができる。
【図面の簡単な説明】
【0008】
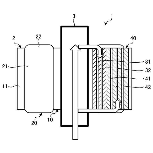
図1は、実施形態における巻線界磁型モータを模式的に示す図である。
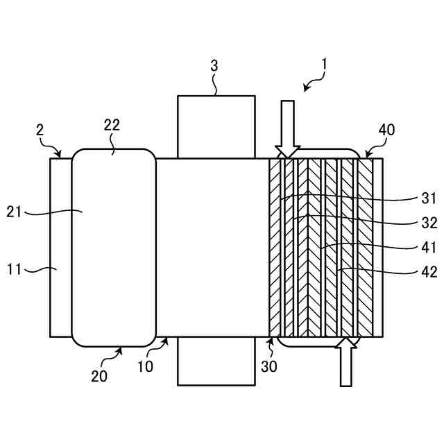
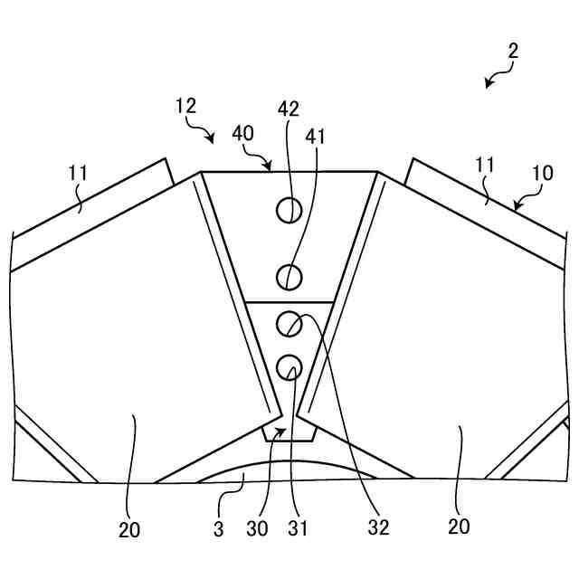
図2は、樹脂部材と固定部材とを説明するための図である。
図3は、二経路の冷媒経路を説明するための図である。
図4は、軸方向両側に冷媒が噴射された場合に二経路の冷媒経路を冷媒が双方向に流通することを説明するための図である。
図5は、ロータ軸の冷媒流路から軸方向両側に冷媒が供給された場合に二経路の冷媒経路を冷媒が流通することを説明するための図である。
【0009】
以下、本発明の実施形態における巻線界磁型モータについて具体的に説明する。なお、本発明は、以下に説明する実施形態に限定されるものではない。
【0010】
図1は、実施形態における巻線界磁型モータを模式的に示す図である。巻線界磁型モータ1は、ロータ2と、ステータとを備える。
(【0011】以降は省略されています)
この特許をJ-PlatPat(特許庁公式サイト)で参照する
関連特許
トヨタ自動車株式会社
方法
14日前
トヨタ自動車株式会社
電池
27日前
トヨタ自動車株式会社
車両
23日前
トヨタ自動車株式会社
車両
21日前
トヨタ自動車株式会社
車両
27日前
トヨタ自動車株式会社
車両
21日前
トヨタ自動車株式会社
方法
27日前
トヨタ自動車株式会社
車両
14日前
トヨタ自動車株式会社
車両
1日前
トヨタ自動車株式会社
治具
22日前
トヨタ自動車株式会社
電池
15日前
トヨタ自動車株式会社
電池
6日前
トヨタ自動車株式会社
方法
28日前
トヨタ自動車株式会社
方法
28日前
トヨタ自動車株式会社
車体
14日前
トヨタ自動車株式会社
配管
1日前
トヨタ自動車株式会社
車両
14日前
トヨタ自動車株式会社
車両
今日
トヨタ自動車株式会社
車両
15日前
トヨタ自動車株式会社
電池
今日
トヨタ自動車株式会社
電動車
今日
トヨタ自動車株式会社
サーバ
24日前
トヨタ自動車株式会社
電動車
1日前
トヨタ自動車株式会社
正極層
27日前
トヨタ自動車株式会社
モータ
24日前
トヨタ自動車株式会社
蓄電池
14日前
トヨタ自動車株式会社
ロータ
1日前
トヨタ自動車株式会社
モータ
13日前
トヨタ自動車株式会社
電動機
27日前
トヨタ自動車株式会社
塗工装置
27日前
トヨタ自動車株式会社
コネクタ
28日前
トヨタ自動車株式会社
エンジン
1日前
トヨタ自動車株式会社
制御装置
13日前
トヨタ自動車株式会社
蓄電セル
27日前
トヨタ自動車株式会社
蓄電セル
27日前
トヨタ自動車株式会社
制御装置
1日前
続きを見る
他の特許を見る