TOP
|
特許
|
意匠
|
商標
特許ウォッチ
Twitter
他の特許を見る
公開番号
2025161442
公報種別
公開特許公報(A)
公開日
2025-10-24
出願番号
2024064622
出願日
2024-04-12
発明の名称
蓄電セル
出願人
トヨタ自動車株式会社
,
トヨタバッテリー株式会社
代理人
弁理士法人深見特許事務所
主分類
H01M
50/291 20210101AFI20251017BHJP(基本的電気素子)
要約
【課題】集電端子同士の重なり部の剥離を抑制することが可能な蓄電セルを提供すること。
【解決手段】蓄電セル1は、一対のセルユニット101,102と、中間部材500と、セルケースと、を備える。各セルユニットは、少なくとも1つの電極体110と、ラミネート外装体160と、集電端子140と、を有する。一対のセルユニットは、直交方向に並ぶように配置されている。一方のセルユニット101の集電端子及び他方のセルユニット102の集電端子は、互いに重なり合った重なり部を含む。中間部材500は、重なり部を積層方向に挟む位置に配置されており、直交方向に延びる一対の腕部510を有する。直交方向における各腕部510の長さL1は、一方のセルユニットにおける対向面及び他方のセルユニットにおける対向面間の距離L2の9割以上である。
【選択図】図2
特許請求の範囲
【請求項1】
互いに接続された一対のセルユニットと、
前記一対のセルユニット間に配置された中間部材と、
前記一対のセルユニット及び前記中間部材を収容するセルケースと、を備え、
各前記セルユニットは、
少なくとも1つの電極体と、
前記少なくとも1つの電極体を収容するラミネート外装体と、
前記少なくとも1つの電極体に接続されており、前記電極体の積層方向と直交する直交方向に前記ラミネート外装体から突出する集電端子と、を有し、
前記一対のセルユニットは、前記直交方向に並ぶように配置されており、
前記一対のセルユニットの一方のセルユニットにおける前記集電端子は、前記一対のセルユニットの他方のセルユニットにおける前記集電端子と接続されており、
前記一方のセルユニットの前記集電端子及び前記他方のセルユニットの前記集電端子は、互いに重なり合った重なり部を含み、
前記一方のセルユニットにおける前記ラミネート外装体及び前記他方のセルユニットにおける前記ラミネート外装体は、前記直交方向に互いに対向する対向面を含み、
前記中間部材は、前記重なり部を前記積層方向に挟む位置に配置されており、前記直交方向に延びる一対の腕部を有し、
前記直交方向における各前記腕部の長さは、前記一方のセルユニットにおける前記対向面及び前記他方のセルユニットにおける前記対向面間の距離の9割以上である、蓄電セル。
続きを表示(約 800 文字)
【請求項2】
前記中間部材は、前記一対の腕部同士を連結する連結部をさらに有する、請求項1に記載の蓄電セル。
【請求項3】
前記中間部材は、前記一対の腕部につながっており、前記積層方向に各前記セルユニットを挟持する挟持部をさらに有する、請求項2記載の蓄電セル。
【請求項4】
前記挟持部は、
前記直交方向における各前記腕部の端部から前記積層方向において前記集電端子から離間する向きに延びる形状を有し、前記対向面と対向する一対の対向部と、
前記積層方向における各前記対向部の外端部につながっており、各前記ラミネート外装体を挟持する一対の挟持片と、を有する、請求項3に記載の蓄電セル。
【請求項5】
前記少なくとも1つの電極体は、前記積層方向に互いに隣接するするように配置された一対の電極体を含み、
前記一対の電極体の各々は、
活物質層を含む塗工部と、
前記直交方向における前記塗工部の外側に形成された電極タブと、を含み、
各前記セルユニットは、
絶縁材料からなり、前記積層方向に互いに隣接する一対の電極タブ間に配置されたスペーサと、
前記直交方向における前記スペーサの外側面に接続されており、各前記電極タブに接続された端子部材と、をさらに有し、
前記集電端子は、
前記直交方向における前記端子部材の外側面に接続された接続部と、
前記接続部から前記直交方向における外向きに延びており、前記ラミネート外装体から突出する突出部と、を有し、
前記一方のセルユニットの前記突出部及び前記他方のセルユニットの前記突出部は、前記重なり部を含み、
前記ラミネート外装体の前記対向面は、前記接続部に接している、請求項1から4のいずれかに記載の蓄電セル。
発明の詳細な説明
【技術分野】
【0001】
本開示は、蓄電セルに関する。
続きを表示(約 1,600 文字)
【背景技術】
【0002】
例えば、特開2022-50804号公報には、互いに接続された複数の電極体と、複数の電極体を収容する外装体と、を備える二次電池が開示されている。外装体は、直方体形に形成されている。各電極体は、外装体の長手方向と平行な方向における外向きに突出する正極タブ及び負極タブを有している。
【先行技術文献】
【特許文献】
【0003】
特開2022-50804号公報
【発明の概要】
【発明が解決しようとする課題】
【0004】
特開2022-50804号公報に記載される二次電池では、振動等に起因して外装体に対して電極体が相対変位すると、互いに接続されたタブの接続部分に応力が生じ、当該接続部分が剥離する懸念がある。
【0005】
本開示の目的は、集電端子同士の重なり部の剥離を抑制することが可能な蓄電セルを提供することである。
【課題を解決するための手段】
【0006】
本開示の一局面に従った蓄電セルは、互いに接続された一対のセルユニットと、前記一対のセルユニット間に配置された中間部材と、前記一対のセルユニット及び前記中間部材を収容するセルケースと、を備え、各前記セルユニットは、少なくとも1つの電極体と、前記少なくとも1つの電極体を収容するラミネート外装体と、前記少なくとも1つの電極体に接続されており、前記電極体の積層方向と直交する直交方向に前記ラミネート外装体から突出する集電端子と、を有し、前記一対のセルユニットは、前記直交方向に並ぶように配置されており、前記一対のセルユニットの一方のセルユニットにおける前記集電端子は、前記一対のセルユニットの他方のセルユニットにおける前記集電端子と接続されており、前記一方のセルユニットの前記集電端子及び前記他方のセルユニットの前記集電端子は、互いに重なり合った重なり部を含み、前記一方のセルユニットにおける前記ラミネート外装体及び前記他方のセルユニットにおける前記ラミネート外装体は、前記直交方向に互いに対向する対向面を含み、前記中間部材は、前記重なり部を前記積層方向に挟む位置に配置されており、前記直交方向に延びる一対の腕部を有し、前記直交方向における各前記腕部の長さは、前記一方のセルユニットにおける前記対向面及び前記他方のセルユニットにおける前記対向面間の距離の9割以上である。
【発明の効果】
【0007】
本開示によれば、集電端子同士の重なり部の剥離を抑制することが可能な蓄電セルを提供することができる。
【図面の簡単な説明】
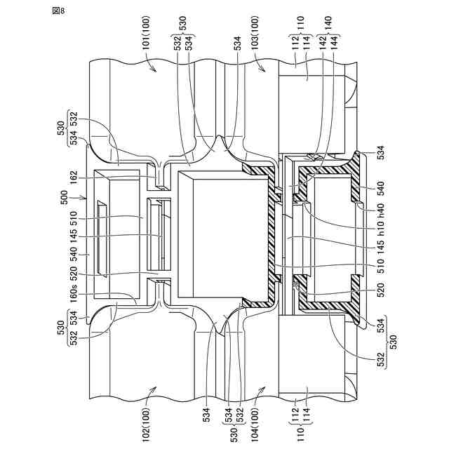
【0008】
本開示の一実施形態における蓄電セルを概略的に示す斜視図である。
図1に示される蓄電セルの分解斜視図である。
第1セルユニットの分解斜視図である。
蓄電セルの正面図である。
図4におけるV-V線での断面図である。
ラミネート外装体及び腕部の近傍の拡大図である。
図4におけるVII-VII線での断面図である。
中間部材の近傍を概略的に示す斜視図である。
中間部材の変形例を概略的に示す断面図である。
【発明を実施するための形態】
【0009】
本開示の実施形態について、図面を参照して説明する。なお、以下で参照する図面では、同一又はそれに相当する部材には、同じ番号が付されている。
【0010】
図1は、本開示の一実施形態における蓄電セルを概略的に示す斜視図である。図2は、図1に示される蓄電セルの分解斜視図である。図3は、第1セルユニットの分解斜視図である。図4は、蓄電セルの正面図である。図5は、図4におけるV-V線での断面図である。図6は、図4におけるVI-VI線での断面図である。この蓄電セル1は、例えば、車両の底部に搭載される。
(【0011】以降は省略されています)
この特許をJ-PlatPat(特許庁公式サイト)で参照する
関連特許
トヨタ自動車株式会社
車体
28日前
トヨタ自動車株式会社
車両
25日前
トヨタ自動車株式会社
車両
27日前
トヨタ自動車株式会社
治具
20日前
トヨタ自動車株式会社
車両
26日前
トヨタ自動車株式会社
方法
26日前
トヨタ自動車株式会社
方法
26日前
トヨタ自動車株式会社
車両
21日前
トヨタ自動車株式会社
車両
13日前
トヨタ自動車株式会社
電池
4日前
トヨタ自動車株式会社
方法
25日前
トヨタ自動車株式会社
電池
13日前
トヨタ自動車株式会社
電池
25日前
トヨタ自動車株式会社
方法
12日前
トヨタ自動車株式会社
車両
12日前
トヨタ自動車株式会社
車体
12日前
トヨタ自動車株式会社
方法
27日前
トヨタ自動車株式会社
車両
12日前
トヨタ自動車株式会社
車両
19日前
トヨタ自動車株式会社
車両
19日前
トヨタ自動車株式会社
正極層
25日前
トヨタ自動車株式会社
モータ
27日前
トヨタ自動車株式会社
モータ
11日前
トヨタ自動車株式会社
モータ
22日前
トヨタ自動車株式会社
電動機
25日前
トヨタ自動車株式会社
蓄電池
12日前
トヨタ自動車株式会社
サーバ
22日前
トヨタ自動車株式会社
自動車
26日前
トヨタ自動車株式会社
推定装置
11日前
トヨタ自動車株式会社
蓄電装置
22日前
トヨタ自動車株式会社
制御装置
11日前
トヨタ自動車株式会社
路側装置
11日前
トヨタ自動車株式会社
制御装置
22日前
トヨタ自動車株式会社
路側装置
11日前
トヨタ自動車株式会社
電動車両
11日前
トヨタ自動車株式会社
電動車両
11日前
続きを見る
他の特許を見る