TOP
|
特許
|
意匠
|
商標
特許ウォッチ
Twitter
他の特許を見る
公開番号
2025173260
公報種別
公開特許公報(A)
公開日
2025-11-27
出願番号
2024078759
出願日
2024-05-14
発明の名称
炭化珪素単結晶製造方法および炭化珪素単結晶製造装置
出願人
株式会社デンソー
,
トヨタ自動車株式会社
,
株式会社ミライズテクノロジーズ
代理人
弁理士法人ゆうあい特許事務所
主分類
C30B
29/36 20060101AFI20251119BHJP(結晶成長)
要約
【課題】SiC単結晶の成長表面の形状を良好にできるようにする。
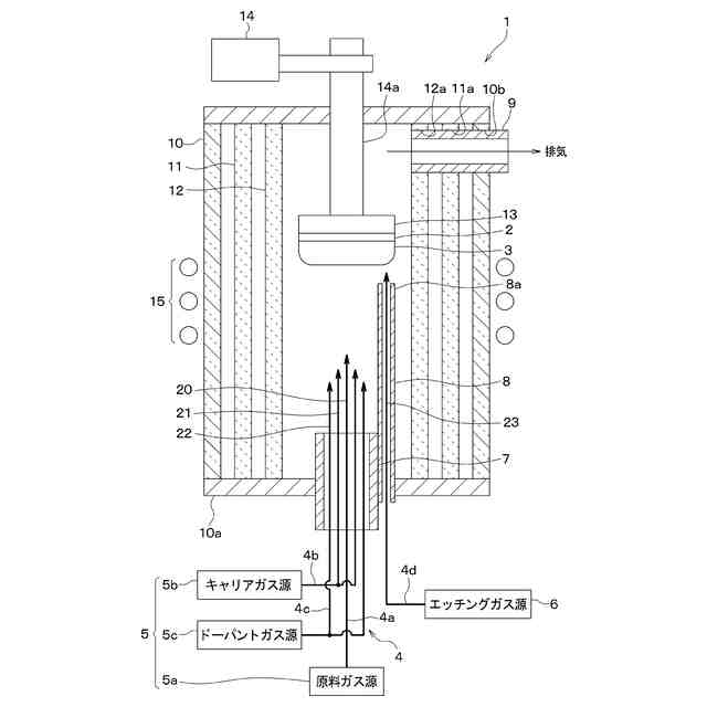
【解決手段】SiCの原料ガス20を供給してSiC単結晶3を種結晶2上に成長させるガス供給法によるSiC単結晶製造方法において、台座13に種結晶2を配置したのち、種結晶2の下方に配置された第1ガス導入口7を通じて、加熱容器12内に原料ガス20を導入する。そして、加熱容器12を2000℃以上に加熱して原料ガス20を加熱分解し、種結晶2に供給することでSiC単結晶3を成長させる。さらに、加熱容器12を2000℃以上に加熱しつつ、第1ガス導入口7よりも台座13側に突き出したガス吹出口8aを有する第2ガス導入口8より、SiC単結晶3の成長表面に対してエッチングガス23を吹き付けて、成長表面の高低差を低減する局所的なエッチングを行う。
【選択図】図1
特許請求の範囲
【請求項1】
炭化珪素の原料ガス(20)を供給して炭化珪素単結晶(3)を種結晶(2)上に成長させるガス供給法による炭化珪素単結晶製造方法であって、
前記炭化珪素単結晶の成長空間を構成する中空状の加熱容器(12)内に配置される台座(13)に前記種結晶(2)を配置することと、
前記種結晶の下方に配置された第1ガス導入口(7)を通じて、前記加熱容器内に前記原料ガスを導入することと、
前記加熱容器を2000℃以上に加熱して前記原料ガスを加熱分解し、前記種結晶に供給することで前記炭化珪素単結晶を成長させることと、
前記第1ガス導入口よりも前記台座側に突き出したガス吹出口(8a)を有する第2ガス導入口(8)を備え、前記加熱容器を2000℃以上に加熱しつつ、前記第1ガス導入口からエッチングガスとしても機能するキャリアガス(21)を導入することと、前記第2ガス導入口より、前記炭化珪素単結晶の成長表面に対してエッチングガス(23)を吹き付けて、前記成長表面の高低差を低減する局所的なエッチングを行うこと、との少なくとも一方を行うことと、を含んでいる炭化珪素単結晶製造方法。
続きを表示(約 1,200 文字)
【請求項2】
前記エッチングを行うことでは、前記エッチングガスとしてH
2
を前記成長表面に局所的に吹き付ける、請求項1に記載の炭化珪素単結晶製造方法。
【請求項3】
前記エッチングを行うことでは、前記原料ガスを導入することにおける前記原料ガスの導入を停止した状態で前記エッチングガスの導入を行う、請求項1または2に記載の炭化珪素単結晶製造方法。
【請求項4】
前記エッチングを行うことでは、前記原料ガスを導入することにおける前記原料ガスの導入を継続しつつ、前記エッチングガスの導入を行う、請求項1または2に記載の炭化珪素単結晶製造方法。
【請求項5】
前記エッチングを行うことでは、前記エッチングガスの導入を定期的に行う、請求項4に記載の炭化珪素単結晶製造方法。
【請求項6】
炭化珪素の原料ガス(20)を供給して炭化珪素単結晶(3)を種結晶(2)上に成長させるガス供給法による炭化珪素単結晶製造装置であって、
前記種結晶に対して下方から前記原料ガスを供給する第1ガス導入口(7)と、
前記原料ガスを加熱分解すると共に、前記炭化珪素単結晶の成長空間を構成する中空形状の加熱容器(12)と、
前記加熱容器の周囲に配置された断熱材(11)と、
前記加熱容器内に配置され、前記種結晶が配置される台座(13)と、
前記加熱容器、前記断熱材および前記台座が収容される真空容器(10)と、
前記加熱容器を加熱する加熱装置(15)と、
前記種結晶に供給された前記原料ガスの未反応ガスを含む排出ガスを前記成長空間より前記真空容器の外部に排出するガス排出口(9)と、
前記第1ガス導入口よりも前記台座側に突き出したガス吹出口(8a)を有し、前記炭化珪素単結晶の成長表面にエッチングガス(23)を吹き付ける第2ガス導入口(8)と、を有している炭化珪素単結晶製造装置。
【請求項7】
前記台座は、前記種結晶が設置される一面が円形状とされており、
前記第2ガス導入口における前記ガス吹出口は、前記台座の一面の外縁と対応する場所に位置しており、前記成長表面における外縁部に前記エッチングガスを吹き付ける、請求項6に記載の炭化珪素単結晶製造装置。
【請求項8】
前記第2ガス導入口は、前記真空容器の底部における前記第1ガス導入口と異なる場所に配置されており、前記底部から上下方向に伸びる基部(8c)と、前記基部と前記ガス吹出口とを繋ぎ上下方向に対して傾斜させられることで前記基部に対して前記ガス吹出口を偏心させる屈曲部(8b)と、を有し、
さらに、前記基部を回転させることで前記ガス吹出口の位置を変化させる回転装置(30)を備える、請求項6に記載の炭化珪素単結晶製造装置。
発明の詳細な説明
【技術分野】
【0001】
本開示は、炭化珪素(以下、SiCという)単結晶製造方法およびSiC単結晶製造装置に関するものである。
続きを表示(約 2,000 文字)
【背景技術】
【0002】
従来より、SiC原料ガスをSiC単結晶で構成された種結晶の成長面に供給し、種結晶の上にSiC単結晶を成長させるガス成長法が知られている。ガス成長法では、SiC原料ガスに加えて、結晶の比抵抗を調整するためのドーパントとなるN
2
(窒素)などのドーパントガスなども導入してSiC単結晶が製造される。
【0003】
SiC単結晶の製造においては、成長表面の面内温度およびガス分布を適切に調整できないと、SiC単結晶の成長表面が凹形状または凸形状となり、成長表面の高低差が大きくなる。このため、SiC単結晶の内部応力が大きくなり、結晶割れを生じさせる原因となっている。
【0004】
このような課題を解決する技術として、特許文献1に、反応容器に縮径部を備え、SiC単結晶の成長表面の中央部にSiC原料ガスが集中的に吹き付けられるようにてガスの流れを制御する手法が提案されている。また、SiC単結晶の周辺の部材の構造を最適化し、成長表面の周囲を断熱材によって囲み、成長表面の温度分布を調整することでSiC単結晶の形状を制御する手法も提案されている。
【先行技術文献】
【特許文献】
【0005】
特開2011-132088号公報
【発明の概要】
【発明が解決しようとする課題】
【0006】
しかしながら、SiC単結晶の成長分布のばらつきが僅かであったとしても、SiC単結晶を長時間成長させると成長表面の高低差は時間と共に累積的に大きくなる。そして、この問題は、SiC単結晶の成長表面に吹き付けるガスの流れを制御する手法や、SiC単結晶の周辺の部材の構造を最適化することで成長表面の温度分布を調整する手法では、解決が困難であり、SiC単結晶の長尺化の妨げになっている。
【0007】
本開示は、SiC単結晶の成長表面の形状を良好にできるSiC単結晶製造方法およびSiC単結晶製造装置を提供することを目的とする。
【課題を解決するための手段】
【0008】
本開示の第1の観点は、SiCの原料ガス(20)を供給してSiC単結晶(3)を種結晶(2)上に成長させるガス供給法によるSiC単結晶製造方法であって、
前記SiC単結晶の成長空間を構成する中空状の加熱容器(12)内に配置される台座(13)に前記種結晶(2)を配置することと、
前記種結晶の下方に配置された第1ガス導入口(7)を通じて、前記加熱容器内に前記原料ガスを導入することと、
前記加熱容器を2000℃以上に加熱して前記原料ガスを加熱分解し、前記種結晶に供給することで前記SiC単結晶を成長させることと、
前記第1ガス導入口よりも前記台座側に突き出したガス吹出口(8a)を有する第2ガス導入口(8)を備え、前記加熱容器を2000℃以上に加熱しつつ、前記第1ガス導入口からエッチングガスとしても機能するキャリアガス(21)を導入することと、前記第2ガス導入口より、前記炭化珪素単結晶の成長表面に対してエッチングガス(23)を吹き付けて、前記成長表面の高低差を低減する局所的なエッチングを行うこと、との少なくとも一方を行うことと、を含んでいる。
【0009】
このように、SiC単結晶の成長表面にエッチングガスを吹き付けて、SiC単結晶の成長表面を局所的にエッチングできるようにしている。これにより、SiC単結晶の成長表面の突き出し量を制御して、突き出し量を小さくでき、好ましくは成長表面がフラットな面となるように制御できる。したがって、SiC単結晶の成長表面の形状を良好にすることが可能となる。
【0010】
本開示の第2の観点は、SiCの原料ガス(20)を供給してSiC単結晶(3)を種結晶(2)上に成長させるガス供給法によるSiC単結晶製造装置であって、
前記種結晶に対して下方から前記原料ガスを供給する第1ガス導入口(7)と、
前記供給ガスを加熱分解すると共に、前記SiC単結晶の成長空間を構成する中空形状の加熱容器(12)と、
前記加熱容器の周囲に配置された断熱材(11)と、
前記加熱容器内に配置され、前記種結晶が配置される台座(13)と、
前記加熱容器、前記断熱材および前記台座が収容される真空容器(10)と、
前記加熱容器を加熱する加熱装置(15)と、
前記種結晶に供給された前記供給ガスの未反応ガスを含む排出ガスを前記成長空間より前記真空容器の外部に排出するガス排出口(9)と、
前記第1ガス導入口よりも前記台座側に突き出したガス吹出口(8a)を有し、前記SiC単結晶の成長表面にエッチングガス(23)を吹き付ける第2ガス導入口(8)と、を有している。
(【0011】以降は省略されています)
この特許をJ-PlatPat(特許庁公式サイト)で参照する
関連特許
株式会社デンソーウェーブ
筐体
1か月前
株式会社デンソー
回転機
1か月前
株式会社デンソー
分離体
8日前
株式会社デンソー
電動機
今日
株式会社デンソー
電動弁
22日前
株式会社デンソー
車載器
1か月前
株式会社デンソー
端子台
2日前
株式会社デンソー
検出装置
1か月前
株式会社デンソー
撮像装置
21日前
株式会社デンソー
電子装置
2か月前
株式会社デンソー
光学部材
8日前
株式会社デンソー
光学部材
8日前
株式会社デンソー
ねじ部材
1か月前
株式会社デンソー
電気回路
16日前
株式会社デンソー
撮像装置
21日前
株式会社デンソー
ステータ
1か月前
株式会社デンソー
摺動機構
21日前
株式会社デンソー
摺動機構
21日前
株式会社デンソー
熱交換器
21日前
株式会社デンソー
電子装置
22日前
株式会社デンソー
電子装置
1か月前
株式会社デンソー
電解装置
23日前
株式会社デンソー
制御装置
24日前
株式会社デンソー
電子装置
1か月前
株式会社デンソー
反力装置
1か月前
株式会社デンソー
電子装置
1か月前
株式会社デンソーエレクトロニクス
発音装置
2か月前
株式会社デンソー
ステータ
1か月前
株式会社デンソー
電子装置
今日
株式会社デンソー
光学部材
今日
株式会社デンソー
トランス
今日
株式会社デンソートリム
鞍乗り車両
1か月前
株式会社デンソー
農業用装置
1か月前
株式会社デンソー
半導体装置
1か月前
株式会社デンソー
電磁継電器
今日
株式会社デンソー
半導体装置
1か月前
続きを見る
他の特許を見る