TOP
|
特許
|
意匠
|
商標
特許ウォッチ
Twitter
他の特許を見る
公開番号
2025173277
公報種別
公開特許公報(A)
公開日
2025-11-27
出願番号
2024078786
出願日
2024-05-14
発明の名称
情報処理装置、情報処理方法、および、プログラム
出願人
トヨタ自動車株式会社
代理人
弁理士法人秀和特許事務所
主分類
G01C
21/32 20060101AFI20251119BHJP(測定;試験)
要約
【課題】車両の走行中に、精度の高い周辺地図を生成する。
【解決手段】車両に搭載される情報処理装置であって、車両に備えられたセンサを介してデータを取得することと、道路地図を生成するためのオブジェクトに関する情報を地物情報として推定する学習済みの推定モデルである第1モデルに、データを入力して、地物情報を推定することと、道路のレーンのトポロジーまたはオブジェクトとレーンのトポロジーであるトポロジー情報を推定するための学習済みの推定モデルである第2モデルに、データを入力して、トポロジー情報を推定することと、地物情報とトポロジー情報とに基づいて、車両周辺の道路地図を生成することと、を実行する制御部110を備える。
【選択図】図2
特許請求の範囲
【請求項1】
車両に搭載される情報処理装置であって、
前記車両に備えられたセンサを介してデータを取得することと、
道路地図を生成するためのオブジェクトに関する情報を地物情報として推定する学習済みの推定モデルである第1モデルに、前記データを入力して、前記地物情報を推定することと、
道路のレーンのトポロジーまたは前記オブジェクトと前記レーンのトポロジーであるトポロジー情報を推定するための学習済みの推定モデルである第2モデルに、前記データを入力して、前記トポロジー情報を推定することと、
前記地物情報と前記トポロジー情報とに基づいて、前記車両周辺の前記道路地図を生成することと、
を実行する制御部を備える、
情報処理装置。
続きを表示(約 1,300 文字)
【請求項2】
さらに、記憶部を備え、
前記制御部は、
前記第1モデルおよび前記第2モデルを、外部の装置から取得し、
取得した前記第1モデルおよび前記第2モデルを前記記憶部に記憶させる、
請求項1に記載の情報処理装置。
【請求項3】
前記データは、
前記車両の位置を示す情報、前記車両の姿勢を示す情報、および、前記車両に備えられたカメラが撮像した画像を含む、
請求項1に記載の情報処理装置。
【請求項4】
前記制御部は、
生成した前記道路地図に基づいて、前記車両の挙動を自動運転で制御するための制御パラメータを生成する、
請求項1に記載の情報処理装置。
【請求項5】
前記制御部は、
走行中の前記車両の前記自動運転におけるエラーを検知した場合、前記車両に備えられたカメラが撮像した画像を含む前記データを、所定の装置に送信する、
請求項4に記載の情報処理装置。
【請求項6】
前記制御部は、
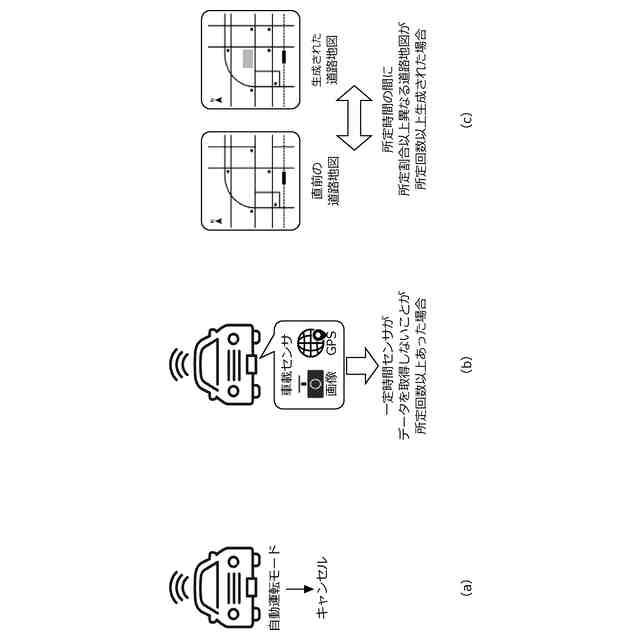
前記車両のユーザが自動運転モードをキャンセルした場合、第1の時間の間に前記センサが前記データを所定数以上取得しないことが第1の回数以上あった場合、または、直前に生成された道路地図と所定割合以上異なる道路地図が第2の時間の間に第2の回数以上生成された場合に、前記エラーを検知したと判定する、
請求項5に記載の情報処理装置。
【請求項7】
前記制御部は、
前記車両が備える所定のセンサが、GPS(Global Positioning System)情報を所定時間内に取得しなかった場合、前記エラーを検知したと判定する、
請求項5に記載の情報処理装置。
【請求項8】
前記直前の道路地図と所定割合以上異なる道路地図とは、前記第1モデルによる白線の
推定結果、または、前記第2モデルによる前記レーンのトポロジーの推定結果が、前記直前の道路地図と所定量以上異なる道路地図である、
請求項6に記載の情報処理装置。
【請求項9】
前記制御部は、
前記エラーを所定回数以上検知した場合に、再学習された前記第1モデルおよび前記第2モデルを、外部の装置から取得する、
請求項5に記載の情報処理装置。
【請求項10】
車両に搭載される情報処理装置が実行する情報処理方法であって、
前記車両に備えられたセンサを介してデータを取得するステップと、
道路地図を生成するためのオブジェクトに関する情報を地物情報として推定する学習済みの推定モデルである第1モデルに、前記データを入力して、前記地物情報を推定するステップと、
道路のレーンのトポロジーまたは前記オブジェクトと前記レーンのトポロジーであるトポロジー情報を推定するための学習済みの推定モデルである第2モデルに、前記データを入力して、前記トポロジー情報を推定するステップと、
前記地物情報と前記トポロジー情報とに基づいて、前記車両周辺の前記道路地図を生成するステップと、
を含む、
情報処理方法。
(【請求項11】以降は省略されています)
発明の詳細な説明
【技術分野】
【0001】
本開示は、地図生成に関する。
続きを表示(約 1,500 文字)
【背景技術】
【0002】
地図を自動で生成する技術がある。これに関し、例えば、特許文献1には、小領域毎に対象物が存在する確率密度を示す事前地図を記憶し、小領域毎の対象物の存在の有無を示す現在地図を生成し、事前地図および現在地図に基づいて、自己の位置を推定する移動体等が開示されている。
【先行技術文献】
【特許文献】
【0003】
特開2023-173688号公報
特許第7063310号公報
特開2019-168610号公報
【発明の概要】
【発明が解決しようとする課題】
【0004】
本開示は、車両の走行中に、精度の高い周辺地図を生成することを目的とする。
【課題を解決するための手段】
【0005】
本開示の一態様は、
車両に搭載される情報処理装置であって、前記車両に備えられたセンサを介してデータを取得することと、道路地図を生成するためのオブジェクトに関する情報を地物情報として推定する学習済みの推定モデルである第1モデルに、前記データを入力して、前記地物情報を推定することと、道路のレーンのトポロジーまたは前記オブジェクトと前記レーンのトポロジーであるトポロジー情報を推定するための学習済みの推定モデルである第2モデルに、前記データを入力して、前記トポロジー情報を推定することと、前記地物情報と前記トポロジー情報とに基づいて、前記車両周辺の前記道路地図を生成することと、を実行する制御部を備える、情報処理装置である。
【0006】
また、本開示の別の一態様は、
車両に搭載される情報処理装置が実行する情報処理方法であって、車両に備えられたセンサを介してデータを取得するステップと、道路地図を生成するためのオブジェクトに関する情報を地物情報として推定する学習済みの推定モデルである第1モデルに、前記データを入力して、前記地物情報を推定するステップと、道路のレーンのトポロジーまたは前記オブジェクトと前記レーンのトポロジーであるトポロジー情報を推定するための学習済みの推定モデルである第2モデルに、前記データを入力して、前記トポロジー情報を推定するステップと、前記地物情報と前記トポロジー情報とに基づいて、前記車両周辺の前記道路地図を生成するステップと、を含む、情報処理方法である。
【0007】
また、他の態様として、上記情報処理方法をコンピュータに実行させるためのプログラム、または、該プログラムを非一時的に記憶したコンピュータ可読記憶媒体が挙げられる。
【発明の効果】
【0008】
本開示によれば、車両の走行中に、精度の高い周辺地図を生成することができる。
【図面の簡単な説明】
【0009】
車載装置が実行する処理の概要を示す図。
第1の実施形態に係る車載装置が有する構成要素を説明する図。
第1の実施形態に係る車載装置の制御部が実行する処理のフローチャート。
地物情報とトポロジー情報を説明する図。
第2の実施形態に係る車載装置の制御部が実行する処理のフローチャート。
第3の実施形態に係る車載装置が有する構成要素を説明する図。
第3の実施形態における車載装置の制御部が実行する処理のフローチャート。
車載装置の制御部がエラーを検知したと判定する場合を説明する図。
【発明を実施するための形態】
【0010】
(概要)
自動運転車両において、走行している地点の周辺地図を利用して、走行制御が行われる。
(【0011】以降は省略されています)
この特許をJ-PlatPat(特許庁公式サイト)で参照する
関連特許
トヨタ自動車株式会社
電池
今日
トヨタ自動車株式会社
電池
今日
トヨタ自動車株式会社
電池
8日前
トヨタ自動車株式会社
車両
8日前
トヨタ自動車株式会社
配管
9日前
トヨタ自動車株式会社
車両
9日前
トヨタ自動車株式会社
電池
14日前
トヨタ自動車株式会社
電動車
8日前
トヨタ自動車株式会社
ロータ
9日前
トヨタ自動車株式会社
電動車
9日前
トヨタ自動車株式会社
蓄電装置
今日
トヨタ自動車株式会社
蓄電装置
今日
トヨタ自動車株式会社
処理装置
今日
トヨタ自動車株式会社
蓄電装置
今日
トヨタ自動車株式会社
制御装置
今日
トヨタ自動車株式会社
制御装置
9日前
トヨタ自動車株式会社
蓄電装置
8日前
トヨタ自動車株式会社
蓄電装置
今日
トヨタ自動車株式会社
エンジン
9日前
トヨタ自動車株式会社
蓄電装置
今日
トヨタ自動車株式会社
蓄電装置
今日
トヨタ自動車株式会社
蓄電装置
今日
トヨタ自動車株式会社
蓄電装置
今日
トヨタ自動車株式会社
蓄電装置
8日前
トヨタ自動車株式会社
蓄電装置
今日
トヨタ自動車株式会社
車両装置
今日
トヨタ自動車株式会社
蓄電装置
今日
トヨタ自動車株式会社
塗工装置
今日
トヨタ自動車株式会社
蓄電装置
今日
トヨタ自動車株式会社
制御装置
8日前
トヨタ自動車株式会社
蓄電装置
8日前
トヨタ自動車株式会社
制御装置
9日前
トヨタ自動車株式会社
蓄電装置
今日
トヨタ自動車株式会社
反応容器
8日前
トヨタ自動車株式会社
蓄電装置
1日前
トヨタ自動車株式会社
蓄電セル
16日前
続きを見る
他の特許を見る