TOP
|
特許
|
意匠
|
商標
特許ウォッチ
Twitter
他の特許を見る
公開番号
2025161422
公報種別
公開特許公報(A)
公開日
2025-10-24
出願番号
2024064594
出願日
2024-04-12
発明の名称
蓄電装置
出願人
トヨタ自動車株式会社
,
トヨタバッテリー株式会社
代理人
弁理士法人深見特許事務所
主分類
H01M
50/242 20210101AFI20251017BHJP(基本的電気素子)
要約
【課題】配列方向に配列された複数の蓄電セル同士の間において衝撃が伝達されるのを抑制することが可能な蓄電装置を提供する。
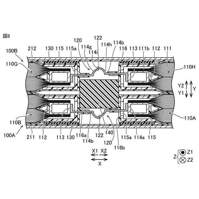
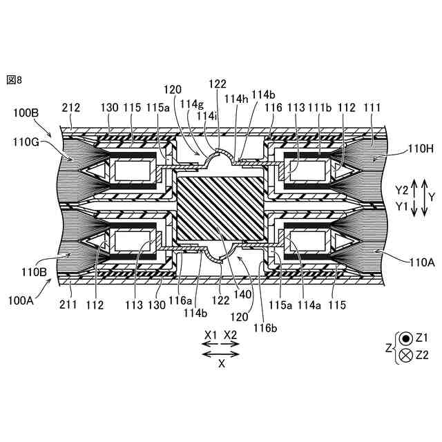
【解決手段】蓄電装置1は、X方向(配列方向)に配列された複数の蓄電セル110と、X方向に隣り合う蓄電セル110同士を電気的に接続する接続部120と、を含むセル連結体100と、セル連結体100を収容するケース200と、を備える。接続部120により電気的に接続された蓄電セル110同士の間には、衝撃吸収部(屈曲部122、弾性部材140)が設けられている。
【選択図】図8
特許請求の範囲
【請求項1】
配列方向に配列された複数の蓄電セルと、前記配列方向に隣り合う蓄電セル同士を電気的に接続する接続部と、を含むセル連結体と、
前記セル連結体を収容するケースと、を備え、
前記接続部により電気的に接続された前記蓄電セル同士の間には、衝撃吸収部が設けられている、蓄電装置。
続きを表示(約 1,100 文字)
【請求項2】
前記複数の蓄電セルの各々は、前記配列方向に長手方向を有している、請求項1に記載の蓄電装置。
【請求項3】
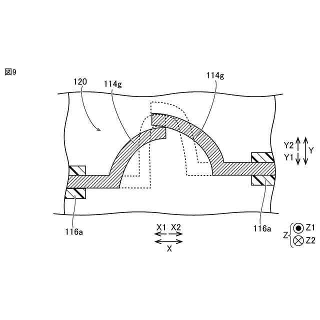
前記衝撃吸収部は、前記接続部に形成された屈曲部を含む、請求項1または2に記載の蓄電装置。
【請求項4】
前記セル連結体は、前記配列方向と直交する直交方向に隣り合う第1セル連結体と第2セル連結体とを含み、
前記接続部は、
前記第1セル連結体において前記配列方向に隣り合う前記蓄電セル同士を電気的に接続する第1接続部と、
前記第2セル連結体において前記配列方向に隣り合う前記蓄電セル同士を電気的に接続する第2接続部と、を含み、
前記屈曲部は、
前記第1接続部に形成された第1屈曲部と、
前記第2接続部に形成された第2屈曲部と、を含む、請求項3に記載の蓄電装置。
【請求項5】
前記第1屈曲部は、前記直交方向において、前記第2屈曲部から離間する方向に凸になるように屈曲している、請求項4に記載の蓄電装置。
【請求項6】
前記第2屈曲部は、前記直交方向において、前記第1屈曲部から離間する方向に凸になるように屈曲している、請求項5に記載の蓄電装置。
【請求項7】
前記第1屈曲部と前記第2屈曲部との間に配置される絶縁部材をさらに備える、請求項4に記載の蓄電装置。
【請求項8】
前記衝撃吸収部は、前記接続部に形成されているとともに前記配列方向に伸縮可能な伸縮部を含む、請求項1または2に記載の蓄電装置。
【請求項9】
前記衝撃吸収部は、前記接続部により電気的に接続された前記蓄電セル同士の間に配置された弾性部材を含む、請求項1または2に記載の蓄電装置。
【請求項10】
前記複数の蓄電セルは、前記接続部により電気的に接続された第1蓄電セルと第2蓄電セルとを含み、
前記第1蓄電セルは、前記第2蓄電セルに向かって突出する第1電極端子を有し、
前記第2蓄電セルは、前記第1蓄電セルに向かって突出する第2電極端子を有し、
前記第1電極端子と前記第2電極端子とは、前記接続部によって電気的に接続されており、
前記第1電極端子は、前記第2蓄電セルに向かって先細る第1テーパ部を有し、
前記第2電極端子は、前記第1蓄電セルに向かって先細るとともに前記第1テーパ部と接続される第2テーパ部を有し、
前記衝撃吸収部は、前記第1テーパ部と前記第2テーパ部とが接続される部分を含む、請求項1または2に記載の蓄電装置。
(【請求項11】以降は省略されています)
発明の詳細な説明
【技術分野】
【0001】
本開示は、蓄電装置に関する。
続きを表示(約 1,400 文字)
【背景技術】
【0002】
特表2023-502457号公報(特許文献1)には、ハウジングと、複数の電極体セットとを備える電池が開示されている。複数の電極体セットは、ハウジングの内部に設けられている。複数の電極体セットは、第1の方向に沿って順に配列され、かつ、直列に接続されている。
【先行技術文献】
【特許文献】
【0003】
特表2023-502457号公報
【発明の概要】
【発明が解決しようとする課題】
【0004】
上記特許文献1に記載の電池では、複数の電極体セット(蓄電セル)が第1の方向(配列方向)に直列に接続されているため、1つの電極体セットに衝撃が加わった際に、他の電極体セットに衝撃が伝達されやすい。
【0005】
本開示は、上記課題を解決するためになされたものであり、その目的は、配列方向に配列された複数の蓄電セル同士の間において衝撃が伝達されるのを抑制することが可能な蓄電装置を提供することである。
【課題を解決するための手段】
【0006】
本開示の一の局面に係る蓄電装置は、配列方向に配列された複数の蓄電セルと、配列方向に隣り合う蓄電セル同士を電気的に接続する接続部と、を含むセル連結体を備える。蓄電装置は、セル連結体を収容するケースを備える。接続部により電気的に接続された蓄電セル同士の間には、衝撃吸収部が設けられている。
【0007】
本開示の一の局面に係る蓄電装置では、上記のように、接続部により電気的に接続された蓄電セル同士の間に衝撃吸収部が設けられている。これにより、外部から蓄電セルに衝撃が加えられた場合などにおいて、衝撃吸収部によって衝撃を吸収することができる。その結果、電気的に接続された蓄電セル同士の間において衝撃が伝達されるのを抑制することができる。
【0008】
複数の蓄電セルの各々は、配列方向に長手方向を有していてもよい。このような構成により、長手方向に配列された蓄電セル同士の間において衝撃が伝達されるのを抑制することができる。その結果、蓄電セルのうち短手方向の辺(面)に衝撃が加わるのを抑制することができる。
【0009】
衝撃吸収部は、接続部に形成された屈曲部を含んでいてもよい。ここで、直線状に形成された部分に比べて屈曲部は変形しやすい。したがって、蓄電セルに加えられた衝撃によって屈曲部を容易に変形させることができるので、屈曲部によって衝撃を効果的に吸収することができる。
【0010】
セル連結体は、配列方向と直交する直交方向に隣り合う第1セル連結体と第2セル連結体とを含んでいてもよい。接続部は、第1セル連結体において配列方向に隣り合う蓄電セル同士を電気的に接続する第1接続部と、第2セル連結体において配列方向に隣り合う蓄電セル同士を電気的に接続する第2接続部と、を含んでいてもよい。屈曲部は、第1接続部に形成された第1屈曲部と、第2接続部に形成された第2屈曲部と、を含んでいてもよい。このような構成により、第1セル連結体および第2セル連結体の各々において、蓄電セル同士の間における衝撃の伝達を抑制することができる。
(【0011】以降は省略されています)
この特許をJ-PlatPat(特許庁公式サイト)で参照する
関連特許
APB株式会社
蓄電セル
1か月前
日機装株式会社
加圧装置
4日前
日新イオン機器株式会社
イオン源
4日前
マクセル株式会社
電源装置
1か月前
株式会社東芝
端子台
1か月前
株式会社GSユアサ
蓄電装置
1か月前
株式会社GSユアサ
蓄電装置
1か月前
三菱電機株式会社
回路遮断器
27日前
株式会社GSユアサ
蓄電装置
19日前
富士電機株式会社
電磁接触器
19日前
株式会社GSユアサ
蓄電装置
1か月前
日新イオン機器株式会社
基板処理装置
1か月前
日本特殊陶業株式会社
保持装置
1か月前
トヨタ自動車株式会社
蓄電装置
1か月前
大電株式会社
電線又はケーブル
11日前
株式会社トクミ
ケーブル
5日前
株式会社東芝
電子源
4日前
ホシデン株式会社
複合コネクタ
13日前
トヨタ自動車株式会社
バッテリ
1か月前
トヨタ自動車株式会社
蓄電装置
11日前
個人
電源ボックス及び電子機器
4日前
トヨタ自動車株式会社
密閉型電池
1か月前
日本無線株式会社
レーダアンテナ
1か月前
日亜化学工業株式会社
半導体レーザ素子
1か月前
ローム株式会社
半導体モジュール
20日前
矢崎総業株式会社
コネクタ
19日前
株式会社デンソー
電子装置
1か月前
ヒロセ電機株式会社
電気コネクタ
19日前
株式会社レゾナック
冷却器
27日前
住友電装株式会社
コネクタ
19日前
甲神電機株式会社
変流器及び零相変流器
1か月前
矢崎総業株式会社
端子
11日前
日本特殊陶業株式会社
アンテナ装置
6日前
富士電機株式会社
半導体モジュール
1か月前
株式会社パロマ
監視システム
11日前
日本特殊陶業株式会社
アンテナ装置
6日前
続きを見る
他の特許を見る