TOP
|
特許
|
意匠
|
商標
特許ウォッチ
Twitter
他の特許を見る
10個以上の画像は省略されています。
公開番号
2025163788
公報種別
公開特許公報(A)
公開日
2025-10-30
出願番号
2024067308
出願日
2024-04-18
発明の名称
荷役装置
出願人
株式会社豊田自動織機
代理人
個人
,
個人
,
個人
,
個人
主分類
B66F
9/24 20060101AFI20251023BHJP(巻上装置;揚重装置;牽引装置)
要約
【課題】リフトブラケットの抜け出し防止用のストッパの小型化を図ることができる荷役装置を提供する。
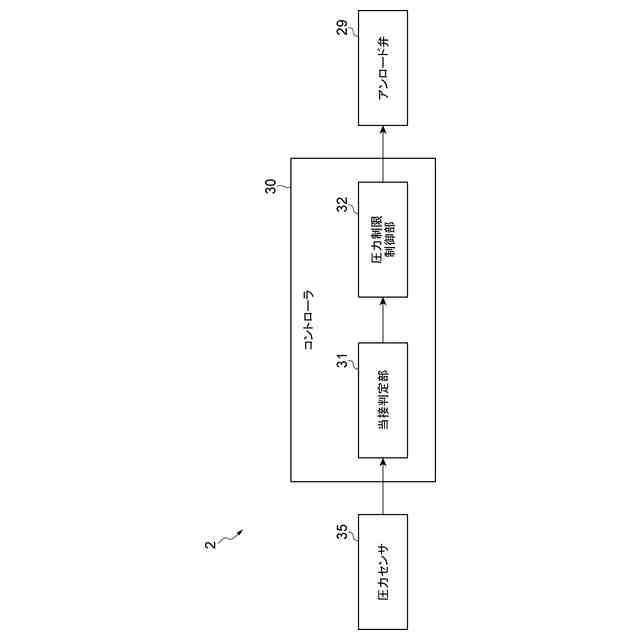
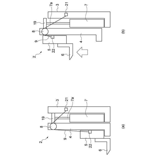
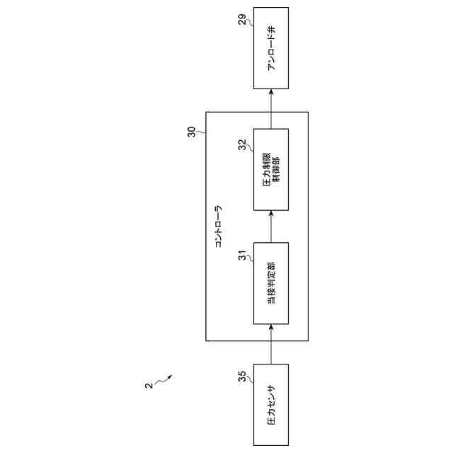
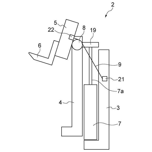
【解決手段】荷役装置2は、インナマスト4をアウタマスト3に対して昇降させるリフトシリンダ7と、リフトシリンダ7の伸縮動作に応じてリフトブラケット5をインナマスト4に対して昇降させるリフトチェーン9と、インナマスト4に取り付けられたインナマストストッパ23と、リフトブラケット5に取り付けられたリフトブラケットストッパ24と、リフトブラケットストッパ24がインナマストストッパ23に当接したかどうかを検知する当接検知部と、リフトシリンダ7に供給される作動油の圧力を調整するアンロード弁29と、リフトブラケットストッパ24がインナマストストッパ23に当接したことが検知されたときに、リフトシリンダ7に供給される作動油の圧力を制限するようにアンロード弁29を制御する圧力制限制御部32とを備える。
【選択図】図7
特許請求の範囲
【請求項1】
フォークリフトに搭載された荷役装置であって、
アウタマストと、
前記アウタマストに対して昇降可能なインナマストと、
前記インナマストに対して昇降可能なリフトブラケットと、
前記リフトブラケットに取り付けられたフォークと、
油圧源からの作動油により駆動され、前記インナマストを前記アウタマストに対して昇降させるリフトシリンダと、
前記インナマストに取り付けられたチェーンホイールと、
前記アウタマストと前記リフトブラケットとに連結されると共に前記チェーンホイールに掛装され、前記リフトシリンダの伸縮動作に応じて前記リフトブラケットを前記インナマストに対して昇降させるリフトチェーンと、
前記インナマストに取り付けられた第1ストッパと、
前記リフトブラケットに取り付けられ、前記リフトブラケットの上昇時に前記リフトブラケットが前記インナマストから抜け出ないように前記第1ストッパと当接する第2ストッパと、
前記第2ストッパが前記第1ストッパに当接したかどうかを検知する当接検知部と、
前記リフトシリンダに供給される作動油の圧力を調整する圧力調整弁と、
前記当接検知部により前記第2ストッパが前記第1ストッパに当接したことが検知されたときに、前記リフトシリンダに供給される作動油の圧力を制限するように前記圧力調整弁を制御する圧力制限制御部とを備える荷役装置。
続きを表示(約 760 文字)
【請求項2】
前記当接検知部は、前記リフトシリンダに供給される作動油の圧力を検出する圧力センサを有し、前記圧力センサの検出値が予め決められた判定閾値以上であるときに、前記第2ストッパが前記第1ストッパに当接したと検知する請求項1記載の荷役装置。
【請求項3】
前記インナマストの高さ位置を検出する揚高検出部と、
前記揚高検出部により検出された前記インナマストの高さ位置が予め決められた下限閾値以上であるかどうかを判断する判断部とを更に備え、
前記当接検知部は、前記判断部により前記インナマストの高さ位置が前記下限閾値以上であると判断されたときに、前記第2ストッパが前記第1ストッパに当接したかどうかを検知する請求項1記載の荷役装置。
【請求項4】
前記インナマストの高さ位置を検出する揚高検出部と、
前記揚高検出部により検出された前記インナマストの高さ位置が予め決められた上限閾値以下であるかどうかを判断する判断部とを更に備え、
前記当接検知部は、前記判断部により前記インナマストの高さ位置が前記上限閾値以下であると判断されたときに、前記第2ストッパが前記第1ストッパに当接したかどうかを検知する請求項1記載の荷役装置。
【請求項5】
前記当接検知部は、前記第1ストッパまたは前記第2ストッパに発生する歪を検出する歪センサを有し、前記歪センサにより前記第1ストッパまたは前記第2ストッパに規定量以上の歪が発生したことが検出されたときに、前記第2ストッパが前記第1ストッパに当接したと検知する請求項1記載の荷役装置。
【請求項6】
前記歪センサは、前記第1ストッパに取り付けられている請求項5記載の荷役装置。
発明の詳細な説明
【技術分野】
【0001】
本発明は、荷役装置に関する。
続きを表示(約 2,300 文字)
【背景技術】
【0002】
フォークリフトの荷役装置としては、例えば特許文献1に記載されている技術が知られている。特許文献1に記載の荷役装置は、アウタマストと、アウタマストに対して昇降可能なインナマストと、インナマストに対して昇降可能であり、フォークを支持したキャリッジと、インナマストをアウタマストに対して昇降させるリフトシリンダと、インナマストの上部に設けられたチェーンホイールブラケットと、チェーンホイールブラケットに設けられたチェーンホイールと、チェーンホイールに掛回され、一端部がキャリッジに取り付けられたリフトブラケットに連結され、他端部がアウタマストの固定部に連結されたリフトチェーンと、キャリッジに固定されたチェーンアンカーブラケットとを備えている。インナマストの上昇によってキャリッジが上昇端付近に上昇されたときに、チェーンホイールブラケットにチェーンアンカーブラケットが下方向から当接する。
【先行技術文献】
【特許文献】
【0003】
特開平11-165991号公報
【発明の概要】
【発明が解決しようとする課題】
【0004】
上記従来技術においては、リフトシリンダを最上昇させたときに、チェーンアンカーブラケットがチェーンホイールブラケットに当接することで、インナマストからのリフトブラケットの抜け出しが防止される。しかし、チェーンアンカーブラケットがチェーンホイールブラケットに当接すると、ストッパであるチェーンアンカーブラケット及びチェーンホイールブラケットにリフトシリンダの推力が付加される。このため、リフトシリンダの推力に耐え得る高強度のストッパが必要となる。従って、ストッパのサイズが大きくならざるを得ないため、生産性が低下すると共にコストアップとなる。
【0005】
本発明の目的は、リフトブラケットの抜け出し防止用のストッパの小型化を図ることができる荷役装置を提供することである。
【課題を解決するための手段】
【0006】
(1)本発明の一態様は、フォークリフトに搭載された荷役装置であって、アウタマストと、アウタマストに対して昇降可能なインナマストと、インナマストに対して昇降可能なリフトブラケットと、リフトブラケットに取り付けられたフォークと、油圧源からの作動油により駆動され、インナマストをアウタマストに対して昇降させるリフトシリンダと、インナマストに取り付けられたチェーンホイールと、アウタマストとリフトブラケットとに連結されると共にチェーンホイールに掛装され、リフトシリンダの伸縮動作に応じてリフトブラケットをインナマストに対して昇降させるリフトチェーンと、インナマストに取り付けられた第1ストッパと、リフトブラケットに取り付けられ、リフトブラケットの上昇時にリフトブラケットがインナマストから抜け出ないように第1ストッパと当接する第2ストッパと、第2ストッパが第1ストッパに当接したかどうかを検知する当接検知部と、リフトシリンダに供給される作動油の圧力を調整する圧力調整弁と、当接検知部により第2ストッパが第1ストッパに当接したことが検知されたときに、リフトシリンダに供給される作動油の圧力を制限するように圧力調整弁を制御する圧力制限制御部とを備える。
【0007】
このような荷役装置においては、リフトシリンダによりインナマストをアウタマストに対して上昇させる伸長動作が行われると、リフトチェーンによりリフトシリンダの伸長動作に応じてリフトブラケットがインナマストに対して上昇する。そのリフトブラケットの上昇時に、リフトブラケットに取り付けられた第2ストッパがインナマストに取り付けられた第1ストッパに当接しても、リフトシリンダの伸長動作が継続されると、リフトシリンダに供給される作動油の圧力が上昇する。そこで、第2ストッパが第1ストッパに当接したかどうかが検知される。そして、第2ストッパが第1ストッパに当接したことが検知されたときは、リフトシリンダに供給される作動油の圧力を制限するように圧力調整弁が制御される。従って、第1ストッパ及び第2ストッパに付加されるリフトシリンダの推力が低減されるため、リフトシリンダの推力に耐え得る高強度の第1ストッパ及び第2ストッパを使用しなくて済む。これにより、リフトブラケットの抜け出し防止用のストッパである第1ストッパ及び第2ストッパの小型化を図ることができる。
【0008】
(2)上記の(1)において、当接検知部は、リフトシリンダに供給される作動油の圧力を検出する圧力センサを有し、圧力センサの検出値が予め決められた判定閾値以上であるときに、第2ストッパが第1ストッパに当接したと検知してもよい。
【0009】
このような構成では、フォークリフトに搭載されている既存の圧力センサを使用して、第2ストッパが第1ストッパに当接したかどうかが検知されるため、新たなセンサを別途用意する必要がない。従って、センサにかかるコストを抑えることができる。
【0010】
(3)上記の(1)または(2)において、荷役装置は、インナマストの高さ位置を検出する揚高検出部と、揚高検出部により検出されたインナマストの高さ位置が予め決められた下限閾値以上であるかどうかを判断する判断部とを更に備え、当接検知部は、判断部によりインナマストの高さ位置が下限閾値以上であると判断されたときに、第2ストッパが第1ストッパに当接したかどうかを検知してもよい。
(【0011】以降は省略されています)
特許ウォッチbot のツイートを見る
この特許をJ-PlatPat(特許庁公式サイト)で参照する
関連特許
株式会社豊田自動織機
トランス
1か月前
株式会社豊田自動織機
蓄電装置
10日前
株式会社豊田自動織機
トランス
11日前
株式会社豊田自動織機
制御装置
10日前
株式会社豊田自動織機
内燃機関
10日前
株式会社豊田自動織機
電源装置
11日前
株式会社豊田自動織機
荷役装置
1か月前
株式会社豊田自動織機
産業車両
26日前
株式会社豊田自動織機
車両制御装置
1か月前
株式会社豊田自動織機
双方向充電器
25日前
株式会社豊田自動織機
燃料電池システム
4日前
株式会社豊田自動織機
燃料電池ユニット
1か月前
株式会社豊田自動織機
ターボチャージャ
1か月前
株式会社豊田自動織機
ターボチャージャ
18日前
株式会社豊田自動織機
電力供給システム
23日前
株式会社豊田自動織機
ディーゼルエンジン
2日前
株式会社豊田自動織機
内燃機関の制御装置
24日前
株式会社豊田自動織機
織機用異常検知装置
1か月前
株式会社豊田自動織機
繊維機械の検査システム
1か月前
株式会社豊田自動織機
車両用熱マネジメントシステム
10日前
トヨタ自動車株式会社
蓄電池
24日前
株式会社豊田自動織機
繊維構造体、及び繊維強化複合材
1か月前
株式会社豊田自動織機
蓄電装置の製造方法及び蓄電装置
2日前
株式会社豊田自動織機
内燃機関の吸気温度制御システム
1か月前
株式会社豊田自動織機
繊維構造体および繊維強化複合材
3日前
株式会社豊田自動織機
制御装置、及び燃料電池モジュール
10日前
株式会社豊田自動織機
多孔質クラスレートシリコンの製造方法
2日前
トヨタ自動車株式会社
蓄電モジュール
24日前
トヨタ自動車株式会社
蓄電装置の製造方法
1か月前
トヨタ自動車株式会社
バイポーラ型蓄電装置
1か月前
株式会社豊田自動織機
シリコンクラスレートIIを含む負極活物質の製造方法
10日前
トヨタ自動車株式会社
二次電池及び二次電池の制御方法
1か月前
株式会社豊田自動織機
産業車両のヘッドガード、産業車両及び産業車両の屋根部材
18日前
株式会社アルテックス
ダイカスト装置及び鋳造品の製造方法
24日前
個人
自走手摺
4か月前
個人
転落防止階段
1か月前
続きを見る
他の特許を見る