TOP
|
特許
|
意匠
|
商標
特許ウォッチ
Twitter
他の特許を見る
公開番号
2025159922
公報種別
公開特許公報(A)
公開日
2025-10-22
出願番号
2024062790
出願日
2024-04-09
発明の名称
トランス
出願人
株式会社豊田自動織機
代理人
個人
,
個人
,
個人
,
個人
,
個人
主分類
H01F
38/08 20060101AFI20251015BHJP(基本的電気素子)
要約
【課題】渦電流損を低減可能なトランスを提供すること。
【解決手段】トランス1は、上下方向に延びる中央脚部21、及び上下方向に延びるとともに左右方向において中央脚部21から離れて設けられた側脚部を有するコア2と、中央脚部21に巻き回された一次巻線3と、上下方向において一次巻線3から離れて設けられ、中央脚部21に巻き回された二次巻線4と、コア2とともに漏れ磁束の磁路を形成するパスコア5であって、左右方向に延びるとともに一次巻線3と二次巻線4との間に設けられたパスコア5と、を備え、パスコア5は、磁路のうちの、中央脚部21からパスコア5を通って側脚部22に至る区間に複数のギャップが形成されるように配置されている。
【選択図】図2
特許請求の範囲
【請求項1】
第1方向に延びる中央脚部、及び前記第1方向に延びるとともに前記第1方向と交差する第2方向において前記中央脚部から離れて設けられた側脚部を有するコアと、
前記中央脚部に巻き回された一次巻線と、
前記第1方向において前記一次巻線から離れて設けられ、前記中央脚部に巻き回された二次巻線と、
前記コアとともに漏れ磁束の磁路を形成するパスコアであって、前記第2方向に延びるとともに前記一次巻線と前記二次巻線との間に設けられた前記パスコアと、
を備え、
前記パスコアは、前記磁路のうちの、前記中央脚部から前記パスコアを通って前記側脚部に至る区間に複数のギャップが形成されるように配置されている、トランス。
続きを表示(約 610 文字)
【請求項2】
前記パスコアは、互いに離間して前記第2方向に配列された複数の分割体を含む、請求項1に記載のトランス。
【請求項3】
前記中央脚部は、前記側脚部に向かって突出する第1凸部を有する、請求項2に記載のトランス。
【請求項4】
前記複数の分割体のうちの前記中央脚部に最も近い第1分割体と前記第1凸部との間に設けられ、前記第1分割体を前記第1凸部に固定する第1接着層を更に備える、請求項3に記載のトランス。
【請求項5】
前記側脚部は、前記中央脚部に向かって突出する第2凸部を有する、請求項2~請求項4のいずれか一項に記載のトランス。
【請求項6】
前記複数の分割体のうちの前記側脚部に最も近い第2分割体と前記第2凸部との間に設けられ、前記第2分割体を前記第2凸部に固定する第2接着層を更に備える、請求項5に記載のトランス。
【請求項7】
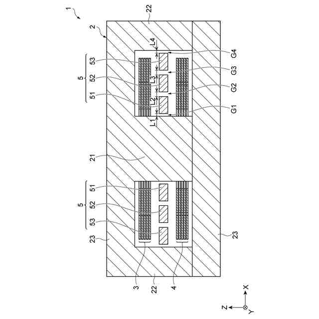
前記複数のギャップは、前記中央脚部に最も近い第1ギャップと、前記側脚部に最も近い第2ギャップと、前記第1ギャップと前記第2ギャップとの間に設けられた第3ギャップと、を含み、
前記第1ギャップの前記第2方向における長さ及び前記第2ギャップの前記第2方向における長さは、前記第3ギャップの前記第2方向における長さよりも短い、請求項1~請求項4のいずれか一項に記載のトランス。
発明の詳細な説明
【技術分野】
【0001】
本開示は、トランスに関する。
続きを表示(約 1,600 文字)
【背景技術】
【0002】
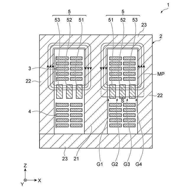
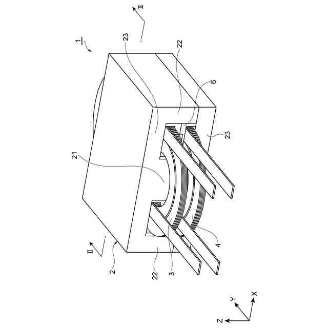
一次巻線と二次巻線との間に設けられた磁束漏洩用のパスコアを備えるトランスが知られている(例えば、特許文献1参照)。特許文献1に記載のトランスでは、互いに向かい合った2つのE形コアの中央脚部から側脚部に向かってパスコアが突出している。
【先行技術文献】
【特許文献】
【0003】
特開昭59-47722号公報
【発明の概要】
【発明が解決しようとする課題】
【0004】
特許文献1に記載のトランスにおいては、パスコアと側脚部との間にギャップが形成される。巻線に電流が流れることによって生じる磁束のうち、漏れ磁束は、中央脚部から、パスコア、ギャップ、及び側脚部を順に通って中央脚部に戻る経路を通過する。磁束は抵抗が最小となる経路を通過するので、ギャップにおいては漏れ磁束はパスコアを延長した部分よりも巻線の近くを通過する。このため、漏れ磁束が巻線と鎖交することによって、渦電流損が生じるおそれがある。
【0005】
本開示は、渦電流損を低減可能なトランスを説明する。
【課題を解決するための手段】
【0006】
本開示の一側面に係るトランスは、第1方向に延びる中央脚部、及び第1方向に延びるとともに第1方向と交差する第2方向において中央脚部から離れて設けられた側脚部を有するコアと、中央脚部に巻き回された一次巻線と、第1方向において一次巻線から離れて設けられ、中央脚部に巻き回された二次巻線と、コアとともに漏れ磁束の磁路を形成するパスコアであって、第2方向に延びるとともに一次巻線と二次巻線との間に設けられたパスコアと、を備える。パスコアは、磁路のうちの、中央脚部からパスコアを通って側脚部に至る区間に複数のギャップが形成されるように配置されている。
【0007】
このトランスにおいては、漏れ磁束の磁路のうちの、中央脚部からパスコアを通って側脚部に至る区間に複数のギャップが形成される。磁路上のギャップ長の合計は、所望の漏れインダクタンスによって定まる。したがって、磁路上に1つのギャップだけを設ける構成と比較して、各ギャップの第2方向における長さ(ギャップ長)を短くすることができるので、一次巻線又は二次巻線と鎖交する漏れ磁束を減らすことができる。その結果、渦電流損を低減することが可能となる。
【0008】
パスコアは、互いに離間して第2方向に配列された複数の分割体を含んでもよい。この構成によれば、互いに隣り合う2つの分割体の間にギャップが形成されるので、中央脚部からパスコアを通って側脚部に至る区間に複数のギャップを形成することができる。
【0009】
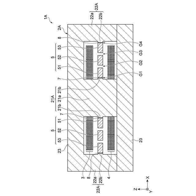
中央脚部は、側脚部に向かって突出する第1凸部を有してもよい。磁路の向きが変わる際に磁束はショートカットしやすくなる。上記構成によれば、漏れ磁束が第1凸部を通過しやすくなるので、磁路の向きが変わる際にショートカットする漏れ磁束を減らすことができる。したがって、一次巻線又は二次巻線と鎖交する漏れ磁束を更に減らすことができ、渦電流損を更に低減することが可能となる。
【0010】
上記トランスは、複数の分割体のうちの中央脚部に最も近い第1分割体と第1凸部との間に設けられ、第1分割体を第1凸部に固定する第1接着層を更に備えてもよい。第1分割体と第1凸部との間は、磁路の向きが変わる位置に近いので、漏れ磁束がショートカットしやすい。上記構成によれば、第1分割体と第1凸部との間のギャップ長を、ボビンを利用した場合よりも短くすることができる。このため、ショートカットする漏れ磁束を更に減らすことができる。したがって、一次巻線又は二次巻線と鎖交する漏れ磁束を更に減らすことができ、渦電流損を更に低減することが可能となる。
(【0011】以降は省略されています)
この特許をJ-PlatPat(特許庁公式サイト)で参照する
関連特許
株式会社豊田自動織機
トランス
25日前
株式会社豊田自動織機
操作装置
25日前
株式会社豊田自動織機
荷役装置
17日前
株式会社豊田自動織機
産業車両
12日前
株式会社豊田自動織機
双方向充電器
1か月前
株式会社豊田自動織機
排気浄化装置
26日前
株式会社豊田自動織機
双方向充電器
11日前
株式会社豊田自動織機
車両制御装置
23日前
株式会社豊田自動織機
ターボチャージャ
4日前
株式会社豊田自動織機
燃料電池ユニット
23日前
株式会社豊田自動織機
ターボチャージャ
17日前
株式会社豊田自動織機
電力供給システム
9日前
株式会社豊田自動織機
織機用異常検知装置
17日前
株式会社豊田自動織機
内燃機関の制御装置
10日前
株式会社豊田自動織機
車両のルーフサイド構造
26日前
株式会社豊田自動織機
繊維機械の検査システム
17日前
トヨタ自動車株式会社
蓄電池
10日前
株式会社豊田自動織機
繊維構造体、及び繊維強化複合材
17日前
株式会社豊田自動織機
内燃機関の吸気温度制御システム
17日前
株式会社豊田自動織機
燃料電池システム及びフォークリフト
1か月前
トヨタ自動車株式会社
蓄電モジュール
10日前
トヨタ自動車株式会社
蓄電装置の製造方法
20日前
トヨタ自動車株式会社
バイポーラ型蓄電装置
23日前
トヨタ自動車株式会社
二次電池及び二次電池の制御方法
19日前
株式会社豊田自動織機
産業車両のヘッドガード、産業車両及び産業車両の屋根部材
4日前
株式会社アルテックス
ダイカスト装置及び鋳造品の製造方法
10日前
株式会社豊田自動織機
車両用の充電システム、充電回路、充電装置、および電圧の制御方法
26日前
東ソー株式会社
絶縁電線
25日前
APB株式会社
蓄電セル
23日前
個人
フレキシブル電気化学素子
1か月前
日新イオン機器株式会社
イオン源
1か月前
株式会社東芝
端子台
17日前
ローム株式会社
半導体装置
24日前
マクセル株式会社
電源装置
17日前
株式会社ユーシン
操作装置
1か月前
オムロン株式会社
電磁継電器
1か月前
続きを見る
他の特許を見る