TOP
|
特許
|
意匠
|
商標
特許ウォッチ
Twitter
他の特許を見る
10個以上の画像は省略されています。
公開番号
2025175794
公報種別
公開特許公報(A)
公開日
2025-12-03
出願番号
2024082059
出願日
2024-05-20
発明の名称
産業車両
出願人
株式会社豊田自動織機
代理人
個人
,
個人
,
個人
,
個人
主分類
B66F
9/24 20060101AFI20251126BHJP(巻上装置;揚重装置;牽引装置)
要約
【課題】車体からの物体のはみ出しを周囲の監督者が容易に感知できる産業車両を提供する。
【解決手段】リーチフォークリフト1は、搭乗フロア18を有する車体10を備えた産業車両であって、車体10は、報知用の光Hを出射するランプ22と、車体10からの物体Rのはみ出しを検知するセンサ23と、センサ23によって車体10からの物体Rのはみ出しが検知された場合にランプ22を点灯させる報知処理を実行する制御部29と、を有し、ランプ22は、車体10の周囲から視認可能な位置に配置されている。
【選択図】図2
特許請求の範囲
【請求項1】
搭乗フロアを有する車体を備えた産業車両であって、
前記車体は、
報知用の光を出射するランプと、
前記車体からの物体のはみ出しを検知するセンサと、
前記センサによって前記車体からの前記物体のはみ出しが検知された場合に前記ランプを点灯させる報知処理を実行する制御部と、を有し、
前記ランプは、前記車体の周囲から視認可能な位置に配置されている、産業車両。
続きを表示(約 690 文字)
【請求項2】
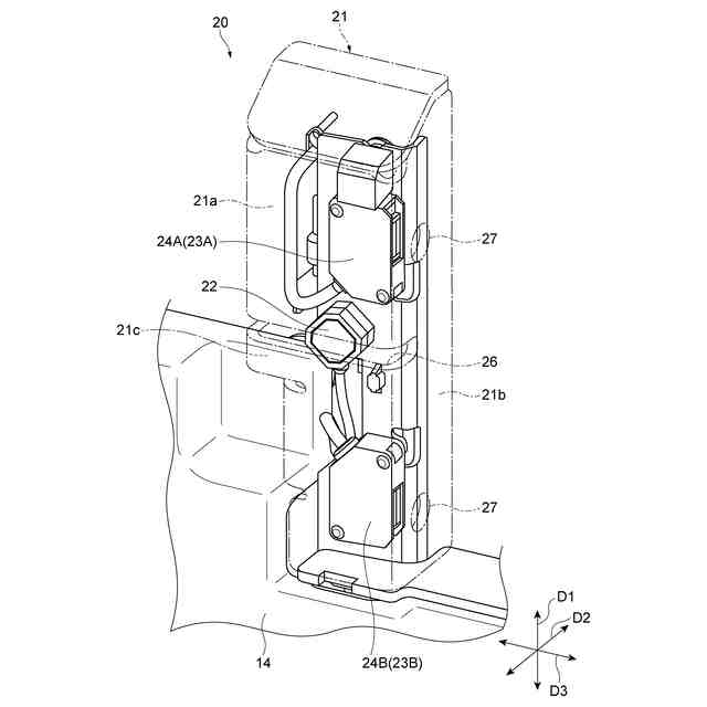
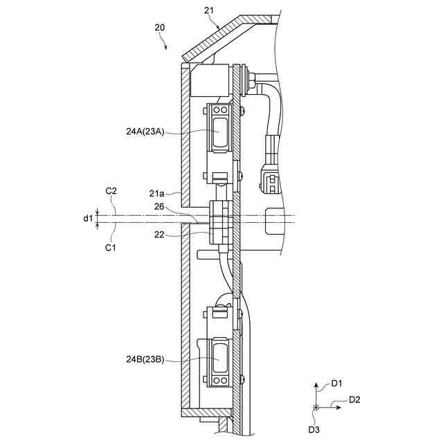
前記ランプと前記センサとは、前記車体における同一の外壁面に配置されている、請求項1記載の産業車両。
【請求項3】
前記車体は、前記搭乗フロアの出入口となる開口部を有し、
前記ランプと前記センサとは、前記開口部の下部に隣接して配置されている、請求項1記載の産業車両。
【請求項4】
前記ランプと前記センサとは、前記開口部に対して同じ側に配置されている、請求項3記載の産業車両。
【請求項5】
前記センサは、前記車体の高さ方向に複数配置され、
前記制御部は、複数の前記センサの少なくとも一つによって前記車体からの前記物体のはみ出しが検知された場合に、前記ランプを点灯させる、請求項1記載の産業車両。
【請求項6】
少なくとも前記ランプを内部に収容する金属製の箱型のブラケットを更に備え、
前記ブラケットの主面には、前記ランプを露出させるスリットが前記車体の幅方向に設けられている、請求項1記載の産業車両。
【請求項7】
前記スリットは、前記ブラケットにおいて前記主面に隣接する側面まで延在している、請求項6記載の産業車両。
【請求項8】
前記車体の高さ方向における前記ランプの中心は、前記車体の高さ方向における前記スリットの中心よりも下方に位置している、請求項6記載の産業車両。
【請求項9】
前記制御部は、自車両の走行状態情報に基づいて前記報知処理の実行の要否を判断する、請求項1~8のいずれか一項記載の産業車両。
発明の詳細な説明
【技術分野】
【0001】
本開示は、産業車両に関する。
続きを表示(約 1,600 文字)
【背景技術】
【0002】
従来の産業車両として、例えば特許文献1に記載のフォークリフトがある。この従来のフォークリフトは、車両本体と、オペレータが搭乗する搭乗フロアと、オペレータが左足で踏むことが可能なブレーキペダルと、オペレータが右足で踏むことが可能なプレゼンスペダルとを備える。プレゼンスペダルが踏まれていることに基づいて搭乗フロアにオペレータが搭乗していることが検出される。ブレーキペダルおよびプレゼンスペダルは、前後方向Xに垂直な左右方向Yにおいて互いに間隔をあけて設けられる。プレゼンスペダルは、上方から見て前後方向Xに対して斜めに延びる左端縁を有している。
【先行技術文献】
【特許文献】
【0003】
特開2016-047759号公報
【発明の概要】
【発明が解決しようとする課題】
【0004】
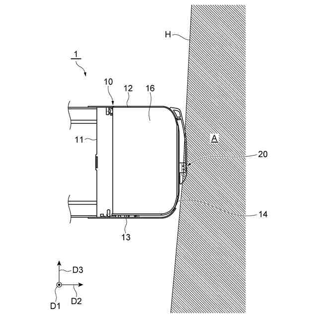
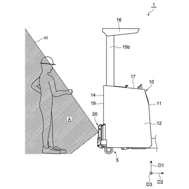
操作者の足等の何らかの物体が産業車両の車体の外にはみ出た場合、操作者だけでなく、周囲の監督者にその旨を報知することが好ましい。しかしながら、例えば工場内のような騒音が比較的大きい場所では、音による報知が周囲の監督者に感知されにくいという問題がある。操作者の指導をその場で実施できるように、車体の外に物体がはみ出たことを周囲の監督者が容易に感知できる技術が望まれている。
【0005】
本開示は、上記課題の解決のためになされたものであり、車体からの物体のはみ出しを周囲の監督者が容易に感知できる産業車両を提供することを目的とする。
【課題を解決するための手段】
【0006】
本開示の要旨は、以下に示すとおりである。
[1]搭乗フロアを有する車体を備えた産業車両であって、前記車体は、報知用の光を出射するランプと、前記車体からの物体のはみ出しを検知するセンサと、前記センサによって前記車体からの前記物体のはみ出しが検知された場合に前記ランプを点灯させる報知処理を実行する制御部と、を有し、前記ランプは、前記車体の周囲から視認可能な位置に配置されている、産業車両。
【0007】
この産業車両では、車体からの物体のはみ出しをセンサが検知した場合に、ランプが点灯し、車体からの物体のはみ出しを報知する。ランプは、車体において、当該車体の周囲から視認可能な位置に設置されている。これにより、ランプの点灯を車両の周囲の監督者に容易に感知させることが可能となる。また、車両の操作者への指導をその場で実施することができる。
【0008】
[2]前記ランプと前記センサとは、前記車体における同一の外壁面に配置されている、[1]記載の産業車両。この場合、センサとランプとが近接することで、他のランプとの混同を抑制でき、車両の周囲の監督者に対して車体からの物体のはみ出しが検知されたことを認識し易くすることができる。
【0009】
[3]前記車体は、前記搭乗フロアの出入口となる開口部を有し、前記ランプと前記センサとは、前記開口部の下部に隣接して配置されている、[1]又は[2]記載の産業車両。この場合、センサとランプとが一層近接することで、他のランプとの混同を抑制でき、車両の周囲の監督者に対して車体からの物体のはみ出しが検知されたことをより確実に認識し易くすることができる。
【0010】
[4]前記ランプと前記センサとは、前記開口部に対して同じ側に配置されている、[3]記載の産業車両。この場合、センサとランプとが一層近接することで、他のランプとの混同を抑制でき、車両の周囲の監督者に対して車体からの物体のはみ出しが検知されたことをより確実に認識し易くすることができる。
(【0011】以降は省略されています)
この特許をJ-PlatPat(特許庁公式サイト)で参照する
関連特許
株式会社豊田自動織機
産業車両
29日前
株式会社豊田自動織機
内燃機関
13日前
株式会社豊田自動織機
トランス
14日前
株式会社豊田自動織機
電源装置
14日前
株式会社豊田自動織機
荷役装置
1か月前
株式会社豊田自動織機
制御装置
13日前
株式会社豊田自動織機
蓄電装置
13日前
株式会社豊田自動織機
トランス
1か月前
株式会社豊田自動織機
操作装置
1か月前
株式会社豊田自動織機
産業車両
今日
株式会社豊田自動織機
車両用灯具
今日
株式会社豊田自動織機
車両制御装置
1か月前
株式会社豊田自動織機
双方向充電器
28日前
株式会社豊田自動織機
排気浄化装置
1か月前
株式会社豊田自動織機
双方向充電器
1か月前
株式会社豊田自動織機
車両上部構造
今日
株式会社豊田自動織機
燃料電池システム
7日前
株式会社豊田自動織機
燃料電池ユニット
1か月前
株式会社豊田自動織機
ターボチャージャ
1か月前
株式会社豊田自動織機
ターボチャージャ
21日前
株式会社豊田自動織機
電力供給システム
26日前
株式会社豊田自動織機
織機用異常検知装置
1か月前
株式会社豊田自動織機
内燃機関の制御装置
27日前
株式会社豊田自動織機
ディーゼルエンジン
5日前
株式会社豊田自動織機
ねじりコイルばね装置
1か月前
株式会社豊田自動織機
内燃機関の制御システム
1か月前
株式会社豊田自動織機
繊維機械の検査システム
1か月前
株式会社豊田自動織機
車両のルーフサイド構造
1か月前
トヨタ自動車株式会社
蓄電池
27日前
株式会社豊田自動織機
車両用熱マネジメントシステム
13日前
株式会社豊田自動織機
繊維構造体および繊維強化複合材
6日前
株式会社豊田自動織機
蓄電装置の製造方法及び蓄電装置
5日前
株式会社豊田自動織機
コア設計装置、及びコア設計方法
今日
株式会社豊田自動織機
内燃機関の吸気温度制御システム
1か月前
株式会社豊田自動織機
繊維構造体、及び繊維強化複合材
1か月前
株式会社豊田自動織機
制御装置、及び燃料電池モジュール
13日前
続きを見る
他の特許を見る