TOP
|
特許
|
意匠
|
商標
特許ウォッチ
Twitter
他の特許を見る
10個以上の画像は省略されています。
公開番号
2025163971
公報種別
公開特許公報(A)
公開日
2025-10-30
出願番号
2024067650
出願日
2024-04-18
発明の名称
織機用異常検知装置
出願人
株式会社豊田自動織機
代理人
個人
,
個人
主分類
D03J
1/24 20060101AFI20251023BHJP(織成)
要約
【課題】カメラによる撮影範囲を一定に保つことができる織機用異常検知装置を提供する。
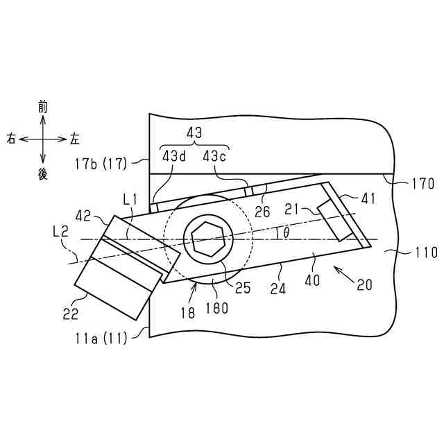
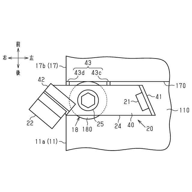
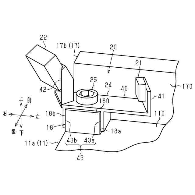
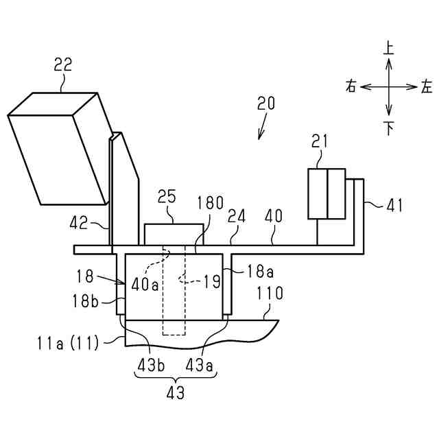
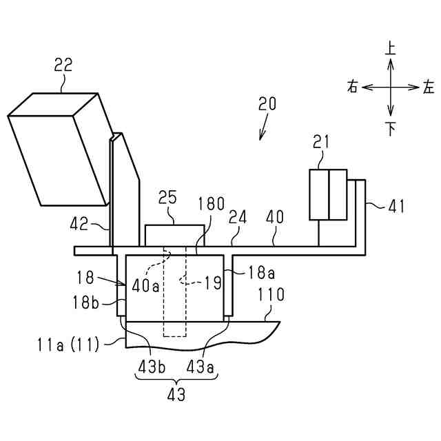
【解決手段】織機用異常検知装置20は、カメラ21と、カメラ21による撮影画像に基づいて織機又は製織の異常を検知する検知部と、カメラ21が固定されるカメラ固定部41を有するブラケット24と、ブラケット24に設けられたボルト挿通孔40aに挿通されるとともに織機のサイドフレーム11aに設けられたアイボルト用のねじ穴19にねじ込まれるボルト25とを備えている。ブラケット24は、織機における位置が変化しない部分である固定部位としての突出部18に当接することにより、ブラケット24の回転を規制する規制部43を有する。
【選択図】図4
特許請求の範囲
【請求項1】
カメラと、
前記カメラによる撮影画像に基づいて織機又は製織の異常を検知する検知部と、
前記カメラが固定されるカメラ固定部を有するブラケットと、
前記ブラケットに設けられたボルト挿通孔に挿通されるとともに、前記織機のサイドフレームに設けられたアイボルト用のねじ穴にねじ込まれるボルトと、
を備える織機の異常検知装置であって、
前記ブラケットは、前記織機における位置が変化しない部分である固定部位に当接することにより、前記ブラケットの回転を規制する規制部を有する織機用異常検知装置。
続きを表示(約 590 文字)
【請求項2】
前記カメラによる撮影範囲を照らす光源を備え、
前記ブラケットは、前記光源が固定される光源固定部を有する請求項1に記載の織機用異常検知装置。
【請求項3】
前記サイドフレームは、上面から突出する前記固定部位としての突出部を有し、
前記突出部は、平面視で矩形状であり、
前記ねじ穴は、前記突出部の先端面において開口しており、
前記規制部は、前記突出部の側面に当接することにより、前記ブラケットの回転を規制する請求項1に記載の織機用異常検知装置。
【請求項4】
前記規制部は、一対の規制板によって構成され、
前記一対の規制板は、前記突出部を挟み込むように設けられている請求項3に記載の織機用異常検知装置。
【請求項5】
前記織機は、前記サイドフレームに設けられた前記固定部位としての操作部を有し、
前記規制部は、前記操作部の筐体の背面に当接することにより、前記ブラケットの回転を規制する請求項1に記載の織機用異常検知装置。
【請求項6】
前記規制部と前記固定部位との間において前記規制部及び前記固定部位のそれぞれと当接するように配置され、前記織機の左右方向に対する前記ブラケットの角度を調整する調整部材を備える請求項1に記載の織機用異常検知装置。
発明の詳細な説明
【技術分野】
【0001】
本発明は、織機用異常検知装置に関する。
続きを表示(約 1,800 文字)
【背景技術】
【0002】
カメラと、カメラによる撮影画像に基づいて織機又は製織の異常を検知する検知部とを備える織機用異常検知装置が知られている。例えば、特許文献1には、経糸の開口不良を検知する織機の開口不良検知装置が開示されている。織機の開口不良検知装置では、カメラは、織機の一対のサイドフレームのうち、織機の幅方向の一方側に位置するサイドフレームに取り付けられている。カメラは、織機の幅方向の一方側から他方側に向かって撮影を行う。
【先行技術文献】
【特許文献】
【0003】
特開2020-196972号公報
【発明の概要】
【発明が解決しようとする課題】
【0004】
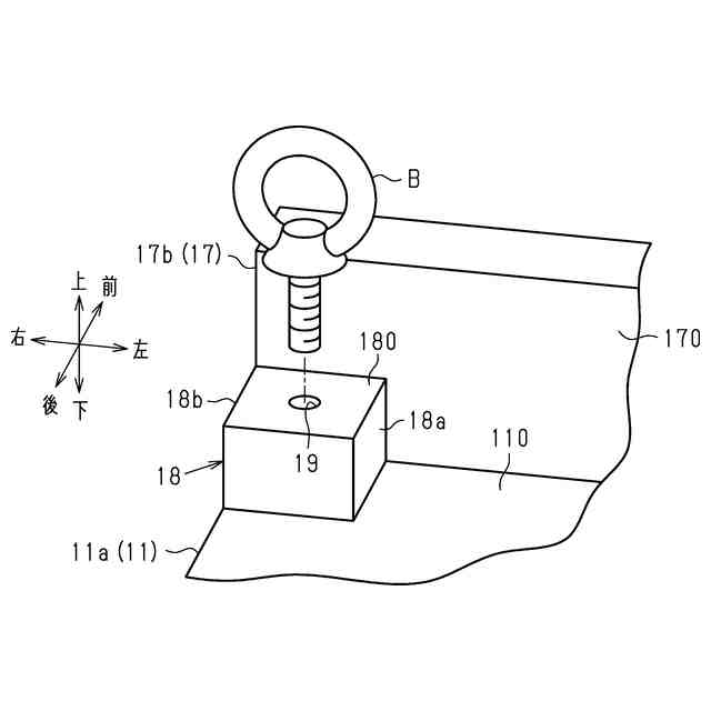
一般に、一対のサイドフレームにはそれぞれ、織機の運搬時に使用されるアイボルト用のねじ穴が設けられている。カメラをサイドフレームに取り付ける場合、例えば、アイボルト用のねじ穴に対してボルトによりカメラを固定することが考えられる。
【0005】
しかしながら、織機の運転中にカメラによる撮影が連続して行われる場合、織機の振動によってカメラによる撮影範囲がずれることがある。この場合、撮影画像の画像処理や織機の運転期間中での撮影画像の比較が行いにくくなる。また、織機用異常検知装置が複数の織機において使い回される場合、カメラによる撮影範囲が織機毎に異なっていると、複数の織機間での撮影画像の比較が行いにくくなる。
【課題を解決するための手段】
【0006】
上記問題点を解決するための織機用異常検知装置は、カメラと、前記カメラによる撮影画像に基づいて織機又は製織の異常を検知する検知部と、前記カメラが固定されるカメラ固定部を有するブラケットと、前記ブラケットに設けられたボルト挿通孔に挿通されるとともに、前記織機のサイドフレームに設けられたアイボルト用のねじ穴にねじ込まれるボルトと、を備える織機の異常検知装置であって、前記ブラケットは、前記織機における位置が変化しない部分である固定部位に当接することにより、前記ブラケットの回転を規制する規制部を有することを要旨とする。
【0007】
上記構成によれば、ブラケットがボルトを中心にサイドフレームに対して回転しようとすると、規制部が織機の固定部位に当接することにより、ブラケットの回転が規制される。このため、ブラケットのカメラ固定部に固定されたカメラの回転も規制される。したがって、カメラによる撮影範囲を一定に保つことができる。その結果、織機の運転中にカメラによる撮影が連続して行われても、カメラによる撮影範囲がずれにくいため、撮影画像の画像処理や織機の運転期間中での撮影画像の比較が行いやすくなる。また、織機用異常検知装置が複数の織機において使い回される場合には、カメラによる撮影範囲が織機毎にばらつきにくくなるため、複数の織機間での撮影画像の比較が行いやすくなる。
【0008】
上記織機用異常検知装置において、前記カメラによる撮影範囲を照らす光源を備え、前記ブラケットは、前記光源が固定される光源固定部を有してもよい。
上記構成によれば、規制部によってブラケットの回転が規制されることにより、ブラケットの光源固定部に固定された光源の回転も規制される。したがって、光源が照らす範囲を一定に保つことができる。また、カメラと光源との位置関係を一定に保つことができる。
【0009】
上記織機用異常検知装置において、前記サイドフレームは、上面から突出する前記固定部位としての突出部を有し、前記突出部は、平面視で矩形状であり、前記ねじ穴は、前記突出部の先端面において開口しており、前記規制部は、前記突出部の側面に当接することにより、前記ブラケットの回転を規制してもよい。
【0010】
上記構成によれば、規制部は、固定部位としての突出部の側面に当接することにより、ブラケットの回転を規制する。突出部は、アイボルトの先端部が挿入される部分として以前からサイドフレームに設けられている織機の既存の構成である。このため、織機に対して固定部位を新たに設けなくても済む。したがって、織機用異常検知装置を既存の織機において用いることができる。
(【0011】以降は省略されています)
この特許をJ-PlatPat(特許庁公式サイト)で参照する
関連特許
株式会社豊田自動織機
荷役装置
5日前
株式会社豊田自動織機
産業車両
今日
株式会社豊田自動織機
操作装置
13日前
株式会社豊田自動織機
トランス
13日前
株式会社豊田自動織機
車両制御装置
11日前
株式会社豊田自動織機
双方向充電器
18日前
株式会社豊田自動織機
排気浄化装置
14日前
株式会社豊田自動織機
ターボチャージャ
5日前
株式会社豊田自動織機
燃料電池ユニット
11日前
株式会社豊田自動織機
織機用異常検知装置
5日前
株式会社豊田自動織機
車両のルーフサイド構造
14日前
株式会社豊田自動織機
内燃機関の制御システム
21日前
株式会社豊田自動織機
繊維機械の検査システム
5日前
株式会社豊田自動織機
繊維構造体、及び繊維強化複合材
5日前
株式会社豊田自動織機
内燃機関の吸気温度制御システム
5日前
株式会社豊田自動織機
燃料電池システム及びフォークリフト
20日前
トヨタ自動車株式会社
蓄電装置の製造方法
8日前
トヨタ自動車株式会社
バイポーラ型蓄電装置
11日前
トヨタ自動車株式会社
二次電池及び二次電池の制御方法
7日前
株式会社豊田自動織機
車両用の充電システム、充電回路、充電装置、および電圧の制御方法
14日前
川端有限会社
織物
3か月前
東レ株式会社
炭素繊維織物
5か月前
東レ株式会社
織物および繊維製品
3か月前
山崎産業株式会社
織物及び拭布
1か月前
東レ株式会社
織物およびシート表皮材
1か月前
東レ株式会社
織物および織物プリプレグ
1か月前
東レ株式会社
織物および織物の製造方法
5か月前
東レ・デュポン株式会社
交織織物
3か月前
ユニチカトレーディング株式会社
白色織物
26日前
ユニチカトレーディング株式会社
撥水性織物
11日前
東レ株式会社
織編物、衣類及び織編物の製造方法
4か月前
株式会社豊田自動織機
エアジェット織機
4か月前
帝人株式会社
高視認性難燃布帛および繊維製品
1か月前
個人
リバーシブル対応ダブルパイル仕立てのタオル生地
3か月前
株式会社豊田自動織機
織機用異常検知装置
5日前
合名会社安田商店
内装織物および内装織物の製造方法
4か月前
続きを見る
他の特許を見る