TOP
|
特許
|
意匠
|
商標
特許ウォッチ
Twitter
他の特許を見る
公開番号
2025168840
公報種別
公開特許公報(A)
公開日
2025-11-12
出願番号
2024073639
出願日
2024-04-30
発明の名称
ターボチャージャ
出願人
株式会社豊田自動織機
代理人
弁理士法人深見特許事務所
主分類
F02B
37/24 20060101AFI20251105BHJP(燃焼機関;熱ガスまたは燃焼生成物を利用する機関設備)
要約
【課題】可変ノズルユニットの開度が大きな領域における流量特性のばらつきを低減することが可能なターボチャージャを提供する。
【解決手段】ターボチャージャは、タービンホイール4と、可変ノズルユニット20と、駆動レバー31と、駆動軸32と、駆動アクチュエータ40と、ロッド50と、リンク60と、を備える。駆動アクチュエータ40は、アクチュエータ本体42と、アクチュエータレバー44と、を含む。ロッド50は、アクチュエータ側端部51と、リンク側端部52と、を有する。リンク60は、駆動軸接続部61と、ロッド接続部62と、を含む。アクチュエータレバー44、ロッド50及びリンク60の少なくとも1つは、出力軸42aとアクチュエータ側端部51との間の長さに対する、駆動軸32とリンク側端部52との間の長さの比を変更可能な変更部を含む。
【選択図】図2
特許請求の範囲
【請求項1】
タービンホイールと、
排ガスの排気流路の流路面積の大きさを調整可能な可変ノズルユニットと、
前記可変ノズルユニットを駆動する駆動レバーと、
前記駆動レバーに接続された駆動軸であって、当該駆動軸の中心軸まわりに前記駆動レバーとともに回転する前記駆動軸と、
前記可変ノズルユニットを駆動するための駆動アクチュエータと、
前記駆動アクチュエータに接続されたロッドと、
前記ロッドと前記駆動軸とを連結するリンクと、を備え、
前記駆動アクチュエータは、
出力軸を有するアクチュエータ本体と、
前記出力軸に接続されており、前記出力軸まわりに回動可能なアクチュエータレバーと、を含み、
前記ロッドは、
前記アクチュエータレバーに対して相対回転可能となるように前記アクチュエータレバーに接続されたアクチュエータ側端部と、
前記リンクに対して相対回転可能となるように前記リンクに接続されたリンク側端部と、を有し、
前記リンクは、
前記駆動軸に接続された駆動軸接続部と、
前記リンク側端部に接続されたロッド接続部と、を含み、
前記アクチュエータレバー、前記ロッド及び前記リンクの少なくとも1つは、前記アクチュエータ本体の前記出力軸と前記アクチュエータ側端部との間の長さに対する、前記駆動軸と前記リンク側端部との間の長さの比を変更可能な変更部を含む、ターボチャージャ。
続きを表示(約 500 文字)
【請求項2】
前記ロッド接続部は、前記変更部を構成しており、
前記ロッド接続部は、それぞれが前記リンク側端部と接続可能な複数の接続部を含み、
前記複数の接続部の各々と前記駆動軸接続部との間の長さは、互いに異なる、請求項1に記載のターボチャージャ。
【請求項3】
前記アクチュエータ側端部は、前記変更部を構成しており、
前記アクチュエータ側端部は、それぞれが前記アクチュエータレバーと接続可能な複数の接続部を含み、
前記複数の接続部の各々と前記リンク側端部との間の長さは、互いに異なる、請求項1に記載のターボチャージャ。
【請求項4】
前記アクチュエータレバーは、
前記出力軸に接続された軸接続部と、
前記アクチュエータ側端部に接続されたピンと、を有し、
前記軸接続部は、前記変更部を構成しており、
前記軸接続部は、それぞれが前記アクチュエータ本体の前記出力軸に接続可能な複数の接続部を含み、
前記複数の接続部の各々と前記ピンとの間の長さは、互いに異なる、請求項1に記載のターボチャージャ。
発明の詳細な説明
【技術分野】
【0001】
この発明は、ターボチャージャに関する。
続きを表示(約 1,900 文字)
【背景技術】
【0002】
従来、流量の調整が可能なターボチャージャが知られている。例えば、特開2013-124581号公報には、排気タービンと、バリアブルノズルと、アームと、動力伝達部材と、アクチュエータと、ストッパ部材と、を備える可変容量ターボチャージャが開示されている。バリアブルノズルの開度は、アームがストッパ部材に当接する位置において最も小さくなるように設定されている。このターボチャージャでは、アームとストッパ部材との当接位置を調整することにより、バリアブルノズルの開度が最も小さくなる点(全閉点)のばらつきが調整されている。
【先行技術文献】
【特許文献】
【0003】
特開2013-124581号公報
【発明の概要】
【発明が解決しようとする課題】
【0004】
特開2013-124581号公報に記載されるようなターボチャージャでは、バリアブルノズルの流量特性(バリアブルノズルの開度の増大量に対する流量の増大量の割合)には個体差があり、また、流量特性のばらつきは、バリアブルノズルの開度が大きくなるにしたがって大きくなる場合がある。このため、アームとストッパ部材との当接位置(全閉点)の調整のみでは、特にバリアブルノズルの開度が大きな領域における流量特性のばらつきを吸収しきれない懸念がある。
【0005】
本発明の目的は、可変ノズルユニットの開度が大きな領域における流量特性のばらつきを低減することが可能なターボチャージャを提供することである。
【課題を解決するための手段】
【0006】
この開示の一局面に従ったターボチャージャは、タービンホイールと、排ガスの排気流路の流路面積の大きさを調整可能な可変ノズルユニットと、前記可変ノズルユニットを駆動する駆動レバーと、前記駆動レバーに接続された駆動軸であって、当該駆動軸の中心軸まわりに前記駆動レバーとともに回転する前記駆動軸と、前記可変ノズルユニットを駆動するための駆動アクチュエータと、前記駆動アクチュエータに接続されたロッドと、前記ロッドと前記駆動軸とを連結するリンクと、を備え、前記駆動アクチュエータは、出力軸を有するアクチュエータ本体と、前記出力軸に接続されており、前記出力軸まわりに回動可能なアクチュエータレバーと、を含み、前記ロッドは、前記アクチュエータレバーに対して相対回転可能となるように前記アクチュエータレバーに接続されたアクチュエータ側端部と、前記リンクに対して相対回転可能となるように前記リンクに接続されたリンク側端部と、を有し、前記リンクは、前記駆動軸に接続された駆動軸接続部と、前記リンク側端部に接続されたロッド接続部と、を含み、前記アクチュエータレバー、前記ロッド及び前記リンクの少なくとも1つは、前記アクチュエータ本体の前記出力軸と前記アクチュエータ側端部との間の長さに対する、前記駆動軸と前記リンク側端部との間の長さの比を変更可能な変更部を含む。
【発明の効果】
【0007】
この開示によれば、可変ノズルユニットの開度が大きな領域における流量特性のばらつきを低減することが可能なターボチャージャを提供することができる。
【図面の簡単な説明】
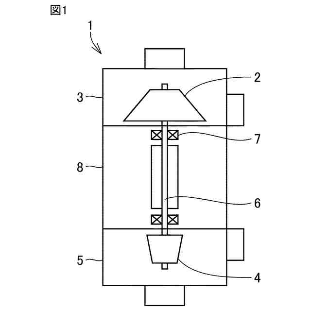
【0008】
本開示の一実施形態のターボチャージャの構成を概略的に示す図である。
ターボチャージャの一部の構成を概略的に示す平面図である。
リンクの平面図である。
アクチュエータ本体の出力軸とアクチュエータ側端部との間の長さと、駆動軸とリンク側端部との間の長さと、の関係を概略的に示す図である。
ロッドの変形例を概略的に示す図である。
アクチュエータレバーの変形例を概略的に示す図である。
【発明を実施するための形態】
【0009】
この発明の実施の形態について、図面を参照して説明する。なお、以下で参照する図面では、同一またはそれに相当する部材には、同じ番号が付されている。
【0010】
図1は、本開示の一実施形態のターボチャージャの構成を概略的に示す図である。図1に示されるように、ターボチャージャ1は、コンプレッサホイール2と、コンプレッサハウジング3と、タービンホイール4と、タービンハウジング5、シャフト6、ベアリング7と、ベアリングハウジング8と、を備えている。このターボチャージャ1は、自動車等の車両に搭載される。
(【0011】以降は省略されています)
特許ウォッチbot のツイートを見る
この特許をJ-PlatPat(特許庁公式サイト)で参照する
関連特許
株式会社豊田自動織機
解繊機
5日前
株式会社豊田自動織機
産業車両
1か月前
株式会社豊田自動織機
蓄電装置
20日前
株式会社豊田自動織機
制御装置
20日前
株式会社豊田自動織機
電源装置
21日前
株式会社豊田自動織機
トランス
21日前
株式会社豊田自動織機
産業車両
7日前
株式会社豊田自動織機
内燃機関
20日前
株式会社豊田自動織機
車両用灯具
7日前
株式会社豊田自動織機
車両上部構造
7日前
株式会社豊田自動織機
排気浄化装置
6日前
株式会社豊田自動織機
双方向充電器
1か月前
株式会社豊田自動織機
障害物検出装置
5日前
株式会社豊田自動織機
電力供給システム
1か月前
株式会社豊田自動織機
ターボチャージャ
28日前
株式会社豊田自動織機
燃料電池システム
14日前
株式会社豊田自動織機
内燃機関の制御装置
1か月前
株式会社豊田自動織機
ディーゼルエンジン
12日前
株式会社豊田自動織機
蓄電モジュール製造方法
1日前
株式会社豊田自動織機
車両用熱マネジメントシステム
20日前
トヨタ自動車株式会社
蓄電池
1か月前
株式会社豊田自動織機
繊維構造体および繊維強化複合材
13日前
株式会社豊田自動織機
蓄電装置の製造方法及び蓄電装置
12日前
株式会社豊田自動織機
コア設計装置、及びコア設計方法
7日前
株式会社豊田自動織機
制御装置、及び燃料電池モジュール
20日前
株式会社豊田自動織機
多孔質クラスレートシリコンの製造方法
12日前
トヨタ自動車株式会社
蓄電モジュール
1か月前
株式会社豊田自動織機
電子制御装置および電子制御装置の起動方法
7日前
株式会社豊田自動織機
物流システムの物品配置システムおよび倉庫システム
6日前
株式会社豊田自動織機
内燃機関の制御装置および内燃機関の失火異常検出方法
5日前
株式会社豊田自動織機
シリコンクラスレートIIを含む負極活物質の製造方法
20日前
株式会社豊田自動織機
産業車両のヘッドガード、産業車両及び産業車両の屋根部材
28日前
株式会社アルテックス
ダイカスト装置及び鋳造品の製造方法
1か月前
株式会社豊田中央研究所
二酸化炭素回収システム
1日前
個人
擬似オイル発電装置
26日前
個人
ガバナー
13日前
続きを見る
他の特許を見る