TOP
|
特許
|
意匠
|
商標
特許ウォッチ
Twitter
他の特許を見る
10個以上の画像は省略されています。
公開番号
2025173417
公報種別
公開特許公報(A)
公開日
2025-11-27
出願番号
2024079000
出願日
2024-05-14
発明の名称
繊維構造体および繊維強化複合材
出願人
株式会社豊田自動織機
代理人
主分類
D03D
11/00 20060101AFI20251119BHJP(織成)
要約
【課題】繊維構造体を切断しても、切断部からのほつれを抑制することが可能な繊維構造体および繊維強化複合材を提供する。
【解決手段】複数の繊維層は、複数の第1糸層と、第1糸層同士の積層方向Zにおける間に位置する第2糸層と、を備え、第1糸層は、第1方向に延びる第1糸が第1方向に直交する第2方向に複数配列されており、第2糸層は、第1糸に対して交絡せずに第2方向に延びる第2糸が第1方向Xに複数配列され、かつ、繊維構造体11の積層方向Zの両端部に位置しており、層間結合糸17は、第2方向Yにおいて第1糸に隣接し、第1方向に延びるとともに、積層方向Zの両端部に位置する第2糸層の第2糸に交絡し、層間結合糸17は、積層方向Zの両端部に位置する第2糸層の間に位置する第2糸層の第2糸に交絡し、かつ、切断部Sを含む切断予定領域RAにおける積層方向Zの両端部に位置する第2糸層の間に位置する第2糸層の第2糸に交絡する。
【選択図】 図3
特許請求の範囲
【請求項1】
積層方向に積層された複数の繊維層と、複数の前記繊維層を前記積層方向に結合する層間結合糸と、を備える繊維構造体であって、
複数の前記繊維層は、
複数の第1糸層と、
前記第1糸層同士の前記積層方向における間に位置する第2糸層と、を備え、
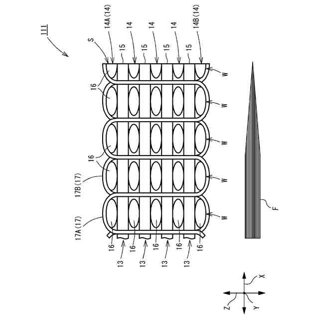
前記第1糸層は、第1方向に糸主軸が延びる第1糸が前記第1方向に直交する第2方向に複数配列されており、
前記第2糸層は、前記第1糸に対して交絡せずに前記第2方向に糸主軸が延びる第2糸が前記第1方向に複数配列され、かつ、前記繊維構造体の前記積層方向の両端部に位置しており、
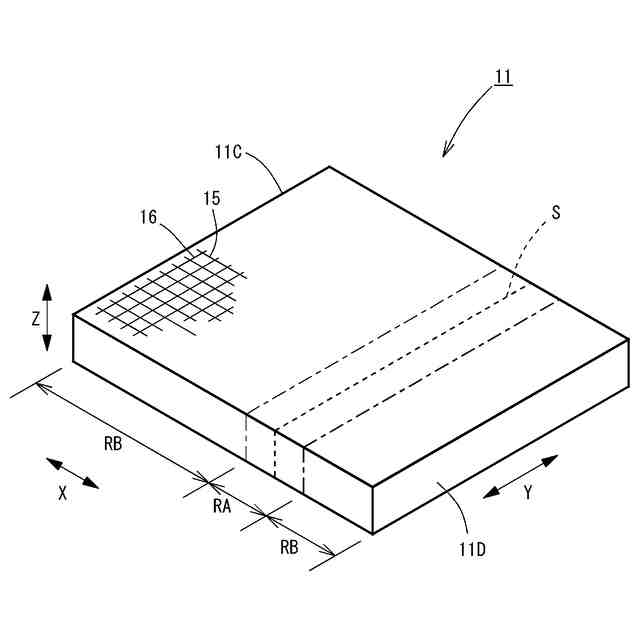
前記層間結合糸は、前記第2方向において前記第1糸に隣接し、前記第1方向に糸主軸が延びるとともに、前記積層方向の両端部に位置する前記第2糸層の前記第2糸に交絡し、かつ、前記第1方向と交差する方向に切断が予定される切断部を含む切断予定領域における前記積層方向の両端部に位置する前記第2糸層の間に位置する前記第2糸層の前記第2糸に交絡することを特徴とする繊維構造体。
続きを表示(約 320 文字)
【請求項2】
前記第1方向において前記切断予定領域を除く非切断領域を有し、
前記層間結合糸は、前記非切断領域における前記積層方向の両端部に位置する前記第2糸層の間に位置する前記第2糸層の前記第2糸と交絡しないことを特徴とする請求項1記載の繊維構造体。
【請求項3】
前記第1糸および前記第2糸のうちの少なくとも一方は紡績糸であり、前記層間結合糸は連続糸であることを特徴とする請求項1又は2記載の繊維構造体。
【請求項4】
繊維構造体にマトリックス樹脂を含浸させて構成される繊維強化複合材であって、
繊維構造体は、請求項1~3のいずれか一項記載の繊維構造体であることを特徴とする繊維強化複合材。
発明の詳細な説明
【技術分野】
【0001】
この発明は、繊維構造体および繊維強化複合体に関する。
続きを表示(約 2,000 文字)
【背景技術】
【0002】
繊維構造体および繊維強化複合体の従来技術としては、例えば、特許文献1に開示された繊維構造体および繊維強化複合材が知られている。特許文献1に開示された繊維構造体では、複数の繊維層は、第1方向に糸主軸が延びる第1糸が第2方向に複数配列された複数の第1糸層と、第1糸に対して交絡せずに第2方向に糸主軸が延びる第2糸が第1方向に複数配列された第2糸層と、を備える。第2糸層は、中央領域の端部に位置する第2糸である端第2糸を有する。端部領域に位置する複数の層間結合糸は、第1方向に直交する繊維構造体の断面において互いに異なる経路を通って第1糸に対して交絡する2本の層間結合糸を含む。端部領域における層間結合糸同士の第1方向のピッチ間隔は、中央領域における層間結合糸同士の第1方向のピッチ間隔よりも小さい。
【0003】
この繊維構造体によれば、繊維構造体の製造に係る工数増大を抑制しつつ、繊維構造体の端部からのほつれが抑制される。
【先行技術文献】
【特許文献】
【0004】
特開2023-160586号公報
【発明の概要】
【発明が解決しようとする課題】
【0005】
しかしながら、特許文献1に開示された繊維構造体では、層間結合糸は積層方向における両端の第1糸と交絡しているだけであり、例えば、繊維構造体を第1糸に沿って切断すると、切断部の付近では、層間結合糸の張力が失われてほつれが生じるという問題がある。なお、切断部の付近で、層間結合糸同士の第1方向のピッチ間隔を小さくしておくことも考えられるが、ピッチ間隔を小さくすることは、層間結合糸の数の増大を招く。
【0006】
本発明は上記の問題点に鑑みてなされたもので、本発明の目的は、繊維構造体を切断しても、切断部からのほつれを抑制することが可能な繊維構造体および繊維強化複合材の提供にある。
【課題を解決するための手段】
【0007】
上記の課題を解決するために、本発明は、積層方向に積層された複数の繊維層と、複数の前記繊維層を前記積層方向に結合する層間結合糸と、を備える繊維構造体であって、複数の前記繊維層は、複数の第1糸層と、前記第1糸層同士の前記積層方向における間に位置する第2糸層と、を備え、前記第1糸層は、第1方向に糸主軸が延びる第1糸が前記第1方向に直交する第2方向に複数配列されており、前記第2糸層は、前記第1糸に対して交絡せずに前記第2方向に糸主軸が延びる第2糸が前記第1方向に複数配列され、かつ、前記繊維構造体の前記積層方向の両端部に位置しており、前記層間結合糸は、前記第2方向において前記第1糸に隣接し、前記第1方向に糸主軸が延びるとともに、前記積層方向の両端部に位置する前記第2糸層の前記第2糸に交絡し、かつ、前記第1方向と交差する方向に切断が予定される切断部を含む切断予定領域における前記積層方向の両端部に位置する前記第2糸層の間に位置する前記第2糸層の前記第2糸に交絡することを特徴とする。
【0008】
本発明では、切断が予定される切断部を含む切断予定領域では、層間結合糸は、積層方向の両端部に位置する第2糸層の間に位置する第2糸層の第2糸に交絡する。このため、繊維構造体が切断予定部で第1方向と交差する方向に切断されても、層間結合糸には切断部から近い位置で張力が残存する。つまり、積層方向の両端部に位置する第2糸層の間に位置する第2糸層において層間結合糸と交絡される第2糸を増やすことで、第2糸の切断部からの脱落によるほつれを抑制できる。
【0009】
また、上記の繊維構造体において、前記第1方向において前記切断予定領域を除く非切断領域を有し、前記層間結合糸は、前記非切断領域における前記積層方向の両端部に位置する前記第2糸層の間に位置する前記第2糸層の前記第2糸と交絡しない構成としてもよい。
この場合、切断されない非切断領域では、層間結合糸は、積層方向の両端部に位置する第2糸層の間に位置する第2糸層の第2糸と交絡しないので、繊維構造体を製作し易くなる。
【0010】
また、上記の繊維構造体において、前記第1糸および前記第2糸のうちの少なくとも一方は紡績糸であり、前記層間結合糸は連続糸である構成としてもよい。
この場合、第1糸および第2糸のうちの少なくとも一方が紡績糸であることで、切断部に位置する第2糸が第1糸および層間結合糸に対して位置ずれし難くなる。また、層間結合糸が連続糸であることで張力を大きくして第2糸層の積層方向の押し付け力を強くすることが可能となる。その結果、切断部における第2糸をより脱落し難くする。
(【0011】以降は省略されています)
この特許をJ-PlatPat(特許庁公式サイト)で参照する
関連特許
株式会社豊田自動織機
産業車両
24日前
株式会社豊田自動織機
荷役装置
29日前
株式会社豊田自動織機
トランス
9日前
株式会社豊田自動織機
電源装置
9日前
株式会社豊田自動織機
蓄電装置
8日前
株式会社豊田自動織機
内燃機関
8日前
株式会社豊田自動織機
制御装置
8日前
株式会社豊田自動織機
双方向充電器
23日前
株式会社豊田自動織機
ターボチャージャ
16日前
株式会社豊田自動織機
電力供給システム
21日前
株式会社豊田自動織機
燃料電池システム
2日前
株式会社豊田自動織機
ターボチャージャ
29日前
株式会社豊田自動織機
織機用異常検知装置
29日前
株式会社豊田自動織機
ディーゼルエンジン
今日
株式会社豊田自動織機
内燃機関の制御装置
22日前
株式会社豊田自動織機
繊維機械の検査システム
29日前
トヨタ自動車株式会社
蓄電池
22日前
株式会社豊田自動織機
車両用熱マネジメントシステム
8日前
株式会社豊田自動織機
繊維構造体、及び繊維強化複合材
29日前
株式会社豊田自動織機
内燃機関の吸気温度制御システム
29日前
株式会社豊田自動織機
蓄電装置の製造方法及び蓄電装置
今日
株式会社豊田自動織機
繊維構造体および繊維強化複合材
1日前
株式会社豊田自動織機
制御装置、及び燃料電池モジュール
8日前
トヨタ自動車株式会社
蓄電モジュール
22日前
株式会社豊田自動織機
多孔質クラスレートシリコンの製造方法
今日
トヨタ自動車株式会社
蓄電装置の製造方法
1か月前
株式会社豊田自動織機
シリコンクラスレートIIを含む負極活物質の製造方法
8日前
トヨタ自動車株式会社
二次電池及び二次電池の制御方法
1か月前
株式会社豊田自動織機
産業車両のヘッドガード、産業車両及び産業車両の屋根部材
16日前
株式会社アルテックス
ダイカスト装置及び鋳造品の製造方法
22日前
川端有限会社
織物
3か月前
東レ株式会社
織物および繊維製品
3か月前
東レ株式会社
織物およびシート表皮材
2か月前
山崎産業株式会社
織物及び拭布
2か月前
東レ・デュポン株式会社
交織織物
4か月前
東レ株式会社
織物および織物プリプレグ
2か月前
続きを見る
他の特許を見る