TOP
|
特許
|
意匠
|
商標
特許ウォッチ
Twitter
他の特許を見る
公開番号
2025170988
公報種別
公開特許公報(A)
公開日
2025-11-20
出願番号
2024075906
出願日
2024-05-08
発明の名称
制御装置、及び燃料電池モジュール
出願人
株式会社豊田自動織機
代理人
個人
,
個人
主分類
H01M
8/04664 20160101AFI20251113BHJP(基本的電気素子)
要約
【課題】循環ポンプの空転を検知すること。
【解決手段】プロセッサは、予め設定された調整条件が成立しているか否かを判定する。プロセッサは、調整条件が成立している場合、循環ポンプの回転数と循環ポンプの実消費電力との対応関係を取得する。プロセッサは、循環ポンプの回転数に対応する基準消費電力マップの消費電力と実消費電力との差を算出する。プロセッサは、この差から圧力損失を推定する。プロセッサは、圧力損失から循環ポンプの回転数に対応するオフセット量を算出する。プロセッサは、循環ポンプの回転数に対応する閾値をオフセット量だけオフセットすることで調整後マップを作成する。プロセッサは、調整後マップによって循環ポンプの空転を検知する。
【選択図】図3
特許請求の範囲
【請求項1】
燃料電池スタックと、
前記燃料電池スタックを冷却可能な液状の冷媒が通過するとともに冷却装置を接続可能に構成される接続部と、
前記接続部及び前記冷却装置を含む循環経路に前記冷媒を循環させる循環ポンプと、を備える燃料電池モジュールの制御装置であって、
前記制御装置は、
プロセッサと、
記憶媒体と、を備え、
前記記憶媒体は、
前記冷却装置として接続されることが想定される想定冷却装置が前記接続部に接続されている場合の基準消費電力マップであって前記循環ポンプの回転数と前記循環ポンプの消費電力とを対応付けた基準消費電力マップと、
前記想定冷却装置が前記接続部に接続されている場合の基準閾値マップであって前記循環ポンプの回転数と前記循環ポンプの空転を検知するための閾値とを対応付けた基準閾値マップと、を記憶し、
前記プロセッサは、
予め設定された調整条件が成立しているか否かを判定し、
前記調整条件が成立している場合、前記循環ポンプの回転数を変更しながら前記循環ポンプの実消費電力を取得することで、前記循環ポンプの回転数と前記実消費電力との対応関係を取得し、
前記基準消費電力マップと前記対応関係とを比較することで、前記循環ポンプの回転数に対応する前記消費電力と前記実消費電力との差を算出し、
前記差から圧力損失を推定し、
前記圧力損失から前記循環ポンプの回転数に対応するオフセット量を算出し、
前記循環ポンプの回転数に対応する前記閾値を前記オフセット量だけオフセットすることで調整後マップを作成し、
前記調整後マップによって前記循環ポンプの空転を検知する、制御装置。
続きを表示(約 870 文字)
【請求項2】
前記燃料電池モジュールは、前記冷媒の温度を検出する温度センサを備え、
前記プロセッサは、前記冷媒の温度域毎に前記調整後マップを作成する、請求項1に記載の制御装置。
【請求項3】
燃料電池スタックと、
前記燃料電池スタックを冷却可能な液状の冷媒が通過するとともに冷却装置を接続可能に構成される接続部と、
前記接続部及び前記冷却装置を含む循環経路に前記冷媒を循環させる循環ポンプと、
制御装置と、を備える燃料電池モジュールであって、
前記制御装置は、
プロセッサと、
記憶媒体と、を備え、
前記記憶媒体は、
前記冷却装置として接続されることが想定される想定冷却装置が前記接続部に接続されている場合の基準消費電力マップであって前記循環ポンプの回転数と前記循環ポンプの消費電力とを対応付けた基準消費電力マップと、
前記想定冷却装置が前記接続部に接続されている場合の基準閾値マップであって前記循環ポンプの回転数と前記循環ポンプの空転を検知するための閾値とを対応付けた基準閾値マップと、を記憶し、
前記プロセッサは、
予め設定された調整条件が成立しているか否かを判定し、
前記調整条件が成立している場合、前記循環ポンプの回転数を変更しながら前記循環ポンプの実消費電力を取得することで、前記循環ポンプの回転数と前記実消費電力との対応関係を取得し、
前記基準消費電力マップと前記対応関係とを比較することで、前記循環ポンプの回転数に対応する前記消費電力と前記実消費電力との差を算出し、
前記差から圧力損失を推定し、
前記圧力損失から前記循環ポンプの回転数に対応するオフセット量を算出し、
前記循環ポンプの回転数に対応する前記閾値を前記オフセット量だけオフセットすることで調整後マップを作成し、
前記調整後マップによって前記循環ポンプの空転を検知する、燃料電池モジュール。
発明の詳細な説明
【技術分野】
【0001】
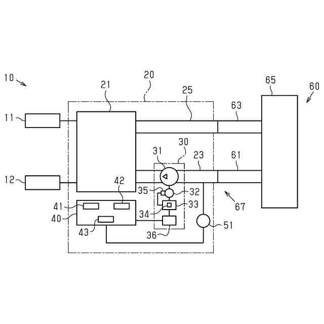
本開示は、制御装置、及び燃料電池モジュールに関する。
続きを表示(約 2,500 文字)
【背景技術】
【0002】
特許文献1に開示の燃料電池システムは、燃料電池スタックと、冷却系と、制御装置と、を備える。冷却系は、ラジエータと、配管と、循環ポンプと、を備える。配管は、燃料電池スタックとラジエータとを接続している。循環ポンプは、燃料電池スタック、配管、及びラジエータに冷媒を循環させる。これにより、燃料電池スタックは冷却される。制御装置は、循環ポンプの消費電力の検出値と、循環ポンプの消費電力の推定値と、に基づいて冷却系の異常を判定する。例えば、配管につぶれが生じた場合、循環ポンプが空転することで消費電力が小さくなる。制御装置は、循環ポンプの空転を検知することで冷却系の異常を判定する。
【先行技術文献】
【特許文献】
【0003】
特開2009-170378号公報
【発明の概要】
【発明が解決しようとする課題】
【0004】
循環ポンプの消費電力は、冷却系での圧力損失によって異なる。このため、ラジエータや配管の変更によって冷却系の圧力損失が変化した場合、循環ポンプの空転を検知できない場合がある。
【課題を解決するための手段】
【0005】
上記課題を解決する制御装置は、燃料電池スタックと、前記燃料電池スタックを冷却可能な液状の冷媒が通過するとともに冷却装置を接続可能に構成される接続部と、前記接続部及び前記冷却装置を含む循環経路に前記冷媒を循環させる循環ポンプと、を備える燃料電池モジュールの制御装置であって、前記制御装置は、プロセッサと、記憶媒体と、を備え、前記記憶媒体は、前記冷却装置として接続されることが想定される想定冷却装置が前記接続部に接続されている場合の基準消費電力マップであって前記循環ポンプの回転数と前記循環ポンプの消費電力とを対応付けた基準消費電力マップと、前記想定冷却装置が前記接続部に接続されている場合の基準閾値マップであって前記循環ポンプの回転数と前記循環ポンプの空転を検知するための閾値とを対応付けた基準閾値マップと、を記憶し、前記プロセッサは、予め設定された調整条件が成立しているか否かを判定し、前記調整条件が成立している場合、前記循環ポンプの回転数を変更しながら前記循環ポンプの実消費電力を取得することで、前記循環ポンプの回転数と前記実消費電力との対応関係を取得し、前記基準消費電力マップと前記対応関係とを比較することで、前記循環ポンプの回転数に対応する前記消費電力と前記実消費電力との差を算出し、前記差から圧力損失を推定し、前記圧力損失から前記循環ポンプの回転数に対応するオフセット量を算出し、前記循環ポンプの回転数に対応する前記閾値を前記オフセット量だけオフセットすることで調整後マップを作成し、前記調整後マップによって前記循環ポンプの空転を検知する。
【0006】
プロセッサは、調整条件が成立している場合、循環ポンプの回転数と循環ポンプの実消費電力との対応関係を取得する。プロセッサは、基準消費電力マップと対応関係とを比較することで、循環ポンプの回転数に対応する消費電力と実消費電力との差を算出する。圧力損失が大きくなると、循環ポンプの実消費電力は大きくなる。基準消費電力マップの消費電力と循環ポンプの実消費電力との差は、圧力損失と相関がある。このため、プロセッサは、この差から圧力損失を推定することができる。圧力損失から算出したオフセット量だけ閾値をオフセットすることで、接続部に接続された冷却装置に対応した調整後マップを得ることができる。調整後マップは、接続部に接続される冷却装置に合わせて閾値を調整したものである。このため、想定冷却装置とは異なる冷却装置が接続部に接続された場合であっても、循環ポンプの空転を検知することができる。
【0007】
上記制御装置について、前記燃料電池モジュールは、前記冷媒の温度を検出する温度センサを備え、前記プロセッサは、前記冷媒の温度域毎に前記調整後マップを作成してもよい。
【0008】
上記課題を解決する燃料電池モジュールは、燃料電池スタックと、前記燃料電池スタックを冷却可能な液状の冷媒が通過するとともに冷却装置を接続可能に構成される接続部と、前記接続部及び前記冷却装置を含む循環経路に前記冷媒を循環させる循環ポンプと、制御装置と、を備える燃料電池モジュールであって、前記制御装置は、プロセッサと、記憶媒体と、を備え、前記記憶媒体は、前記冷却装置として接続されることが想定される想定冷却装置が前記接続部に接続されている場合の基準消費電力マップであって前記循環ポンプの回転数と前記循環ポンプの消費電力とを対応付けた基準消費電力マップと、前記想定冷却装置が前記接続部に接続されている場合の基準閾値マップであって前記循環ポンプの回転数と前記循環ポンプの空転を検知するための閾値とを対応付けた基準閾値マップと、を記憶し、前記プロセッサは、予め設定された調整条件が成立しているか否かを判定し、前記調整条件が成立している場合、前記循環ポンプの回転数を変更しながら前記循環ポンプの実消費電力を取得することで、前記循環ポンプの回転数と前記実消費電力との対応関係を取得し、前記基準消費電力マップと前記対応関係とを比較することで、前記循環ポンプの回転数に対応する前記消費電力と前記実消費電力との差を算出し、前記差から圧力損失を推定し、前記圧力損失から前記循環ポンプの回転数に対応するオフセット量を算出し、前記循環ポンプの回転数に対応する前記閾値を前記オフセット量だけオフセットすることで調整後マップを作成し、前記調整後マップによって前記循環ポンプの空転を検知する。
【0009】
想定冷却装置とは異なる冷却装置が接続部に接続された場合であっても、循環ポンプの空転を検知することができる。
【発明の効果】
【0010】
本発明によれば、循環ポンプの空転を検知することができる。
【図面の簡単な説明】
(【0011】以降は省略されています)
この特許をJ-PlatPat(特許庁公式サイト)で参照する
関連特許
株式会社豊田自動織機
操作装置
1か月前
株式会社豊田自動織機
内燃機関
2日前
株式会社豊田自動織機
制御装置
2日前
株式会社豊田自動織機
荷役装置
23日前
株式会社豊田自動織機
トランス
1か月前
株式会社豊田自動織機
電源装置
3日前
株式会社豊田自動織機
トランス
3日前
株式会社豊田自動織機
蓄電装置
2日前
株式会社豊田自動織機
産業車両
18日前
株式会社豊田自動織機
車両制御装置
29日前
株式会社豊田自動織機
双方向充電器
17日前
株式会社豊田自動織機
排気浄化装置
1か月前
株式会社豊田自動織機
双方向充電器
1か月前
株式会社豊田自動織機
燃料電池ユニット
29日前
株式会社豊田自動織機
電力供給システム
15日前
株式会社豊田自動織機
ターボチャージャ
10日前
株式会社豊田自動織機
ターボチャージャ
23日前
株式会社豊田自動織機
内燃機関の制御装置
16日前
株式会社豊田自動織機
織機用異常検知装置
23日前
株式会社豊田自動織機
繊維機械の検査システム
23日前
株式会社豊田自動織機
車両のルーフサイド構造
1か月前
株式会社豊田自動織機
内燃機関の制御システム
1か月前
トヨタ自動車株式会社
蓄電池
16日前
株式会社豊田自動織機
車両用熱マネジメントシステム
2日前
株式会社豊田自動織機
内燃機関の吸気温度制御システム
23日前
株式会社豊田自動織機
繊維構造体、及び繊維強化複合材
23日前
株式会社豊田自動織機
制御装置、及び燃料電池モジュール
2日前
株式会社豊田自動織機
燃料電池システム及びフォークリフト
1か月前
トヨタ自動車株式会社
蓄電モジュール
16日前
トヨタ自動車株式会社
蓄電装置の製造方法
26日前
トヨタ自動車株式会社
バイポーラ型蓄電装置
29日前
株式会社豊田自動織機
シリコンクラスレートIIを含む負極活物質の製造方法
2日前
トヨタ自動車株式会社
二次電池及び二次電池の制御方法
25日前
株式会社豊田自動織機
産業車両のヘッドガード、産業車両及び産業車両の屋根部材
10日前
株式会社アルテックス
ダイカスト装置及び鋳造品の製造方法
16日前
株式会社豊田自動織機
車両用の充電システム、充電回路、充電装置、および電圧の制御方法
1か月前
続きを見る
他の特許を見る