TOP
|
特許
|
意匠
|
商標
特許ウォッチ
Twitter
他の特許を見る
公開番号
2025173056
公報種別
公開特許公報(A)
公開日
2025-11-27
出願番号
2024078392
出願日
2024-05-14
発明の名称
ガバナー
出願人
個人
代理人
個人
,
個人
,
個人
主分類
F02P
5/07 20060101AFI20251119BHJP(燃焼機関;熱ガスまたは燃焼生成物を利用する機関設備)
要約
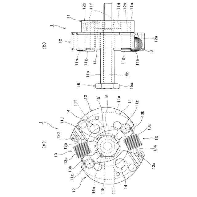
【課題】エンジン始動後の点火タイミングを最適にして、エンジンの燃焼効率を向上できるニュースタンダードガバナーを提供する。
【解決手段】2気筒4サイクルエンジンの点火タイミングを調整するためのガバナー1である。ガバナー1は、エンジンにて駆動されるカムシャフト21に固定される取付ボルト15と、取付ボルト15に取り付けられ、エンジンの始動後にエンジンの点火タイミングを進角させ、エンジンの停止時に進角を解除させるガナバーウエイト12と、を備える。
【選択図】図1
特許請求の範囲
【請求項1】
2気筒4サイクルエンジンの点火タイミングを調整するためのガバナーであって、
前記エンジンにて駆動されるカムシャフトに固定される取付ボルトと、
この取付ボルトに取り付けられ、前記エンジンの始動後に前記エンジンの点火タイミングを進角させ、前記エンジンの停止時に前記進角を解除させる進角装置と、
を備えたことを特徴とするガバナー。
続きを表示(約 770 文字)
【請求項2】
前記進角装置は、前記エンジンの回転数が800ppm~900ppmとなった際に前記エンジンの点火タイミングを進角させる、
ことを特徴とする請求項1記載のガバナー。
【請求項3】
前記進角装置は、前記エンジンのアイドリング時に前記エンジンの点火タイミングを進角させる、
ことを特徴とする請求項1記載のガバナー。
【請求項4】
前記進角装置は、
前記取付ボルトに同心状に固定された平板状のガバナー本体と、
前記取付ボルトの同心状に対向させて設置され、基端側が前記ガバナー本体に回転可能に固定された一対の進角部材と、を有し、
前記一対の進角部材の先端側は、他方の進角部材の基端側に弾性部材を介してそれぞれ取り付けられ、
これら一対の進角部材は、前記エンジンの始動後の前記カムシャフトの回転力にて前記弾性部材が伸びて拡径されて前記エンジンの点火タイミングを進角させる、
ことを特徴とする請求項1記載のガバナー。
【請求項5】
前記進角装置は、
前記一対の進角部材それぞれの先端側の移動を規制する移動規制部を有し、
前記一対の進角部材は、前記カムシャフトの回転力による前記弾性部材の伸びが前記移動規制部にて規制され、前記エンジンの点火タイミングの進角が固定される、
ことを特徴とする請求項4記載のガバナー。
【請求項6】
前記移動規制部は、前記ガバナー本体に設けられた一対の開口部と、前記一対の進角部材それぞれの先端側に固定されたピン体とを有し、これらピン体を前記開口部に挿入させて前記エンジンの点火タイミングの進角を固定させる、
ことを特徴とする請求項5記載のガバナー。
発明の詳細な説明
【技術分野】
【0001】
本発明は、主としてオートバイ等に搭載される2気筒4サイクルエンジン用のガバナーに関する。
続きを表示(約 1,500 文字)
【背景技術】
【0002】
近年、持続可能な開発目標(Sustainable Development Goals、持続可能な開発のための2030アジェンダ、平成27(2015)年9月25日国連サミット採択、以下「SDGs」という。)の推進に向けた取り組みが国際規模で行われている。具体的に、SDGsの目標としては、目標7:エネルギーをみんなにそしてクリーンに、目標12:作る責任、使う責任、等があり、これら目標の解決を目指した技術開発が望まれている。
【0003】
これら目標の解決に貢献できる技術として、特許文献1に記載の技術が知られている。この特許文献1には、「ドライブ・シャフトとガバナ・コントローラとの間のすきまを大きくとって両者間に回り止め用のピンを設け、エンジンからの振動(ドライブ・シャフトの振動)をこのすきま部分で吸収させるようにした」構成の点火装置のガバナ・コントローラについて記載されている。
【0004】
そして、特許文献1に記載の点火装置のガバナ・コントローラは、「エンジンの振動が伝わらないようにドライブ・シャフトとガバナ・シャフトとを間接的に連結させて振動音の発生およびロータ・シャフトの振動を防止し、しかも確実に両者を一体となって回転させて性能を何ら低下させることがないようにした」とされている。
【先行技術文献】
【特許文献】
【0005】
実開昭55-36917号公報
【発明の概要】
【発明が解決しようとする課題】
【0006】
しかしながら、特許文献1に記載のエンジンの排気装置は、エンジンの回転速度に応じて点火時期を自動的に調整できるものの、エンジンの始動時に、エンジンの燃料の噴射タイミングと点火プラグの点火タイミングとの時間的なずれが生じて失火して(焼けて)しまった場合については何ら考慮されていない。
【0007】
特に、例えば1970年以降に販売され、ガナバー進角にて点火させる形式のV型2気筒4サイクルエンジンを搭載したハーレーダビッドソン(登録商標)のエボリューション(登録商標)以前の旧式のオートバイは、その多くがエンジン始動後、例えばアイドリング時の点火タイミングが遅く、リアシリンダ側の点火プラグが2回に一度失火してしまう。このため、この種のハーレーダビッドソン(登録商標)においてよく言われる三拍子の排気音となってしまっている。
【0008】
ところが、このようにリアシリンダ側の点火プラグの失火を2回に一度生じさせてしまうと、エンジン始動後の状態(アイドリング時など)が安定せず、出力消失を生じさせてしまう。よって、クセルを徐々に回転させて走り出した際の速度の立ち上がりが安定せず、エンジンへの負荷が大きく、さらなるエンジンの故障の原因となってしまうおそれがある。
【0009】
本発明は、上述した問題点を解決するためになされたものであり、エンジン始動後の点火タイミングを最適にして、エンジンの燃焼効率を向上させるガバナーを提供することを目的としている。
【課題を解決するための手段】
【0010】
本発明のガバナーは、2気筒4サイクルエンジンの点火タイミングを調整するためのガバナーであって、前記エンジンにて駆動されるカムシャフトに固定される取付ボルトと、この取付ボルトに取り付けられ、前記エンジンの始動後に前記エンジンの点火タイミングを進角させ、前記エンジンの停止時に前記進角を解除させる進角装置と、を備えたことを特徴としている。
【発明の効果】
(【0011】以降は省略されています)
この特許をJ-PlatPat(特許庁公式サイト)で参照する
関連特許
個人
擬似オイル発電装置
13日前
個人
ガバナー
今日
ダイハツ工業株式会社
発電装置
8日前
スズキ株式会社
車両の制御装置
1か月前
株式会社クボタ
作業車
1か月前
株式会社クボタ
作業車両
1か月前
トヨタ自動車株式会社
車両制御装置
1か月前
トヨタ自動車株式会社
制御装置
7日前
トヨタ自動車株式会社
燃料噴射制御装置
1日前
トヨタ自動車株式会社
エンジン制御装置
29日前
川崎重工業株式会社
ガスタービンエンジン
1か月前
Astemo株式会社
内燃機関の制御装置
7日前
トヨタ自動車株式会社
内燃機関の制御装置
20日前
トヨタ自動車株式会社
内燃機関の制御装置
7日前
日産自動車株式会社
吸気装置
1日前
トヨタ自動車株式会社
フレックス燃料車両
20日前
富士電機株式会社
駆動回路
28日前
三菱重工業株式会社
燃焼筒の取付方法
1か月前
トヨタ自動車株式会社
水素エンジンの制御装置
28日前
ヤンマーホールディングス株式会社
エンジン装置
今日
スズキ株式会社
多気筒エンジンの制御装置
22日前
三菱重工業株式会社
ガスタービン起動方法
1か月前
株式会社デンソー
燃料噴射装置
今日
株式会社豊田自動織機
内燃機関
7日前
株式会社豊田自動織機
ターボチャージャ
28日前
スズキ株式会社
内燃機関の吸気装置
7日前
トヨタ自動車株式会社
車両駆動装置
15日前
株式会社豊田自動織機
ターボチャージャ
15日前
株式会社豊田自動織機
車両制御装置
1か月前
株式会社SUBARU
車両用高圧燃料配管構造
7日前
スズキ株式会社
エンジンの排気浄化装置
15日前
トヨタ自動車株式会社
内燃機関の制御装置
28日前
株式会社ミクニ
エンジンのスロットル装置
20日前
愛三工業株式会社
ガス燃料用レギュレータ
7日前
三菱重工エンジン&ターボチャージャ株式会社
エンジン
20日前
株式会社ニッキ
エンジンのガス燃料供給装置
今日
続きを見る
他の特許を見る