TOP
|
特許
|
意匠
|
商標
特許ウォッチ
Twitter
他の特許を見る
公開番号
2025171226
公報種別
公開特許公報(A)
公開日
2025-11-20
出願番号
2024076339
出願日
2024-05-09
発明の名称
ガス燃料用レギュレータ
出願人
愛三工業株式会社
代理人
弁理士法人岡田国際特許事務所
主分類
F02M
21/02 20060101AFI20251113BHJP(燃焼機関;熱ガスまたは燃焼生成物を利用する機関設備)
要約
【課題】部品点数を増加することなく、ダイアフラムのシール性を向上する。
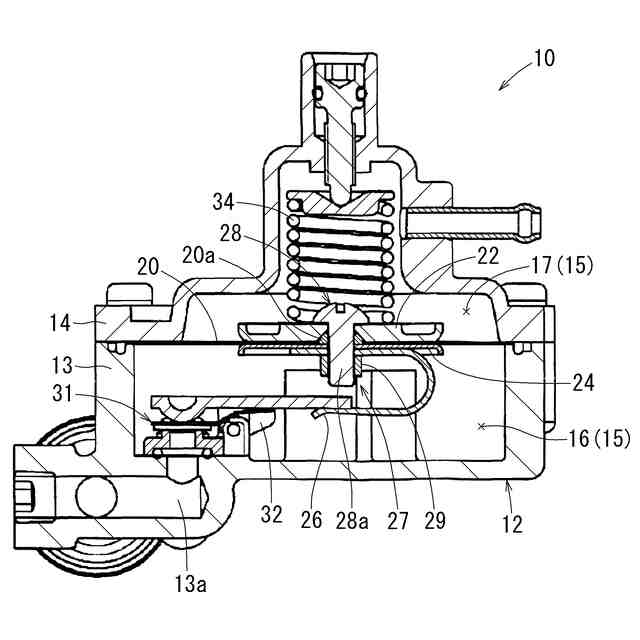
【解決手段】LPG用レギュレータ10は、レギュレータ本体12の内部空間15を調圧室16と大気室17とに区画するダイアフラム20と、ダイアフラム20の内周部を挟持する一対のディッシュ22,24と、ダイアフラム20を間にして一対のディッシュ22,24を締め付ける軸部28aを有する締付手段27と、を備える。ダイアフラム20は、軸部28aに密着されるように配置されるビード部20aを有する。
【選択図】図1
特許請求の範囲
【請求項1】
レギュレータ本体の内部空間を調圧室と大気室とに区画するダイアフラムと、
前記ダイアフラムの内周部を挟持する一対のディッシュと、
前記ダイアフラムを間にして前記一対のディッシュを締め付ける軸部を有する締付手段と、
を備えるガス燃料用レギュレータであって、
前記ダイアフラムは、前記軸部に密着されるように配置される膨大部を有する、ガス燃料用レギュレータ。
続きを表示(約 120 文字)
【請求項2】
請求項1に記載のガス燃料用レギュレータであって、
前記一対のディッシュのうちの少なくとも一方のディッシュには、前記膨大部を配置するための円環状の空間部を形成する円錐状の傾斜面が形成されている、ガス燃料用レギュレータ。
発明の詳細な説明
【技術分野】
【0001】
本明細書に開示の技術は、LPGやCNG等のガス燃料用レギュレータに関する。
続きを表示(約 1,200 文字)
【背景技術】
【0002】
従来、例えば特許文献1に記載されたLPGレギュレータがある。そのLPGレギュレータは、レギュレータ本体の内部空間を1次減圧室(本明細書でいう「調圧室」に相当する)と大気室とに区画するダイアフラムと、ダイアフラムの内周部を挟持する一対のディッシュと、ダイアフラムを間にして一対のディッシュを締め付けるスクリュ及びナットと、を備える。
【先行技術文献】
【特許文献】
【0003】
特開2000-38959号公報
【発明の概要】
【発明が解決しようとする課題】
【0004】
近年、エンジンシステムからの要望により、レギュレータの調圧値を上げる必要性がある。しかし、特許文献1の構造では、ダイアフラムのシール性を向上するには限界がある。
【0005】
また、ダイアフラムのシール性を補助するОリングを設けたものもある。Оリングは、一方のディッシュとダイアフラムとの間に形成されかつスクリュの軸部に面する円環状の空間部に配置される。しかし、スクリュの軸部に掛かるОリングのシール力が弱く、また、部品点数の増加により寸法のばらつきが大きいため、シール性の向上をあまり期待できない。
【0006】
本明細書に開示の技術が解決しようとする課題は、部品点数を増加することなく、ダイアフラムのシール性を向上することにある。
【課題を解決するための手段】
【0007】
上記課題を解決するため、本明細書が開示する技術は次の手段をとる。
【0008】
第1の手段は、レギュレータ本体の内部空間を調圧室と大気室とに区画するダイアフラムと、前記ダイアフラムの内周部を挟持する一対のディッシュと、前記ダイアフラムを間にして前記一対のディッシュを締め付ける軸部を有する締付手段と、を備えるガス燃料用レギュレータであって、前記ダイアフラムは、前記軸部に密着されるように配置される膨大部を有する、ガス燃料用レギュレータである。
【0009】
第1の手段によると、一対のディッシュの間に介在されるダイアフラムの膨大部が締付手段の軸部に密着されることで、ダイアフラムのシール性を向上することができる。また、従来必要としたОリングを省略し、寸法のばらつきの影響を抑制することができる。よって、部品点数を増加することなく、ダイアフラムのシール性を向上することができる。
【0010】
第2の手段は、第1の手段のガス燃料用レギュレータであって、前記一対のディッシュのうちの少なくとも一方のディッシュには、前記膨大部を配置するための円環状の空間部を形成する円錐状の傾斜面が形成されている、ガス燃料用レギュレータである。
(【0011】以降は省略されています)
この特許をJ-PlatPat(特許庁公式サイト)で参照する
関連特許
他の特許を見る