TOP
|
特許
|
意匠
|
商標
特許ウォッチ
Twitter
他の特許を見る
10個以上の画像は省略されています。
公開番号
2025168816
公報種別
公開特許公報(A)
公開日
2025-11-12
出願番号
2024073594
出願日
2024-04-30
発明の名称
エンジンの排気浄化装置
出願人
スズキ株式会社
代理人
弁理士法人東京国際特許事務所
主分類
F02D
19/06 20060101AFI20251105BHJP(燃焼機関;熱ガスまたは燃焼生成物を利用する機関設備)
要約
【課題】 排気フィルタの再生をより早期に完了することのできるエンジンの排気浄化装置を提供する。
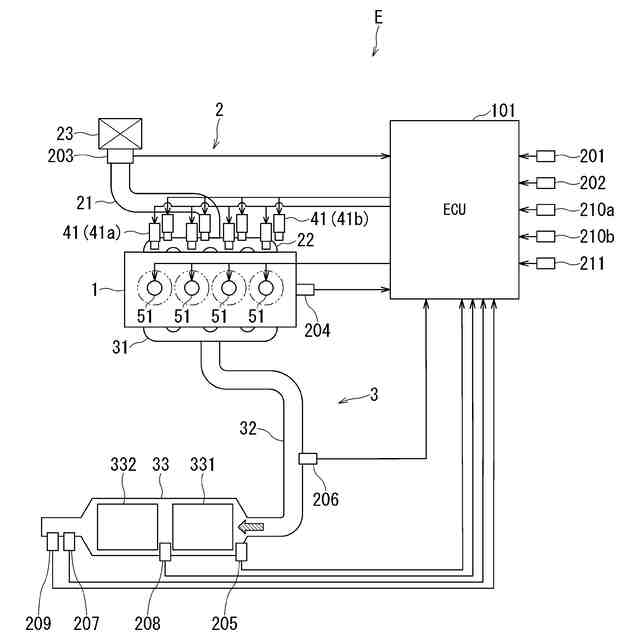
【解決手段】エンジンEの排気通路32に設置された排気浄化触媒331と、排気浄化触媒331の下流側に設置された排気フィルタ332と、運転状態センサ201~211と、エンジンEの運転状態を制御するコントローラ101と、を備える。コントローラ101は、排気フィルタ332がその再生時期にあることを検知した場合に、排気浄化触媒331に流入する排気の空燃比を、ストイキ相当値に対してリッチ側とリーン側とに振動させる空燃比振動制御を実施するとともに、空燃比振動制御を実施する際の使用燃料を、強制的に気体燃料に設定する。
【選択図】 図7
特許請求の範囲
【請求項1】
燃焼室に供給される燃料である使用燃料を液体燃料と気体燃料とで切り替えて運転可能に構成されたエンジンの排気浄化装置であって、
エンジンの排気通路に設置された排気浄化触媒と、
前記排気通路において前記排気浄化触媒の下流側に設置され、触媒成分を担持するとともに、排気中の粒子状物質を捕集可能に構成された排気フィルタと、
前記エンジンの運転状態に応じた信号を出力可能に構成された運転状態センサと、
前記運転状態センサにより出力された信号に基づき、前記エンジンの運転状態を制御するコントローラと、を備え、
前記コントローラは、
前記排気フィルタがその再生時期にあることを検知するフィルタ再生時期検知手段と、
前記フィルタ再生時期検知手段により前記排気フィルタの再生時期にあることを検知した場合に、前記排気浄化触媒に流入する排気の空燃比を、ストイキ相当値に対してリッチ側とリーン側とに振動させる空燃比振動制御を実施するフィルタ再生手段と、
前記フィルタ再生手段により前記空燃比振動制御を実施する際の前記使用燃料を、強制的に気体燃料に設定する使用燃料設定手段と、を備える、エンジンの排気浄化装置。
続きを表示(約 1,500 文字)
【請求項2】
前記使用燃料設定手段は、前記フィルタ再生時期検知手段により前記排気フィルタの再生時期にあることを検知した際の前記使用燃料が液体燃料である場合に、前記使用燃料を液体燃料から気体燃料に切り替え、
前記フィルタ再生手段は、前記使用燃料設定手段による前記使用燃料の切替後、前記空燃比振動制御を実施する、請求項1に記載のエンジンの排気浄化装置。
【請求項3】
前記排気通路において前記排気フィルタ上流側の排気の圧力を検出可能に配置された第1圧力センサと、
前記排気通路において前記排気フィルタ下流側の排気の圧力を検出可能に配置された第2圧力センサと、をさらに備え、
前記フィルタ再生時期検知手段は、前記第1圧力センサにより検出した前記排気の圧力と前記第2圧力センサにより検出した前記排気の圧力との差が第1の所定値を超えた場合に、前記排気フィルタの再生時期にあることを検知する、請求項1に記載のエンジンの排気浄化装置。
【請求項4】
前記コントローラは、前記排気フィルタの再生が完了したか否かを判定するフィルタ再生完了判定手段をさらに備え、
前記フィルタ再生完了判定手段は、前記フィルタ再生手段により前記空燃比振動制御を開始した後、前記圧力の差が第2の所定値に達した場合に、前記排気フィルタの再生が完了したと判定し、
前記フィルタ再生手段は、前記フィルタ再生完了判定手段により前記排気フィルタの再生が完了したと判定した場合に、前記空燃比振動制御を停止するとともに、前記使用燃料設定手段による前記使用燃料の強制設定を解除する、請求項3に記載のエンジンの排気浄化装置。
【請求項5】
前記運転状態センサは、前記排気通路において前記排気浄化触媒の下流側に設置され、前記排気浄化触媒を通過した排気の空燃比を検出する下流側排気センサを含み、
前記コントローラは、前記下流側排気センサにより検出した空燃比に基づき、前記空燃比振動制御により前記空燃比を振動させる際の周波数を制御周波数として特定する制御周波数特定手段をさらに備え、
前記フィルタ再生手段は、前記制御周波数特定手段により特定した制御周波数で前記空燃比を振動させる、請求項1に記載のエンジンの排気浄化装置。
【請求項6】
前記コントローラは、前記フィルタ再生時期検知手段により前記排気フィルタの再生時期にあることを検知する前の前記エンジンの通常運転時において、前記空燃比振動制御を実施する空燃比振動制御手段をさらに備え、
前記制御周波数特定手段は、前記空燃比振動制御手段による前記空燃比振動制御の実施中に前記下流側排気センサにより検出した空燃比に基づき、前記制御周波数を特定する、請求項5に記載のエンジンの排気浄化装置。
【請求項7】
前記制御周波数特定手段は、前記下流側排気センサにより検出した空燃比の最小値または前記空燃比の最大値と最小値との差分が空燃比振動の周波数の対数に対してなす変化の傾きが所定の値に達するときの前記周波数を、前記制御周波数として特定する、請求項6に記載のエンジンの排気浄化装置。
【請求項8】
前記制御周波数特定手段は、前記傾きの絶対値が0.015から0.025までの範囲で予め設定された値に達するときの前記周波数を、前記制御周波数として特定する、請求項7に記載のエンジンの排気浄化装置。
【請求項9】
前記気体燃料は、メタン系燃料である、請求項1から8のいずれか一項に記載のエンジンの排気浄化装置。
発明の詳細な説明
【技術分野】
【0001】
本発明は、エンジンの排気浄化装置に関する。
続きを表示(約 1,500 文字)
【背景技術】
【0002】
運転に使用する燃料を液体燃料と気体燃料とで切替可能に構成されたエンジンが存在する。このエンジンは、バイフューエルエンジンと呼ばれ、液体燃料を貯蔵する液体燃料タンクと、気体燃料を貯蔵する気体燃料タンクと、が搭載され、燃焼室に供給される燃料が、燃料タンクの残量や運転者による選択に応じて切り替えられる。バイフューエルエンジンとして、液体燃料にガソリンを用い、気体燃料に圧縮天然ガス(CNG)を用いるものが知られている。
【0003】
他方で、フィルタ担体に酸化触媒を担持させた排気フィルタを備えるエンジンにおいて、フィルタ担体に基準値を超える量の粒子状物質が堆積した場合に、排気フィルタの再生のため、酸化触媒に接触させる排気の空燃比をリッチとリーンとで切り替える運転を実施することが知られている(特許文献1)。
【0004】
ここで、排気の空燃比がリッチであるとは、排気に含まれる燃料が当量よりも多量であることをいい、リーンであるとは、排気に含まれる燃料が当量よりも少量であることをいう。
【先行技術文献】
【特許文献】
【0005】
特開2009-299521号公報
【発明の概要】
【発明が解決しようとする課題】
【0006】
しかし、排気フィルタの再生を、排気の空燃比をリッチとリーンとで切り替える運転により実施する場合は、次のことが問題となる。
【0007】
燃料にガソリンを使用している場合に、排気の空燃比をリッチとリーンとで切り替えると、排気の空燃比をリッチとする際の燃料の相対的な増量により、排気に含まれる粒子状物質の量が増大する。この粒子状物質は、再生過程にある排気フィルタに流入し、フィルタ担体に堆積するため、排気フィルタの再生が完了するまでにより長い時間を要することとなる。
【0008】
これにより、排気フィルタにおける圧損が長期に亘って解消されず、エンジン性能に低下を来たす事態が懸念される。
【0009】
そこで、本発明は、排気フィルタの再生をより早期に完了することのできるエンジンの排気浄化装置を提供することを目的とする。
【課題を解決するための手段】
【0010】
前記の課題を解決するため、本発明の一形態に係るエンジンの排気浄化装置は、燃焼室に供給される燃料である使用燃料を液体燃料と気体燃料とで切り替えて運転可能に構成されたエンジンの排気浄化装置であって、エンジンの排気通路に設置された排気浄化触媒と、前記排気通路において前記排気浄化触媒の下流側に設置され、触媒成分を担持するとともに、排気中の粒子状物質を捕集可能に構成された排気フィルタと、前記エンジンの運転状態に応じた信号を出力可能に構成された運転状態センサと、前記運転状態センサにより出力された信号に基づき、前記エンジンの運転状態を制御するコントローラと、を備える。前記コントローラは、前記排気フィルタがその再生時期にあることを検知するフィルタ再生時期検知手段と、前記フィルタ再生時期検知手段により前記排気フィルタの再生時期にあることを検知した場合に、前記排気浄化触媒に流入する排気の空燃比を、ストイキ相当値に対してリッチ側とリーン側とに振動させる空燃比振動制御を実施するフィルタ再生手段と、前記フィルタ再生手段により前記空燃比振動制御を実施する際の前記使用燃料を、強制的に気体燃料に設定する使用燃料設定手段と、を備える。
【発明の効果】
(【0011】以降は省略されています)
この特許をJ-PlatPat(特許庁公式サイト)で参照する
関連特許
スズキ株式会社
開閉機構
1か月前
スズキ株式会社
車体カバー
12日前
スズキ株式会社
シート構造
1か月前
スズキ株式会社
シート構造
1か月前
スズキ株式会社
リッド構造
5日前
スズキ株式会社
リッド構造
5日前
スズキ株式会社
運転支援装置
20日前
スズキ株式会社
車両用変速機
5日前
スズキ株式会社
動力伝達装置
1か月前
スズキ株式会社
車両制御装置
1か月前
スズキ株式会社
車両検査装置
1か月前
スズキ株式会社
車体下部構造
5日前
スズキ株式会社
車体下部構造
5日前
スズキ株式会社
車両制御装置
5日前
スズキ株式会社
車両後部構造
1か月前
スズキ株式会社
車両側部構造
1か月前
スズキ株式会社
電源システム
5日前
スズキ株式会社
パーツボックス
20日前
スズキ株式会社
車両用制御装置
5日前
スズキ株式会社
車両用制御装置
1か月前
スズキ株式会社
車両用制御装置
1か月前
スズキ株式会社
車両の制御装置
1か月前
スズキ株式会社
車両の制御装置
1か月前
スズキ株式会社
車両の制御装置
14日前
スズキ株式会社
パーツボックス
20日前
スズキ株式会社
車両用ルーフ構造
1か月前
スズキ株式会社
車両の可動ゲート
1か月前
スズキ株式会社
電動車両の後部構造
1か月前
スズキ株式会社
車両の制御システム
1か月前
スズキ株式会社
自動変速機システム
今日
スズキ株式会社
操作装置の設置構造
5日前
スズキ株式会社
バイフューエル車両
5日前
スズキ株式会社
内燃機関の制御装置
12日前
スズキ株式会社
電動車両の後部構造
1か月前
スズキ株式会社
車両の速度制御装置
1か月前
スズキ株式会社
車両の制御システム
1か月前
続きを見る
他の特許を見る