TOP
|
特許
|
意匠
|
商標
特許ウォッチ
Twitter
他の特許を見る
10個以上の画像は省略されています。
公開番号
2025176962
公報種別
公開特許公報(A)
公開日
2025-12-05
出願番号
2024083393
出願日
2024-05-22
発明の名称
車両用変速機
出願人
スズキ株式会社
代理人
弁理士法人日誠国際特許事務所
主分類
F16H
57/025 20120101AFI20251128BHJP(機械要素または単位;機械または装置の効果的機能を生じ維持するための一般的手段)
要約
【課題】変速機ケースに対するアクチュエータの支持剛性を高くしつつ、狭い空間に配置できる車両用変速機を提供すること。
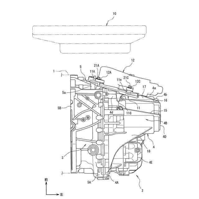
【解決手段】変速機2において、変速機ケース3の前壁3Aの前方に配置されたアクチュエータ12を有し、アクチュエータ12は、エンジン1側の端部と、反エンジン1側の上部と、反エンジン1側の下部とがブラケット11に締結されており、ブラケット11は、アクチュエータ12が取付けられたエンジン1側の端部(ボス部11a)の近傍のボス部11bと、アクチュエータ12が取付けられた反エンジン1側の上部(ボス部11c)の近傍のボス部11dが変速機ケース3に締結されている。
【選択図】図3
特許請求の範囲
【請求項1】
車幅方向に延びる出力軸を有する駆動源と、
前記駆動源側に位置し、前記駆動源に接合される大端部と、前記出力軸の軸方向で前記駆動源と反対側の反駆動源側に位置し、前記大端部よりも小径な小端部とを有する変速機ケースと、
前記変速機ケースの前壁の前方に配置されたアクチュエータと、
前記変速機ケースの前壁に沿って配置され、前記アクチュエータを前記変速機ケースに取付けるブラケットとを含んで構成される車両用変速機であって、
前記アクチュエータは、前記駆動源側の端部と、前記反駆動源側の上部と、前記反駆動源側の下部とが前記ブラケットに締結されており、
前記ブラケットは、前記アクチュエータが取付けられた前記駆動源側の端部の近傍と前記アクチュエータが取付けられた前記反駆動源側の上部の近傍が前記変速機ケースに締結されていることを特徴とする車両用変速機。
続きを表示(約 630 文字)
【請求項2】
前記変速機ケースは、
前記出力軸と平行に配置され、前記出力軸から動力が伝達される複数の回転軸と、
前記変速機ケースの前記小端部から前記大端部に向かって広がるように延び、前記複数の回転軸を取り囲むようにして収容する周壁とを有し、
前記周壁は、前方に膨出する膨出部を有し、
前記膨出部は、前記膨出部の前部から前方に突出し、前記ブラケットが締結されるボス部を有することを特徴とする請求項1に記載の車両用変速機。
【請求項3】
前記ブラケットは、裏側締結部を有し、
前記裏側締結部は、前記ブラケットに締結される前記アクチュエータの前記反駆動源側の上部の締結箇所と前記反駆動源側の下部の締結箇所の間の高さ位置に位置して前記ブラケットの裏面から前記変速機ケース側に延びており、前記回転軸の軸方向から前記変速機ケースに締結されていることを特徴とする請求項2に記載の車両用変速機。
【請求項4】
前記変速機ケースは、前記回転軸の軸方向に分割された第1のケース部と第2のケース部とが結合されたものから構成されており、
前記第2のケース部は前記周壁を含んで構成されており、
前記ブラケットは、前記第1のケース部と前記第2のケース部に締結されており、前記第1のケース部との締結部と前記裏側締結部が略同じ高さ位置に位置していることを特徴とする請求項3に記載の車両用変速機。
発明の詳細な説明
【技術分野】
【0001】
本発明は、車両用変速機に関する。
続きを表示(約 1,200 文字)
【背景技術】
【0002】
ブラケットを介してアクチュエータを変速機ケースに取付けるものとしては、下側ブラケットを介して電装部品を変速機ケースの外周面に取付けた電装部品の支持構造が知られている(特許文献1参照)。
【0003】
この電装部品の支持構造は、上下方向に延びるインバータを変速機ケースの上面に固定する下側ブラケットと、変速機ケースに固定された中間ブラケットおよびマウント取付部とを有する。
【0004】
インバータの下端部は下側ブラケットの平板状の載置部に設けられた前側被締結部と後側被締結部とに締結されており、下側ブラケットには載置部から下方に延びる前側締結部、後側締結部および左側締結部が設けられている。
【0005】
前側締結部と後側ブラケットは中間ブラケットを介して変速機ケースに取付けられており、左側締結部はマウント取付部を介して変速機ケースに取付けられている。
【先行技術文献】
【特許文献】
【0006】
特開2023-150674号公報
【発明の概要】
【発明が解決しようとする課題】
【0007】
しかしながら、特許文献1に記載の電装部品の支持構造にあっては、インバータが上下方向に延びているので、変速機ケースの外径寸法が長くなり、狭い空間に変速機を配置するために未だ改善の余地がある。
【0008】
また、下ブラケットのインバータの締結部と変速機ケースへの締結部(中間ブラケットとマウント取付部との締結部)が離れているので、変速機ケースに対するインバータの支持剛性を高めるためには未だ改善の余地がある。
【0009】
本発明は、上記のような事情に着目してなされたものであり、変速機ケースに対するアクチュエータの支持剛性を高くしつつ、狭い空間に配置できる車両用変速機を提供することを目的とするものである。
【課題を解決するための手段】
【0010】
本発明は、車幅方向に延びる出力軸を有する駆動源と、前記駆動源側に位置し、前記駆動源に接合される大端部と、前記出力軸の軸方向で前記駆動源と反対側の反駆動源側に位置し、前記大端部よりも小径な小端部とを有する変速機ケースと、前記変速機ケースの前壁の前方に配置されたアクチュエータと、前記変速機ケースの前壁に沿って配置され、前記アクチュエータを前記変速機ケースに取付けるブラケットとを含んで構成される車両用変速機であって、前記アクチュエータは、前記駆動源側の端部と、前記反駆動源側の上部と、前記反駆動源側の下部とが前記ブラケットに締結されており、前記ブラケットは、前記アクチュエータが取付けられた前記駆動源側の端部の近傍と前記アクチュエータが取付けられた前記反駆動源側の上部の近傍が前記変速機ケースに締結されていることを特徴とする。
【発明の効果】
(【0011】以降は省略されています)
この特許をJ-PlatPat(特許庁公式サイト)で参照する
関連特許
スズキ株式会社
車両構造
1か月前
スズキ株式会社
車両構造
1か月前
スズキ株式会社
車両構造
1か月前
スズキ株式会社
車両構造
1か月前
スズキ株式会社
車両構造
1か月前
スズキ株式会社
車室構造
1か月前
スズキ株式会社
車室構造
1か月前
スズキ株式会社
車室構造
1か月前
スズキ株式会社
車両構造
1か月前
スズキ株式会社
車両構造
1か月前
スズキ株式会社
車両構造
1か月前
スズキ株式会社
開閉機構
1か月前
スズキ株式会社
車体カバー
7日前
スズキ株式会社
リッド構造
今日
スズキ株式会社
シート構造
1か月前
スズキ株式会社
シート構造
1か月前
スズキ株式会社
リッド構造
今日
スズキ株式会社
車両側部構造
1か月前
スズキ株式会社
車両後部構造
1か月前
スズキ株式会社
車両検査装置
1か月前
スズキ株式会社
燃料電池車両
2か月前
スズキ株式会社
燃料電池車両
2か月前
スズキ株式会社
車両側部構造
2か月前
スズキ株式会社
車両前部構造
2か月前
スズキ株式会社
車両用バンパ
2か月前
スズキ株式会社
モータケース
2か月前
スズキ株式会社
車両用変速機
2か月前
スズキ株式会社
車両制御装置
28日前
スズキ株式会社
車両側部構造
2か月前
スズキ株式会社
電源システム
今日
スズキ株式会社
運転支援装置
15日前
スズキ株式会社
動力伝達装置
28日前
スズキ株式会社
車両用変速機
今日
スズキ株式会社
車両制御装置
今日
スズキ株式会社
車体下部構造
今日
スズキ株式会社
車体下部構造
今日
続きを見る
他の特許を見る