TOP
|
特許
|
意匠
|
商標
特許ウォッチ
Twitter
他の特許を見る
公開番号
2025132455
公報種別
公開特許公報(A)
公開日
2025-09-10
出願番号
2024030035
出願日
2024-02-29
発明の名称
車両側部構造
出願人
スズキ株式会社
代理人
個人
,
個人
,
個人
,
個人
,
個人
,
個人
主分類
B62D
25/08 20060101AFI20250903BHJP(鉄道以外の路面車両)
要約
【課題】サイドボディアウタパネルの後側角部の周辺の振動を抑制する。
【解決手段】車両側部構造100は、サイドボディアウタパネル1と、サイドボディアウタパネル1に対して車幅方向内側に設けられるクォータインナパネル2と、クォータインナパネル2の後方に設けられ車幅方向に延びるバックパネル4と、を含む。サイドボディアウタパネル1はアウタパネル側壁部1aとアウタパネル側壁部1aの後端から車幅方向内側に延びるアウタパネル後壁部1bとを有し、バックパネル4の車幅方向外側縁部4aには、アウタパネル後壁部1bの車幅方向内側縁部1b1とクォータインナパネル2の後側縁部2aとが接合され、アウタパネル側壁部1aとアウタパネル後壁部1bとクォータインナパネル2とにより囲まれた領域Sに設けられた補強部材7は、アウタパネル側壁部1aとアウタパネル後壁部1bとクォータインナパネル2とに接合されている。
【選択図】図4
特許請求の範囲
【請求項1】
車両側部に設けられるサイドボディアウタパネルと、前記サイドボディアウタパネルに対して車幅方向内側に設けられ且つリアホイールハウス部の上方に位置するクォータインナパネルと、車両後部において前記クォータインナパネルの後方に設けられ車幅方向に延びるバックパネルと、を含む、車両側部構造であって、
前記サイドボディアウタパネルは、車両前後方向に延びるアウタパネル側壁部と、前記アウタパネル側壁部の後端から車幅方向内側に延びるアウタパネル後壁部と、を有し、
前記バックパネルの車幅方向外側縁部には、前記アウタパネル後壁部の車幅方向内側縁部と前記クォータインナパネルの後側縁部とが接合され、
前記アウタパネル側壁部と前記アウタパネル後壁部と前記クォータインナパネルとにより囲まれた領域に、車幅方向に延びる補強部材が設けられており、
前記補強部材は、前記アウタパネル側壁部と前記アウタパネル後壁部と前記クォータインナパネルとに接合されている、車両側部構造。
続きを表示(約 500 文字)
【請求項2】
前記リアホイールハウス部は、前記アウタパネル側壁部の下部に接合され且つ前記後輪を上方から覆う、ホイールハウスアウタパネルを含み、
前記クォータインナパネルは、前記ホイールハウスアウタパネルの後部から後方に延びるリアパネル部を有し、
前記補強部材は、前記クォータインナパネルのうち前記リアパネル部に接合されている、請求項1に記載の車両側部構造。
【請求項3】
前記リアパネル部の前部は、前記ホイールハウスアウタパネルの後部のうち車幅方向内側縁部に沿って接合され、
前記補強部材の車幅方向内側縁部の後部は、前記リアパネル部の前記前部と前記ホイールハウスアウタパネルの前記車幅方向内側縁部との接合部における車両上下方向の中間部に接合されている、請求項2に記載の車両側部構造。
【請求項4】
前記ホイールハウスアウタパネルは、上方に凸となる湾曲形状部を有しており、
前記補強部材は、車両上下方向について、前記ホイールハウスアウタパネルの前記湾曲形状部の頂部に対して下方に配置されている、請求項1に記載の車両側部構造。
発明の詳細な説明
【技術分野】
【0001】
本発明は、車両側部構造に関する。
続きを表示(約 1,900 文字)
【背景技術】
【0002】
一般に、車両側部のうち後輪の上方に位置する部分では、サイドボディアウタパネルとクォータインナパネルとが互いに間隔を空けて対向しており、サイドボディアウタパネルの下部とクォータインナパネルの下部はそれぞれ後輪の上部を覆うリアホイールハウス部に接合されている場合が多い。そして、リアホイールハウス部には、リアサスペンション機構が配置されているため、車両側部のうち後輪の上方に位置する部分には、リアサスペンション機構への入力荷重などに起因して、走行時に変形や振動が生じるおそれがある。
【0003】
特許文献1には、車両側部のうち後輪の上方に位置する部分について、振動の抑制を図る構造が開示されている。特許文献1では、リアサイドドア開口の後縁を構成するピラー(Cピラーとも称される)を補強することで、振動の抑制を図っている。特許文献1に開示された構造では、車両側部のうち後輪の上方に位置する部分の前側の部分(Cピラー)を補強することで、振動抑制について一定程度の効果が得られている。
【先行技術文献】
【特許文献】
【0004】
特開2017-128199号公報
【発明の概要】
【発明が解決しようとする課題】
【0005】
ところで、サイドボディアウタパネルの後部が車幅方向内側に屈曲している場合がある。つまり、サイドボディアウタパネルが、車両前後方向に延びるアウタパネル側壁部と、アウタパネル側壁部の後端から車幅方向内側に延びるアウタパネル後壁部と、を有する場合がある。この場合には、サイドボディアウタパネルの後部の屈曲した部分(以下、後側角部という)は、後側角部の両側に連続する概ね平坦な部分(つまり、アウタパネル側壁部及びアウタパネル後壁部)の剛性より高い剛性を有し、後側角部の両側の部分(アウタパネル側壁部及びアウタパネル後壁部)は後側角部の剛性より低い剛性を有することになる。
【0006】
本願の発明者は、サイドボディアウタパネルの後側角部の周辺において、パネル剛性の差に起因する局所的なパネル振動が生じるおそれがあることに気づいた。この後側角部の周辺のパネル振動について、特許文献1に開示された構造では、改善の余地がある。
【0007】
そこで、本発明は、サイドボディアウタパネルの後側角部の周辺の振動を抑制することのできる構造を有した車両側部構造を提供することを目的とする。
【課題を解決するための手段】
【0008】
上記目的を達成するため本発明の一態様によると、車両側部に設けられるサイドボディアウタパネルと、前記サイドボディアウタパネルに対して車幅方向内側に設けられ且つリアホイールハウス部の上方に位置するクォータインナパネルと、車両後部において前記クォータインナパネルの後方に設けられ車幅方向に延びるバックパネルと、を含む、車両側部構造が提供される。この車両側部構造において、前記サイドボディアウタパネルは、車両前後方向に延びるアウタパネル側壁部と、前記アウタパネル側壁部の後端から車幅方向内側に延びるアウタパネル後壁部と、を有し、前記バックパネルの車幅方向外側縁部には、前記アウタパネル後壁部の車幅方向内側縁部と前記クォータインナパネルの後側縁部とが接合され、前記アウタパネル側壁部と前記アウタパネル後壁部と前記クォータインナパネルとにより囲まれた領域に、車幅方向に延びる補強部材が設けられており、前記補強部材は、前記アウタパネル側壁部と前記アウタパネル後壁部と前記クォータインナパネルとに接合されている。
【発明の効果】
【0009】
本発明の一態様によれば、サイドボディアウタパネルの後側角部の周辺の振動を抑制することのできる構造を有した車両側部構造を提供することができる。
【図面の簡単な説明】
【0010】
本発明の実施形態に係る車両側部構造を車両斜め後方から視た斜視図である。
前記車両側部構造の内部構造を説明するための部分側面図である。
前記車両側部構造の内部構造を説明するための部分拡大斜視図である。
図2に示すA-A線における断面図である。
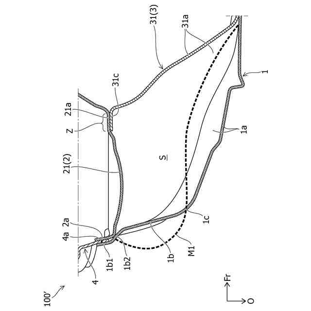
比較例に係る車両側部構造におけるパネル振動の例を説明するための図である。
比較例に係る車両側部構造におけるパネル振動の別の例を説明するための図である。
【発明を実施するための形態】
(【0011】以降は省略されています)
この特許をJ-PlatPat(特許庁公式サイト)で参照する
関連特許
スズキ株式会社
排気装置
22日前
スズキ株式会社
電動車両
2か月前
スズキ株式会社
蓄熱装置
2か月前
スズキ株式会社
内燃機関
2か月前
スズキ株式会社
排気装置
22日前
スズキ株式会社
車両側部構造
21日前
スズキ株式会社
車両側部構造
21日前
スズキ株式会社
車両前部構造
23日前
スズキ株式会社
運転支援装置
29日前
スズキ株式会社
車両側部構造
1か月前
スズキ株式会社
動力伝達装置
1か月前
スズキ株式会社
運転支援装置
1か月前
スズキ株式会社
移動システム
1か月前
スズキ株式会社
運転支援装置
1か月前
スズキ株式会社
車両前部構造
1か月前
スズキ株式会社
車体下部構造
1か月前
スズキ株式会社
車体下部構造
1か月前
スズキ株式会社
小型電動車両
2か月前
スズキ株式会社
エアクリーナ
1か月前
スズキ株式会社
車両前部構造
2か月前
スズキ株式会社
車両用変速機
12日前
スズキ株式会社
車両前部構造
12日前
スズキ株式会社
モータケース
12日前
スズキ株式会社
車両用バンパ
12日前
スズキ株式会社
車両用送風構造
6日前
スズキ株式会社
車両用制御装置
1か月前
スズキ株式会社
車両の制御装置
1か月前
スズキ株式会社
車両用制御装置
1か月前
スズキ株式会社
車両用送風構造
6日前
スズキ株式会社
車両の制御装置
5日前
スズキ株式会社
車両用制御装置
1か月前
スズキ株式会社
車両用空調装置
1か月前
スズキ株式会社
車両用送風構造
6日前
スズキ株式会社
車両用制御装置
1か月前
スズキ株式会社
車両用制御装置
21日前
スズキ株式会社
車両用制御装置
2か月前
続きを見る
他の特許を見る