TOP
|
特許
|
意匠
|
商標
特許ウォッチ
Twitter
他の特許を見る
10個以上の画像は省略されています。
公開番号
2025176977
公報種別
公開特許公報(A)
公開日
2025-12-05
出願番号
2024083416
出願日
2024-05-22
発明の名称
車体下部構造
出願人
スズキ株式会社
代理人
個人
,
個人
,
個人
,
個人
,
個人
,
個人
主分類
B60K
1/04 20190101AFI20251128BHJP(車両一般)
要約
【課題】簡易な構造によってリヤタイヤ周辺における空気抵抗を低減する。
【解決手段】車体下部構造1は、車両のフロア部の下方に配置されるバッテリケース4と、フロア部の車幅方向外側部に沿って車両前後方向に延びるサイドシル6と、バッテリケース4の車幅方向外側において車両前後方向に延びバッテリケース4とサイドシル6とを連結するバッテリサイドメンバ7と、バッテリサイドメンバ7の後端部及びバッテリケース4の後側角部4xに固定される側部カバー部材20と、を含み、側部カバー部材20は、バッテリケース4の下面と平行に延びる横壁部23と、横壁部23の後端から下方に突出し且つ車幅方向に延びるガイド壁部33と、を有し、ガイド壁部33の下端は、バッテリサイドメンバ7の下面7bよりも下方に突出し、且つ、バッテリケース4の下面又はバッテリアンダーカバー5の下面5bよりも下方に突出している。
【選択図】図12
特許請求の範囲
【請求項1】
車両のフロア部の下方に配置されるバッテリケースと、前記フロア部の車幅方向外側部に沿って車両前後方向に延びるサイドシルと、を含む、車体下部構造であって、
前記バッテリケースの車幅方向外側において車両前後方向に延び前記バッテリケースと前記サイドシルとを連結するバッテリサイドメンバと、
前記バッテリサイドメンバの後端部及び前記バッテリケースの後側角部に固定される側部カバー部材と、
を含み、
前記側部カバー部材は、前記バッテリケースの下面と平行に延びる横壁部と、当該横壁部の後端から下方に突出し且つ車幅方向に延びるガイド壁部と、を有し、
前記ガイド壁部の下端は、前記バッテリサイドメンバの下面よりも下方に突出し、且つ、前記バッテリケースの下面又は該バッテリケースの下面を覆うバッテリアンダーカバーの下面よりも下方に突出している、ことを特徴とする車体下部構造。
続きを表示(約 1,300 文字)
【請求項2】
前記ガイド壁部は、前記バッテリサイドメンバの後端面に対して後方に位置する第1ガイド壁部と、前記第1ガイド壁部に対して車幅方向内側に位置する第2ガイド壁部と、を有し、
前記第1ガイド壁部の後方には、前記バッテリサイドメンバの下面よりも下方に突出する部品が配置され、前記第2ガイド壁部の後方には、少なくとも前記バッテリケースの下面よりも下方に突出し且つ前記部品とは異なる他の部品が配置されており、
前記第1ガイド壁部は、前記横壁部に対する前記第2ガイド壁部の突出方向と異なる方向に突出している、請求項1に記載の車体下部構造。
【請求項3】
前記第1ガイド壁部は、車両前後方向について前記第2ガイド壁部に対して前側に位置し、且つ、前記横壁部から当該第1ガイド壁部の下端に向かうに従って後側に傾斜するように突出し、
前記第2ガイド壁部は、前記横壁部に対して垂直に突出し、
前記第1ガイド壁部の後方の前記部品は、少なくとも、リヤタイヤと、該リヤタイヤを上方から覆うリヤホイールハウスの前側下端に取り付けられ下方に延びる整流板と、を含み、
前記第2ガイド壁部の後方の前記他の部品は、少なくとも、リヤサスペンションと、該リヤサスペンションのアームの先端部を保持する保持ブラケットと、を含み、
前記第2ガイド壁部と前記保持ブラケットとの離隔距離は、前記第1ガイド壁部と前記整流板との離隔距離に対して短く、
前記第1ガイド壁部の基端から先端までの延伸方向の長さは、前記第2ガイド壁部の基端から先端までの延伸方向の長さよりも長い、請求項2に記載の車体下部構造。
【請求項4】
前記側部カバー部材は、前記横壁部の前端から上方に突出し且つ車幅方向に延びるガード壁部を有し、
前記ガード壁部は、前記横壁部の前端のうち車幅方向内端から車幅方向外側に向かって形成され、
前記ガード壁部の形成位置は、車幅方向について、少なくとも前記第2ガイド壁部の形成位置と重なっている、請求項2に記載の車体下部構造。
【請求項5】
前記サイドシルの車幅方向外側には、車両前後方向に延びるサイドスカートが設けられており、
前記側部カバー部材は、前記第1ガイド壁部の車幅方向外端から前方に延びる第1前後壁部と、前記第2ガイド壁部の車幅方向外端から前方に延び、前記第1ガイド壁部の車幅方向内端に接続する第2前後壁部と、を有し、
前記第1前後壁部は、前記サイドスカートの前後方向に延びる縁部に沿って延び、
前記第1前後壁部の下端位置は、上下方向について前記サイドスカートの下端位置と一致、又は、上下方向について前記サイドスカートの下端位置に対して下方に位置している、請求項2に記載の車体下部構造。
【請求項6】
前記側部カバー部材は、車幅方向について前記第1ガイド壁部と前記第2ガイド壁部との間に配置され、前記横壁部から上方に突出する交差壁部を有し、
前記交差壁部に車体側への固定部が設けられている、請求項2に記載の車体下部構造。
発明の詳細な説明
【技術分野】
【0001】
本発明は、車体下部構造に関する。
続きを表示(約 2,500 文字)
【背景技術】
【0002】
自動車の車体下部構造の一例として特許文献1に記載された車体下部構造が知られている。特許文献1に記載された車体下部構造は、車両の前後方向中央の床下に配置されバッテリユニットの下面を覆うバッテリアンダーカバーを有しており、走行中に路面からバッテリユニットに向かう水がバッテリアンダーカバーにより受けられることで、バッテリユニットの水濡れが抑制されている。
【0003】
そして、特許文献1に記載された車体下部構造では、床下やタイヤ全体による空気抵抗を低減すべく、リアディフレクタ(ストレーキとも言う)がリヤタイヤの前方に設けられ、整流機能を有する走行整流面がバッテリアンダーカバーに設けられている。
【先行技術文献】
【特許文献】
【0004】
特開2011-219042号公報
【発明の概要】
【発明が解決しようとする課題】
【0005】
しかしながら、特許文献1に記載された車体下部構造では、リヤタイヤ周辺における空気抵抗の低減が一般的なリアディフレクタ(ストレーキ)により図られているだけであるため、空気抵抗の更なる低減が求められ得る。また、リヤタイヤ周辺には、リヤサスペンションが配置され、リヤサスペンションは、通常、路面側に露出している。したがって、バッテリアンダーカバーの下面に沿って流れる空気(走行風)がリヤサスペンションに当たることになり、リヤサスペンションが空気抵抗の増加要因になり得る。また、リヤタイヤ周辺には、リヤサスペンション以外の部品又は部材が路面側に露出し且つ下方に突出するように配置され得る。このように、特許文献1に記載された車体下部構造では、空気抵抗の低減について改善の余地がある。なお、バッテリケースの下面を覆うバッテリアンダーカバーが設けられない場合もあり、この場合においても、同様に、空気抵抗の低減について改善の余地がある。
【0006】
そこで、本発明は、簡易な構造によってリヤタイヤ周辺における空気抵抗を低減することのできる車体下部構造を提供することを目的とする。
【課題を解決するための手段】
【0007】
上記目的を達成するため本発明の一態様によると、車両のフロア部の下方に配置されるバッテリケースと、前記フロア部の車幅方向外側部に沿って車両前後方向に延びるサイドシルと、を含む、前記バッテリケースの車幅方向外側において車両前後方向に延び前記バッテリケースと前記サイドシルとを連結するバッテリサイドメンバと、前記バッテリサイドメンバの後端部及び前記バッテリケースの後側角部に固定される側部カバー部材と、を含み、前記側部カバー部材は、前記バッテリケースの下面と平行に延びる横壁部と、当該横壁部の後端から下方に突出し且つ車幅方向に延びるガイド壁部と、を有し、前記ガイド壁部の下端は、前記バッテリサイドメンバの下面よりも下方に突出し、且つ、前記バッテリケースの下面又は該バッテリケースの下面を覆うバッテリアンダーカバーの下面よりも下方に突出している。
【発明の効果】
【0008】
本発明の一態様によれば、簡易な構造によってリヤタイヤ周辺における空気抵抗を低減することのできる車体下部構造を提供することができる。
【図面の簡単な説明】
【0009】
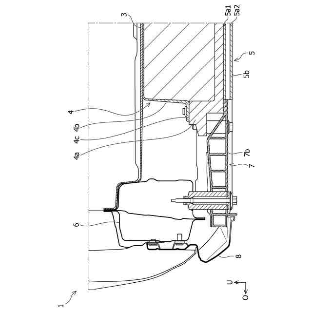
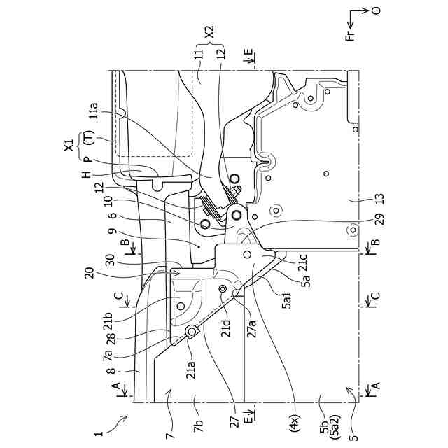
本発明の実施形態に係る車体下部構造を含む車体の下面図である。
車体下部構造の要部の拡大下面図である。
図2に示されたA-A線における断面図である。
車体下部構造の側部カバー部材及び補強部材を含む部分を上方から視た拡大斜視図である。
側部カバー部材の第1カバー部材を上方から視た斜視図である。
側部カバー部材の第1カバー部材を下方から視た斜視図である。
側部カバー部材の第2カバー部材と補強部材との接合状態を示す斜視図である。
車体下部構造の要部を下方から視た拡大斜視図である。
側部カバー部材及び補強部材が取り外された車体下部構造の要部を下方から視た拡大図斜視図である。
側部カバー部材が取り外された車体下部構造の要部を下方から視た拡大斜視図である。
第1カバー部材が取り外された車体下部構造の要部を下方から視た拡大斜視図である。
図2に示されたB-B線における断面図である。
図2に示されたC-C線における断面図である。
図8に示されたD-D線におけるカットモデルの斜視図である。
図2に示されたE-E線における断面図である。
車体下部構造の要部を下方から視た拡大斜視図である。
【発明を実施するための形態】
【0010】
以下、本発明の実施の形態について添付図面を参照して説明する。図1は本発明の一実施形態に係る車体下部構造1を含む車体の下面図であり、図2は車体下部構造1の要部の拡大下面図であり、図3は図2に示されたA-A線における断面図である。なお、図において、矢印Fr方向は車両前後方向で前方を示し、矢印O方向は車幅方向で車両外方を示し、矢印U方向は車両上下方向で上方を示している。以下の説明における「前」及び「後」は車両前後方向における前及び後に対応し、「上」及び「下」は車両上下方向における上及び下に対応し、「左」及び「右」は車内の乗員が車両前方を向いた状態での、車幅方向における左及び右に対応している。車体下部構造1は左右対称の構造を有しており、以下では、主に車体下部構造1の左側の部分について説明し、車体下部構造1の右側についての説明は省略する。車体下部構造1が適用される車両は、電気自動車又はエンジン及びモータを併せ持つハイブリッド自動車であり、本実施形態では、特に限定されるものではないが、電気自動車である。
(【0011】以降は省略されています)
この特許をJ-PlatPat(特許庁公式サイト)で参照する
関連特許
スズキ株式会社
車室構造
1か月前
スズキ株式会社
車両構造
1か月前
スズキ株式会社
開閉機構
1か月前
スズキ株式会社
車両構造
1か月前
スズキ株式会社
車両構造
1か月前
スズキ株式会社
車両構造
1か月前
スズキ株式会社
車両構造
1か月前
スズキ株式会社
車室構造
1か月前
スズキ株式会社
車室構造
1か月前
スズキ株式会社
車両構造
1か月前
スズキ株式会社
車両構造
1か月前
スズキ株式会社
車両構造
1か月前
スズキ株式会社
シート構造
1か月前
スズキ株式会社
シート構造
1か月前
スズキ株式会社
車体カバー
7日前
スズキ株式会社
リッド構造
今日
スズキ株式会社
リッド構造
今日
スズキ株式会社
燃料電池車両
2か月前
スズキ株式会社
車両制御装置
28日前
スズキ株式会社
動力伝達装置
28日前
スズキ株式会社
車両後部構造
1か月前
スズキ株式会社
車両検査装置
1か月前
スズキ株式会社
電源システム
今日
スズキ株式会社
車両制御装置
今日
スズキ株式会社
車体下部構造
今日
スズキ株式会社
車体下部構造
今日
スズキ株式会社
車両用変速機
今日
スズキ株式会社
運転支援装置
15日前
スズキ株式会社
車両側部構造
1か月前
スズキ株式会社
燃料電池車両
2か月前
スズキ株式会社
車両用荷室構造
1か月前
スズキ株式会社
車両の制御装置
1か月前
スズキ株式会社
車両の制御装置
1か月前
スズキ株式会社
車両用制御装置
1か月前
スズキ株式会社
車体ルーフ構造
1か月前
スズキ株式会社
車両用制御装置
1か月前
続きを見る
他の特許を見る