TOP
|
特許
|
意匠
|
商標
特許ウォッチ
Twitter
他の特許を見る
10個以上の画像は省略されています。
公開番号
2025153842
公報種別
公開特許公報(A)
公開日
2025-10-10
出願番号
2024056501
出願日
2024-03-29
発明の名称
車両構造
出願人
スズキ株式会社
代理人
個人
,
個人
,
個人
,
個人
,
個人
,
個人
主分類
B60R
19/48 20060101AFI20251002BHJP(車両一般)
要約
【課題】外装部材の車両内側に設けられるセンサ装置の変位を抑制して所望の検出精度を維持できる車両構造を提供する。
【解決手段】車両構造1は、車両の前部または後部に設けられ、車両外側の意匠面を形成する外装部材2と、外装部材2の車両内側に設けられ、車外環境を検出するセンサ装置Sを支持するセンサ支持部材3と、を備える。外装部材2は、車両のナンバープレートPを支持するプレート支持部21を含み、センサ支持部材3は、外装部材2のプレート支持部21に連結されている。
【選択図】図5
特許請求の範囲
【請求項1】
車両の前部または後部に設けられ、車両外側の意匠面を形成する外装部材と、
前記外装部材の車両内側に設けられ、車外環境を検出するセンサ装置を支持するセンサ支持部材と、を備える車両構造であって、
前記外装部材は、前記車両のナンバープレートを支持するプレート支持部を含み、
前記センサ支持部材は、前記プレート支持部に連結されていることを特徴とする車両構造。
続きを表示(約 1,100 文字)
【請求項2】
前記プレート支持部は、前記ナンバープレートが固定されるプレート固定部を有し、
前記センサ支持部材は、前記プレート固定部の周辺に連結されていることを特徴とする請求項1に記載の車両構造。
【請求項3】
前記外装部材は、前記センサ装置により送受信される検出波が透過する透過部を含み、
前記透過部は、前記プレート支持部に接続されていることを特徴とする請求項1に記載の車両構造。
【請求項4】
前記外装部材は、
車両内外方向に空気が流通する通気部と、
前記通気部の周縁から車両内側に延出し該周縁に沿って延びる延出部と、を含み、
前記透過部は、前記延出部を介して前記プレート支持部に接続されていることを特徴とする請求項3に記載の車両構造。
【請求項5】
前記外装部材は、車両内外方向に空気が流通する通気部を含み、
前記透過部は、前記通気部を挟んで前記プレート支持部とは反対側に配置されており、前記透過部の少なくとも一部分が、前記通気部の内側に張り出して前記プレート支持部に接続されていることを特徴とする請求項3に記載の車両構造。
【請求項6】
前記外装部材は、前記センサ装置により送受信される検出波が透過する透過部を含み、
前記センサ支持部材は、前記プレート支持部に加えて前記透過部の周辺にも連結されていることを特徴とする請求項1に記載の車両構造。
【請求項7】
前記センサ支持部材は、
前記センサ装置を支持する枠状のセンサ支持部と、
前記センサ支持部の周辺に配置され、前記外装部材の前記プレート支持部に連結される第1連結部と、を含むことを特徴とする請求項6に記載の車両構造。
【請求項8】
前記センサ支持部材は、前記第1連結部に対して車両幅方向外側に間隔を空けて配置され、前記外装部材の前記プレート支持部に連結される第2連結部を含むことを特徴とする請求項7に記載の車両構造。
【請求項9】
前記プレート支持部は、前記ナンバープレートが固定されるプレート固定部を有し、
前記センサ支持部材は、前記第1連結部および前記第2連結部の間に前記プレート固定部が配置されるように、前記プレート支持部に連結されていることを特徴とする請求項8に記載の車両構造。
【請求項10】
前記プレート支持部は、前記ナンバープレートが固定されるプレート固定部を有し、
前記センサ支持部材は、前記プレート固定部の周辺で前記プレート支持部に連結されていることを特徴とする請求項6に記載の車両構造。
発明の詳細な説明
【技術分野】
【0001】
本発明は、車外環境を検出するセンサ装置を外装部材に配置するための構造を含む車両構造に関する。
続きを表示(約 2,200 文字)
【背景技術】
【0002】
一般に、自動車等の車両の前部や後部には、車両外側の意匠面を構成するバンパやグリルなどの外装部材が設けられている。この外装部材の裏面などには、車外環境を検出するセンサ装置が設けられることがある。センサ装置としては、ミリ波やマイクロ波などの電波を検出波として用いるレーダ、レーザ光を検出波として用いるLiDAR(light detection and ranging)、超音波などの音波を検出波として用いる音波センサ(超音波センサ/ソナー)、撮像により車外環境を検出するカメラ(撮像装置)などがある。外装部材のうちセンサ装置に対向する領域は、検出波が透過可能な材料で構成された検出波透過部として形成され、センサカバーとして機能している。そして、検出精度を高めるべく、外装部材の検出波透過部(センサカバー)とセンサ装置との相対的な位置関係(相対距離及び相対角度)について、高い精度が要求される。
【0003】
センサ装置を外装部材に配置するための構造を有する従来の車両構造の一例として、特許文献1には、フロントグリルのパネル材を補強するフレーム材にレーダアンテナを固定する構造が開示されている。このような構造とすることで、検出波透過部(センサカバー)として機能するパネル材とレーダアンテナとの相対的な位置関係が調整し易くなる。
【先行技術文献】
【特許文献】
【0004】
特開2021-59268号公報
【発明の概要】
【発明が解決しようとする課題】
【0005】
ところで、上記特許文献1に開示されているフロントグリルのように、外装部材(パネル材)が車両内外方向に空気を流通させる通気部を有している場合、センサ装置(レーダアンテナ)を支持するセンサ支持部材(フレーム材)の側にも通気部を設けるか、または、外装部材の通気部を避けるようにセンサ支持部材の配置若しくは形状を設計する必要がある。この場合、センサ支持部材の形状や材質によっては、センサ装置周辺の支持部の剛性を十分に確保できなくなる可能性がある。支持部の剛性が不足すると、車両走行時の振動や風圧、軽衝突の外力等により、センサ装置の位置が変化してしまい、センサ装置の検出精度が低下するおそれがある。特に、開口面積の広い通気部が外装部材に設けられている場合に当該問題が生じ易く、センサ装置の変位を抑制して所望の検出精度を維持するという点で、改善の余地があった。
【0006】
本発明は上記の点に着目してなされたもので、外装部材の車両内側に設けられるセンサ装置の変位を抑制して所望の検出精度を維持できる車両構造を提供することを目的とする。
【課題を解決するための手段】
【0007】
上記の目的を達成するため本発明の一態様は、車両の前部または後部に設けられ、車両外側の意匠面を形成する外装部材と、前記外装部材の車両内側に設けられ、車外環境を検出するセンサ装置を支持するセンサ支持部材と、を備える車両構造を提供する。この車両構造において、前記外装部材は、前記車両のナンバープレートを支持するプレート支持部を含み、前記センサ支持部材は、前記プレート支持部に連結されている。
【発明の効果】
【0008】
本発明に係る車両構造によれば、外装部材の車両内側に設けられるセンサ装置の変位を抑制して所望の検出精度を維持することができる。
【図面の簡単な説明】
【0009】
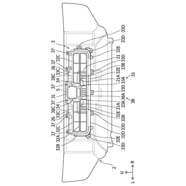
本発明の一実施形態に係る車両構造を前方斜め側方から見た斜視図である。
図1において外装部材およびグリル支持部材を取り外した状態を示す斜視図である。
図1の車両構造の要部を前方から見た正面図である。
図1の車両構造の要部を後方から見た背面図である。
図4においてエアガイド部材を取り外した状態を示す背面図である。
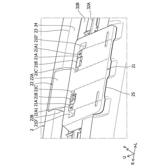
プレート支持部の周辺を前方斜め下方から見た拡大斜視図である。
プレート支持部の周辺を後方斜め上方から見た拡大斜視図である。
ナンバープレートの固定方法の一例を説明する図である。
センサ支持部材を前方斜め側方から見た斜視図である。
センサ支持部材を後方斜め側方から見た斜視図である。
【発明を実施するための形態】
【0010】
以下、本発明の実施形態について添付図面を参照しながら詳細に説明する。
図1~図5は、本発明の一実施形態に係る車両構造1を説明するための図である。図1は、車両構造1を前方斜め側方から見た斜視図であり、図2は、図1において外装部材2およびグリル支持部材の下枠部44を取り外した状態を示す斜視図である。また、図3は、車両構造1を前方から見た正面図であり、図4は、車両構造1を後方から見た背面図であり、図5は、図4においてエアガイド部材5を取り外した状態を示す背面図である。なお、以下で説明する各図面において、矢印F方向は車両前後方向で前方を示し、矢印U方向は車両上下方向で上方を示し、矢印R方向および矢印L方向は、車室内から車両前方を見たときの右方および左方を示している。
(【0011】以降は省略されています)
この特許をJ-PlatPat(特許庁公式サイト)で参照する
関連特許
スズキ株式会社
車両構造
24日前
スズキ株式会社
車室構造
24日前
スズキ株式会社
車室構造
24日前
スズキ株式会社
車両構造
24日前
スズキ株式会社
車両構造
24日前
スズキ株式会社
車両構造
24日前
スズキ株式会社
車両構造
24日前
スズキ株式会社
車両構造
24日前
スズキ株式会社
車両構造
24日前
スズキ株式会社
車両構造
24日前
スズキ株式会社
車室構造
24日前
スズキ株式会社
燃料電池車両
1か月前
スズキ株式会社
車両後部構造
18日前
スズキ株式会社
車両側部構造
6日前
スズキ株式会社
燃料電池車両
1か月前
スズキ株式会社
車両検査装置
19日前
スズキ株式会社
車両用制御装置
19日前
スズキ株式会社
車両用荷室構造
24日前
スズキ株式会社
車体ルーフ構造
24日前
スズキ株式会社
車両の制御装置
10日前
スズキ株式会社
車両用制御装置
7日前
スズキ株式会社
車両の制御装置
17日前
スズキ株式会社
衝突被害軽減装置
1か月前
スズキ株式会社
車両の可動ゲート
13日前
スズキ株式会社
車両の制御システム
10日前
スズキ株式会社
電動車両の後部構造
18日前
スズキ株式会社
電動車両の後部構造
18日前
スズキ株式会社
車両の制御システム
10日前
スズキ株式会社
車両の制御システム
1か月前
スズキ株式会社
車両の熱害防止構造
1か月前
スズキ株式会社
車両の制御システム
1か月前
スズキ株式会社
車両の照明制御装置
1か月前
スズキ株式会社
梱包対象物の緩衝部材
1か月前
スズキ株式会社
梱包対象物の緩衝部材
1か月前
スズキ株式会社
車両用リアバンパ構造
20日前
スズキ株式会社
梱包対象物の緩衝構造
1か月前
続きを見る
他の特許を見る