TOP
|
特許
|
意匠
|
商標
特許ウォッチ
Twitter
他の特許を見る
10個以上の画像は省略されています。
公開番号
2025176976
公報種別
公開特許公報(A)
公開日
2025-12-05
出願番号
2024083415
出願日
2024-05-22
発明の名称
車体下部構造
出願人
スズキ株式会社
代理人
個人
,
個人
,
個人
,
個人
,
個人
,
個人
主分類
B60K
1/04 20190101AFI20251128BHJP(車両一般)
要約
【課題】簡易な構造によってバッテリケースへの水のかかりを抑制する。
【解決手段】車体下部構造1は、車両のフロア部の下方に配置され、下ケース4aと下ケース4aに上方から取り付けられる上ケース4bとを有するバッテリケース4と、フロア部の車幅方向外側部に沿って車両前後方向に延びるサイドシル6と、バッテリケース4の車幅方向外側において車両前後方向に延びバッテリケース4とサイドシル6とを連結するバッテリサイドメンバ7と、バッテリサイドメンバ7の後端部7a及びバッテリケース4の後側角部4xに固定される側部カバー部材20と、を含み、側部カバー部材20は、バッテリサイドメンバ7の後端面7aに対向する第1対向壁部20Aと、バッテリケース4の後側角部4xにおける側面に対向する第2対向壁部20Bと、を有する。
【選択図】図8
特許請求の範囲
【請求項1】
車両のフロア部の下方に配置され、下ケースと該下ケースに上方から取り付けられる上ケースとを有するバッテリケースと、前記フロア部の車幅方向外側部に沿って車両前後方向に延びるサイドシルと、を含む、車体下部構造であって、
前記バッテリケースの車幅方向外側において車両前後方向に延び前記バッテリケースと前記サイドシルとを連結するバッテリサイドメンバと、
前記バッテリサイドメンバの後端部及び前記バッテリケースの後側角部に固定される側部カバー部材と、
を含み、
前記側部カバー部材は、前記バッテリサイドメンバの後端面に対向する第1対向壁部と、前記バッテリケースの前記後側角部における側面に対向する第2対向壁部と、を有する、ことを特徴とする車体下部構造。
続きを表示(約 970 文字)
【請求項2】
前記下ケースの前記合わせ面の位置が、車両上下方向について、前記サイドシルの前記下面の位置に対して高い場合には、前記第2対向壁部の上端は、車両上下方向について、少なくとも、前記サイドシルの前記下面の位置と一致する箇所又は前記下面の位置に対して上方にある箇所を有し、
前記下ケースの前記上ケースに対する合わせ面の位置が、車両上下方向について、前記サイドシルの下面の位置に対して低い場合には、前記第2対向壁部の上端は、車両上下方向について、少なくとも、前記下ケースの前記合わせ面の位置と一致する箇所又は前記合わせ面の位置に対して上方にある箇所を有する、請求項1に記載の車体下部構造。
【請求項3】
前記側部カバー部材は、前記バッテリサイドメンバの前記後側端部に固定される第1カバー部材と、前記バッテリケースの前記後側角部に固定される第2カバー部材と、を有し、
前記第1対向壁部は少なくとも前記第1カバー部材に設けられ、前記第2対向壁部は少なくとも前記第2カバー部材に設けられる、請求項1に記載の車体下部構造。
【請求項4】
前記第1カバー部材は樹脂製であり、前記第2カバー部材は金属薄板製である、請求項3に記載の車体下部構造。
【請求項5】
前記第1カバー部材は、前記第1対向壁部の下端から車両前後方向及び車幅方向に延びる第1横壁部を有し、
前記第1横壁部の前端部が前記バッテリサイドメンバの前記後端部に固定され、前記第1横壁部の車両前後方向中間部が前記サイドシルに固定される、請求項3に記載の車体下部構造。
【請求項6】
前記サイドシルの後端部の周辺に設けられ、リヤサスペンションのアームの先端部を保持する保持ブラケットと、
前記バッテリケースの前記後側角部と前記保持ブラケットとを連結すると共に、車両前後方向及び車幅方向に延びる板状の補強部材と、
を含み、
前記第2カバー部材は、前記補強部材の上面に固定されている、請求項3に記載の車体下部構造。
【請求項7】
前記第1対向壁部と前記第2対向壁部は互いに連続して延びるように接続されている、請求項1から6のいずれか一つに記載の車体下部構造。
発明の詳細な説明
【技術分野】
【0001】
本発明は、車体下部構造に関する。
続きを表示(約 2,300 文字)
【背景技術】
【0002】
自動車の車体下部構造の一例として特許文献1に記載された車体下部構造が知られている。特許文献1に記載された車体下部構造は、車両の前後方向中央の床下に配置されバッテリユニットの下面を覆うバッテリアンダーカバーを有しており、走行中に路面からバッテリユニットに向かう水がバッテリアンダーカバーにより受けられることで、バッテリユニットの水濡れが抑制されている。
【0003】
また、バッテリユニットは下ケースと下ケースに上方から取り付けられる上ケース(つまり蓋)とからなるバッテリケースを有し、当該バッテリケースの内部に、バッテリセル積層体や配線や回路基板などが装填されることが多い。そして、このようなバッテリユニットでは、パッキンなどのシール材が下ケースと上ケースとの間に設けられることが多い。したがって、バッテリユニットの水濡れがあっても、バッテリケースの内部への水の侵入がシール材によって抑制され得る。
【先行技術文献】
【特許文献】
【0004】
特開2011-219042号公報
【発明の概要】
【発明が解決しようとする課題】
【0005】
しかしながら、車体下部構造では、バッテリアンダーカバーの車幅方向外側部などに、車両の内部にアクセスするための開口が形成されることが多い。そのため、走行中や整備中などに、下方から当該開口を介して高水圧の水が下ケースと上ケースとの合わせ部(重なり部)からバッテリケースの内部に侵入するおそれがある。つまり、シール材によってシール性を持たせたバッテリケースであっても、バッテリケースの内部への水の侵入の抑制が十分ではない場合がある。一方、バッテリケースの全体を、別部品によって完全に覆うこともが考えられるが、この場合は、構造の複雑化及びコストアップを招いてしまう。
【0006】
そこで、本発明は、簡易な構造によってバッテリケースへの水のかかりを抑制することのできる車体下部構造を提供することを目的とする。
【課題を解決するための手段】
【0007】
上記目的を達成するため本発明の一態様によると、車両のフロア部の下方に配置され、下ケースと該下ケースに上方から取り付けられる上ケースとを有するバッテリケースと、前記フロア部の車幅方向外側部に沿って車両前後方向に延びるサイドシルと、を含む、車体下部構造が提供される。当該車体下部構造は、前記バッテリケースの車幅方向外側において車両前後方向に延び前記バッテリケースと前記サイドシルとを連結するバッテリサイドメンバと、前記バッテリサイドメンバの後端部及び前記バッテリケースの後側角部に固定される側部カバー部材と、を含み、前記側部カバー部材は、前記バッテリサイドメンバの後端面に対向する第1対向壁部と、前記バッテリケースの前記後側角部における側面に対向する第2対向壁部と、を有する。
【発明の効果】
【0008】
本発明の一態様によれば、簡易な構造によってバッテリケースへの水のかかりを抑制することのできる車体下部構造を提供することができる。
【図面の簡単な説明】
【0009】
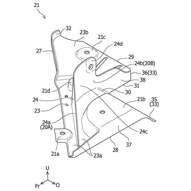
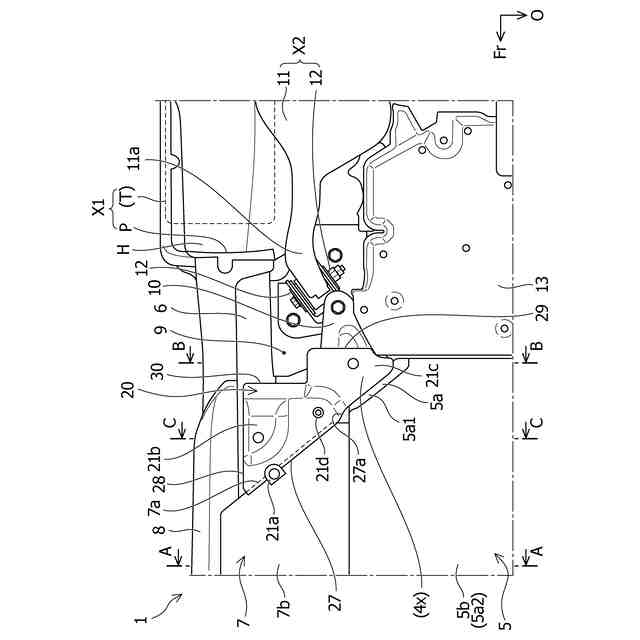
本発明の実施形態に係る車体下部構造を含む車体の下面図である。
車体下部構造の要部の拡大下面図である。
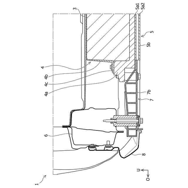
図2に示されたA-A線における断面図である。
車体下部構造の側部カバー部材及び補強部材を含む部分を上方から視た拡大斜視図である。
側部カバー部材の第1カバー部材を上方から視た斜視図である。
側部カバー部材の第1カバー部材を下方から視た斜視図である。
側部カバー部材の第2カバー部材と補強部材との接合状態を示す斜視図である。
車体下部構造の要部を下方から視た拡大斜視図である。
側部カバー部材及び補強部材が取り外された車体下部構造の要部を下方から視た拡大図斜視図である。
側部カバー部材が取り外された車体下部構造の要部を下方から視た拡大斜視図である。
第1カバー部材が取り外された車体下部構造の要部を下方から視た拡大斜視図である。
図2に示されたB-B線における断面図である。
図2に示されたC-C線における断面図である。
図8に示されたD-D線におけるカットモデルの斜視図である。
【発明を実施するための形態】
【0010】
以下、本発明の実施の形態について添付図面を参照して説明する。図1は本発明の一実施形態に係る車体下部構造1を含む車体の下面図であり、図2は車体下部構造1の要部の拡大下面図であり、図3は図2に示されたA-A線における断面図である。なお、図において、矢印Fr方向は車両前後方向で前方を示し、矢印O方向は車幅方向で車両外方を示し、矢印U方向は車両上下方向で上方を示している。以下の説明における「前」及び「後」は車両前後方向における前及び後に対応し、「上」及び「下」は車両上下方向における上及び下に対応し、「左」及び「右」は車内の乗員が車両前方を向いた状態での、車幅方向における左及び右に対応している。車体下部構造1は左右対称の構造を有しており、以下では、主に車体下部構造1の左側の部分について説明し、車体下部構造1の右側についての説明は省略する。車体下部構造1が適用される車両は、電気自動車又はエンジン及びモータを併せ持つハイブリッド自動車であり、本実施形態では、特に限定されるものではないが、電気自動車である。
(【0011】以降は省略されています)
この特許をJ-PlatPat(特許庁公式サイト)で参照する
関連特許
スズキ株式会社
車室構造
1か月前
スズキ株式会社
車室構造
1か月前
スズキ株式会社
車両構造
1か月前
スズキ株式会社
車室構造
1か月前
スズキ株式会社
車両構造
1か月前
スズキ株式会社
車両構造
1か月前
スズキ株式会社
車両構造
1か月前
スズキ株式会社
車両構造
1か月前
スズキ株式会社
車両構造
1か月前
スズキ株式会社
車両構造
1か月前
スズキ株式会社
車両構造
1か月前
スズキ株式会社
開閉機構
1か月前
スズキ株式会社
車体カバー
7日前
スズキ株式会社
シート構造
1か月前
スズキ株式会社
シート構造
1か月前
スズキ株式会社
リッド構造
今日
スズキ株式会社
リッド構造
今日
スズキ株式会社
動力伝達装置
28日前
スズキ株式会社
車両検査装置
1か月前
スズキ株式会社
車両制御装置
28日前
スズキ株式会社
車両後部構造
1か月前
スズキ株式会社
電源システム
今日
スズキ株式会社
運転支援装置
15日前
スズキ株式会社
車両側部構造
1か月前
スズキ株式会社
燃料電池車両
2か月前
スズキ株式会社
燃料電池車両
2か月前
スズキ株式会社
車両用変速機
今日
スズキ株式会社
車体下部構造
今日
スズキ株式会社
車体下部構造
今日
スズキ株式会社
車両制御装置
今日
スズキ株式会社
車両用荷室構造
1か月前
スズキ株式会社
車体ルーフ構造
1か月前
スズキ株式会社
車両用制御装置
1か月前
スズキ株式会社
車両の制御装置
2か月前
スズキ株式会社
車両用送風構造
2か月前
スズキ株式会社
車両用送風構造
2か月前
続きを見る
他の特許を見る