TOP
|
特許
|
意匠
|
商標
特許ウォッチ
Twitter
他の特許を見る
公開番号
2025171670
公報種別
公開特許公報(A)
公開日
2025-11-20
出願番号
2024077250
出願日
2024-05-10
発明の名称
運転支援装置
出願人
スズキ株式会社
代理人
弁理士法人日誠国際特許事務所
主分類
G08G
1/16 20060101AFI20251113BHJP(信号)
要約
【課題】適切な車線変更を行なって、渋滞の発生を抑制することができる運転支援装置を提供すること。
【解決手段】自車両1の外部と通信して自車両1の前方あるいは後方を走行する車両が巡航しようとする車速である巡航車速についての情報を取得する通信装置2と、視覚、聴覚などを通じて運転者に指示を伝達する指示装置4と、運転者に画像で情報を伝達する表示装置5と、巡航車速に基づいて自車両1の車線変更に関して自車両1の運転を支援する制御装置6と、を備える。
【選択図】図1
特許請求の範囲
【請求項1】
自車両の車線変更に関して運転支援を行なう運転支援装置であって、
前記自車両の外部と通信して前記自車両の前方あるいは後方を走行する車両が巡航しようとする車速である巡航車速についての情報を取得する通信装置と、
前記巡航車速に基づいて前記自車両の車線変更に関して前記自車両の運転を支援する制御装置と、を備える運転支援装置。
続きを表示(約 1,000 文字)
【請求項2】
前記制御装置は、前記通信装置により取得された走行車線上を走行中でかつ前記自車両の前方を走行する前方車両が巡航しようとする車速である前方車両巡航車速と、前記自車両が巡航しようとする車速である自車両巡航車速とを比較して、前記前方車両の前方への車線変更と、前記前方車両の後方への車線変更のいずれかを選択する請求項1に記載の運転支援装置。
【請求項3】
前記制御装置は、前記自車両巡航車速が前記前方車両巡航車速よりも高い場合、前記前方車両の前方への車線変更を選択し、前記自車両巡航車速が前記前方車両巡航車速以下である場合、前記前方車両の後方への車線変更を選択する請求項2に記載の運転支援装置。
【請求項4】
前記制御装置は、前記自車両が追越車線を走行中で、追越車線を走行中でかつ前記自車両の後方を走行する後方車両がある場合、前記自車両が前記自車両の前方を走行する前方車両の追い越しに要する第1時間と、前記通信装置により取得された前記後方車両が巡航しようとする車速である後方車両巡航車速に基づいて前記後方車両が前記自車両に追いつく第2時間とを算出し、前記第1時間と前記第2時間を比較して前記自車両による前記前方車両の追い越しと、走行車線への車線変更とのいずれかを選択する請求項1に記載の運転支援装置。
【請求項5】
前記制御装置は、前記第1時間が前記第2時間よりも長い場合、前記自車両の走行車線への車線変更を選択し、前記第1時間が前記第2時間以下である場合、前記自車両による前記前方車両の追い越しを選択する請求項4に記載の運転支援装置。
【請求項6】
前記制御装置は、前記自車両が走行車線から追越車線へ車線変更するときに、前記通信装置により取得された追越車線を走行中でかつ前記自車両の後方を走行する後方車両が巡航しようとする車速である後方車両巡航車速と、前記自車両が巡航しようとする車速である自車両巡航車速とを比較して、前記後方車両の前方への車線変更と、前記後方車両の後方への車線変更のいずれかを選択する請求項1に記載の運転支援装置。
【請求項7】
前記制御装置は、前記自車両巡航車速が前記後方車両巡航車速よりも高い場合、前記後方車両の前方への車線変更を選択し、前記自車両巡航車速が前記後方車両巡航車速以下である場合、前記後方車両の後方への車線変更を選択する請求項6に記載の運転支援装置。
発明の詳細な説明
【技術分野】
【0001】
本発明は、運転支援装置に関する。
続きを表示(約 1,200 文字)
【背景技術】
【0002】
特許文献1には、自車両が追越車線を走行中であると判定され、かつ自車両の走行状態が渋滞の発生原因であると判定される場合、自車両の走行速度に基づき、自車両の車線変更に要する時間を算出した算出結果と、予め設定される基準時間とを比較し、算出結果の方が大きければ、自車両を加速させて並走する他車両を追い越し他車両の前方に車線変更するか、または、他車両の後方へ車線変更する旨を、運転者に対して報知することが記載されている。
【0003】
例えば、自車両が追越車線を走行して走行車線を走行する他車両を追い越した後、自車両の前方を走行する前方車両が追越車線から走行車線へ車線変更した時に、車線変更した前方車両の前方へ車線変更する。あるいは車線変更した前方車両の後方へ車線変更する。この際に、自車両の実車速及び前方車両の実車速に基づいて、前方車両の前方への車線変更と前方車両の後方への車線変更のいずれを選択するかを判断している。
【先行技術文献】
【特許文献】
【0004】
特開2009-286274号公報
【発明の概要】
【発明が解決しようとする課題】
【0005】
しかしながら、自車両の実車速と自車両の巡航したい車速とが相違することがある。また、前方車両の実車速と前方車両の巡航したい車速とが相違することがある。
【0006】
自車両の実車速及び前方車両の実車速に基づいて、前方車両の前方への車線変更と前方車両の後方への車線変更のいずれを選択するかを判断した場合、自車両が不必要な車線変更を行ない、その結果、後続車両の進行を妨げ、渋滞の発生原因になる可能性がある。
【0007】
一般に、自車両の実車速と自車両の巡航したい車速とが相違する場合、前方車両の実車速と前方車両の巡航したい車速とが相違する場合、また、後方車両の実車速と後方車両の巡航したい車速とが相違する場合、不適切な車線変更を行なってしまい、渋滞の発生原因になるという課題があった。
【0008】
そこで、本発明は、適切な車線変更を行なって、渋滞の発生を抑制することができる運転支援装置を提供することを目的としている。
【課題を解決するための手段】
【0009】
上記課題を解決するため本発明は、自車両の車線変更に関して運転支援を行なう運転支援装置であって、前記自車両の外部と通信して前記自車両の前方あるいは後方を走行する車両が巡航しようとする車速である巡航車速についての情報を取得する通信装置と、前記巡航車速に基づいて前記自車両の車線変更に関して前記自車両の運転を支援する制御装置と、を備えるものである。
【発明の効果】
【0010】
このように、本発明によれば、適切な車線変更を行なって、渋滞の発生を抑制することができる。
【図面の簡単な説明】
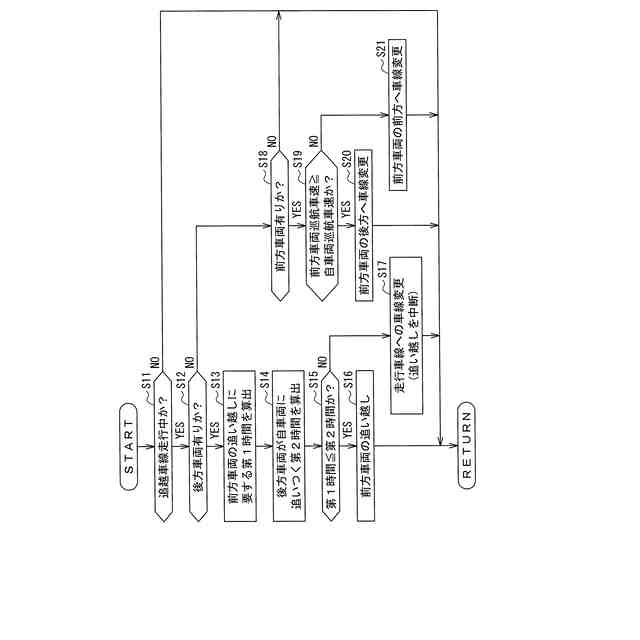
(【0011】以降は省略されています)
この特許をJ-PlatPat(特許庁公式サイト)で参照する
関連特許
スズキ株式会社
リッド構造
6日前
スズキ株式会社
リッド構造
6日前
スズキ株式会社
車体カバー
13日前
スズキ株式会社
車体下部構造
6日前
スズキ株式会社
車両制御装置
6日前
スズキ株式会社
電源システム
6日前
スズキ株式会社
車両用変速機
6日前
スズキ株式会社
車体下部構造
6日前
スズキ株式会社
運転支援装置
21日前
スズキ株式会社
車両前部構造
今日
スズキ株式会社
パーツボックス
21日前
スズキ株式会社
パーツボックス
21日前
スズキ株式会社
車両用制御装置
6日前
スズキ株式会社
車両の制御装置
今日
スズキ株式会社
車両の制御装置
今日
スズキ株式会社
車両の制御装置
今日
スズキ株式会社
車両の制御装置
今日
スズキ株式会社
車両の制御装置
15日前
スズキ株式会社
車両用ルーフ構造
1か月前
スズキ株式会社
操作装置の設置構造
6日前
スズキ株式会社
内燃機関の制御装置
13日前
スズキ株式会社
自動変速機システム
1日前
スズキ株式会社
バイフューエル車両
6日前
スズキ株式会社
内燃機関の吸気装置
21日前
スズキ株式会社
エンジン冷却システム
今日
スズキ株式会社
タイヤ径算出システム
7日前
スズキ株式会社
エンジンの排気浄化装置
29日前
スズキ株式会社
エンジンの排気浄化装置
29日前
スズキ株式会社
導電性ゴム部材の接続構造
13日前
スズキ株式会社
小型電動車両の動力伝達装置
1日前
スズキ株式会社
車両用ルーフライニング構造
1か月前
スズキ株式会社
車両用コンプレッサ制御方法
15日前
スズキ株式会社
車両用スライドボード周辺構造
6日前
日本発條株式会社
車両用シート
13日前
スズキ株式会社
車両のニーエアバッグ取付け構造
1日前
スズキ株式会社
ハイブリッド車両の動力伝達装置
1日前
続きを見る
他の特許を見る