TOP
|
特許
|
意匠
|
商標
特許ウォッチ
Twitter
他の特許を見る
公開番号
2025177623
公報種別
公開特許公報(A)
公開日
2025-12-05
出願番号
2024084638
出願日
2024-05-24
発明の名称
車両用スライドボード周辺構造
出願人
スズキ株式会社
代理人
個人
,
個人
主分類
B60R
5/04 20060101AFI20251128BHJP(車両一般)
要約
【課題】シートバックにスライドボードが当接して痕または傷が付くことを防止することができる車両用スライドボード周辺構造を提供する。
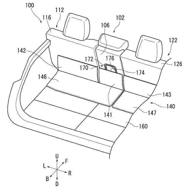
【解決手段】前後にスライド可能な車両の後部座席102のシートバック106であって前後に傾倒可能なシートバック106と、後部座席102の後方のラゲッジボード160からシートバック106まで延びていて後部座席102のスライドに追従して前後にスライドし後部座席102の位置に応じて後部座席102とラゲッジボード160との間に生じる隙間Gを覆うスライドボード140とを備える車両用スライドボード周辺構造100において、所定の起立した状態にあるシートバック106から上下方向にわたって後方に突出していてシートバック106よりも硬質でありスライドボード140に接触する第1凸形状部170を備える。
【選択図】図1
特許請求の範囲
【請求項1】
前後にスライド可能な車両の後部座席のシートバックであって前後に傾倒可能なシートバックと、
前記後部座席の後方の荷室フロアから前記シートバックまで延びていて前記後部座席のスライドに追従して前後にスライドし前記後部座席の位置に応じて該後部座席と前記荷室フロアとの間に生じる隙間を覆うスライドボードとを備える車両用スライドボード周辺構造において、
前記スライドボードが前記シートバックを覆う範囲は該シートバックの傾倒の状態に応じて異なり、
当該車両用スライドボード周辺構造はさらに、所定の起立した状態にある前記シートバックから上下方向にわたって後方に突出していて該シートバックよりも硬質であり前記スライドボードに接触する第1凸形状部を備えることを特徴とする車両用スライドボード周辺構造。
続きを表示(約 630 文字)
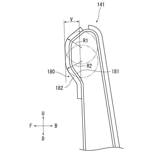
【請求項2】
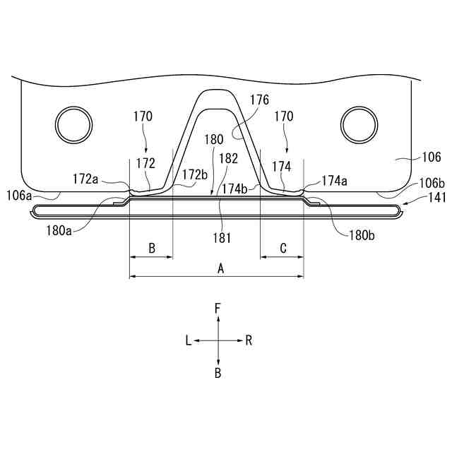
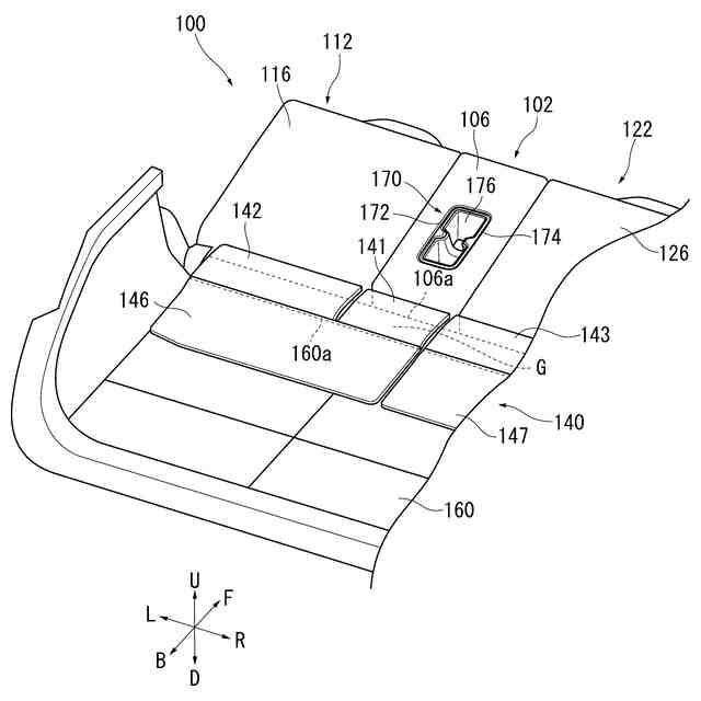
前記第1凸形状部は、車幅方向に互いに離間した2つの長尺部材を含み、
前記スライドボードには、前記シートバックに向かって突出する1つ以上の第2凸形状部が形成されていて、該第2凸形状部は、前記シートバックが前記所定の起立した状態のときに前記2つの長尺部材にのみ接触することを特徴とする請求項1に記載の車両用スライドボード周辺構造。
【請求項3】
前記第2凸形状部における前記スライドボードの先端側および基端側の曲率半径は、前記第2凸形状部が前記シートバックに向かって突出する突出量よりも大きいことを特徴とする請求項2に記載の車両用スライドボード周辺構造。
【請求項4】
前記第2凸形状部の表面には緩衝材が設けられていることを特徴とする請求項2に記載の車両用スライドボード周辺構造。
【請求項5】
前記第2凸形状部は、前記第1凸形状部の2つの長尺部材の車幅方向外側の縁同士の距離と等しい車幅方向寸法を有し、
前記第1凸形状部の2つの長尺部材の間には凹んだ凹形状部が形成されていることを特徴とする請求項2に記載の車両用スライドボード周辺構造。
【請求項6】
前記シートバックが前方に傾倒したときに、該シートバックはアームレストとなり、前記第1凸形状部はドリンクホルダーとなることを特徴とする請求項1から5のいずれか1項に記載の車両用スライドボード周辺構造。
発明の詳細な説明
【技術分野】
【0001】
本発明は、車両用スライドボード周辺構造に関するものである。
続きを表示(約 1,900 文字)
【背景技術】
【0002】
例えば特許文献1には、後部座席のシートバックの後方にスライドボードが設けられ、このスライドボードは、シートバックが起立した状態のときにシートバックに当接し、シートバックが倒れた状態のときにシートバックと共に倒れる構成が開示されている。
【先行技術文献】
【特許文献】
【0003】
特開2016-124525号公報
【発明の概要】
【発明が解決しようとする課題】
【0004】
この特許文献1に記載の構成において、後部座席と後部座席との間に仮にもう一つの後部座席を追加し、この追加した後部座席のシートバックを前方に倒してアームレストとして用いる場合を想定する。この場合に、シートバックの背面にあるアームレストの面が軟らかい材質で構成されていると、シートバックが起立した状態のときにこのアームレストの面にはスライドボードが当接して痕や傷が付いてしまう可能性がある。
【0005】
本発明はこのような課題に鑑み、シートバックにスライドボードが当接して痕または傷が付くことを防止することができる車両用スライドボード周辺構造を提供することを目的としている。
【課題を解決するための手段】
【0006】
上記課題を解決するために、本発明の代表的な構成は、前後にスライド可能な車両の後部座席のシートバックであって前後に傾倒可能なシートバックと、後部座席の後方の荷室フロアからシートバックまで延びていて後部座席のスライドに追従して前後にスライドし後部座席の位置に応じて後部座席と荷室フロアとの間に生じる隙間を覆うスライドボードとを備える車両用スライドボード周辺構造において、スライドボードがシートバックを覆う範囲はシートバックの傾倒の状態に応じて異なり、車両用スライドボード周辺構造はさらに、所定の起立した状態にあるシートバックから上下方向にわたって後方に突出していてシートバックよりも硬質でありスライドボードに接触する第1凸形状部を備えることを特徴とする。
【発明の効果】
【0007】
本発明によれば、スライドボードは、シートバックに近づくと第1凸形状部に当接するので、シートバックに当接することが防止される。したがって、シートバックにスライドボードが当接して痕または傷が付くことが防止される。
【図面の簡単な説明】
【0008】
本発明の実施例に係る車両用スライドボード周辺構造が適用された車両の後部を斜め後方から見た斜視図である。
図1の車両用スライドボード周辺構造においてシートバックおよびスライドボードのボード前部を前方に倒した状態を斜め後方から見た斜視図である。
図1の車両用スライドボード周辺構造が有するシートバックを斜め後方から見た斜視図である。
図1の車両用スライドボード周辺構造が有するスライドボードのボード前部を斜め前方から見た斜視図である。
図1の車両用スライドボード周辺構造の一部を上方から見た断面図である。
図4のスライドボードを側方から見た断面図である。
【発明を実施するための形態】
【0009】
本発明の一実施の形態は、前後にスライド可能な車両の後部座席のシートバックであって前後に傾倒可能なシートバックと、後部座席の後方の荷室フロアからシートバックまで延びていて後部座席のスライドに追従して前後にスライドし後部座席の位置に応じて後部座席と荷室フロアとの間に生じる隙間を覆うスライドボードとを備える車両用スライドボード周辺構造において、スライドボードがシートバックを覆う範囲はシートバックの傾倒の状態に応じて異なり、車両用スライドボード周辺構造はさらに、所定の起立した状態にあるシートバックから上下方向にわたって後方に突出していてシートバックよりも硬質でありスライドボードに接触する第1凸形状部を備えることを特徴とする。
【0010】
本発明によれば、スライドボードは、シートバックに近づくと第1凸形状部に当接するので、シートバックに当接することが防止される。したがって、シートバックにスライドボードが当接して痕または傷が付くことが防止される。また、第1凸形状部が硬い材質で成形されているので、シートバックの動作時にスライドボードとの間に生じる摩擦が低減され、ユーザはシートバックを容易に動作させることができる。
(【0011】以降は省略されています)
この特許をJ-PlatPat(特許庁公式サイト)で参照する
関連特許
スズキ株式会社
開閉機構
1か月前
スズキ株式会社
リッド構造
1日前
スズキ株式会社
リッド構造
1日前
スズキ株式会社
シート構造
1か月前
スズキ株式会社
シート構造
1か月前
スズキ株式会社
車体カバー
8日前
スズキ株式会社
電源システム
1日前
スズキ株式会社
運転支援装置
16日前
スズキ株式会社
車両側部構造
1か月前
スズキ株式会社
車両制御装置
1日前
スズキ株式会社
車体下部構造
1日前
スズキ株式会社
車体下部構造
1日前
スズキ株式会社
車両用変速機
1日前
スズキ株式会社
車両制御装置
29日前
スズキ株式会社
動力伝達装置
29日前
スズキ株式会社
パーツボックス
16日前
スズキ株式会社
パーツボックス
16日前
スズキ株式会社
車両の制御装置
10日前
スズキ株式会社
車両用制御装置
1日前
スズキ株式会社
車両用制御装置
1か月前
スズキ株式会社
車両用ルーフ構造
29日前
スズキ株式会社
内燃機関の制御装置
8日前
スズキ株式会社
操作装置の設置構造
1日前
スズキ株式会社
内燃機関の吸気装置
16日前
スズキ株式会社
バイフューエル車両
1日前
スズキ株式会社
車両の速度制御装置
1か月前
スズキ株式会社
タイヤ径算出システム
2日前
スズキ株式会社
エンジンの排気浄化装置
24日前
スズキ株式会社
エンジンの排気浄化装置
24日前
スズキ株式会社
導電性ゴム部材の接続構造
8日前
スズキ株式会社
多気筒エンジンの制御装置
1か月前
スズキ株式会社
車両用コンプレッサ制御方法
10日前
スズキ株式会社
車両用ルーフライニング構造
29日前
スズキ株式会社
車両用スライドボード周辺構造
1日前
スズキ株式会社
ハイブリッド車両の動力伝達装置
16日前
スズキ株式会社
ハイブリッド車両の動力伝達装置
29日前
続きを見る
他の特許を見る