TOP
|
特許
|
意匠
|
商標
特許ウォッチ
Twitter
他の特許を見る
公開番号
2025167209
公報種別
公開特許公報(A)
公開日
2025-11-07
出願番号
2024071620
出願日
2024-04-25
発明の名称
ハイブリッド車両の動力伝達装置
出願人
スズキ株式会社
代理人
弁理士法人日誠国際特許事務所
主分類
B60K
6/40 20071001AFI20251030BHJP(車両一般)
要約
【課題】小型化を図りつつ、ケースに潤滑油を封入した状態で内燃機関および回転電機と変速機との間に容易に組付けることができ、組付け作業の作業性を向上できるハイブリッド車両の動力伝達装置を提供すること。
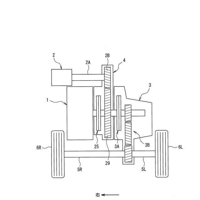
【解決手段】動力伝達装置4において、クラッチ出力部材27の内端部側にはダンパ21と内燃機関1のクランクシャフト1Bとを接続する作業空間43が開口している。ダンパ入力部材22のシャフト取付部22Aの外周部22dとケース10との間にオイルシール12Bが配置されており、クラッチ出力部材27の中間筒状部27Dの外周部27cとケース10との間にオイルシール12Cが配置されている。ダンパ21と湿式クラッチ25が収容されたケース10の収容空間45は、オイルシール12Bとオイルシール12Cによって作業空間43に対して液密的に密閉されている。
【選択図】図1
特許請求の範囲
【請求項1】
内燃機関と変速機の間に配置され、回転電機からの動力を前記変速機に伝達し、かつ、前記内燃機関と前記変速機との間で動力を断接可能なクラッチを有するハイブリッド車両の動力伝達装置であって、
前記クラッチを収容するケースと、
前記ケースに収容されるとともに前記クラッチと前記内燃機関の間に配置され、前記内燃機関の回転変動を吸収するダンパとを有し、
前記ダンパは、内端部が前記内燃機関に接続され、前記内燃機関の動力が伝達されるダンパ入力部材と、前記内燃機関の動力を前記クラッチに伝達可能なダンパ出力部材と、円周方向で前記ダンパ入力部材と前記ダンパ出力部材の間に配置された弾性部材とを含んで構成され、
前記クラッチは、前記ダンパ出力部材と一体に設けられて内端部に第1の摩擦プレートが設けられたクラッチ入力部材と、外端部に前記第1の摩擦プレートと断接可能な第2の摩擦プレートが設けられるとともに、内端部が前記変速機に接続されて前記変速機の回転軸と一体で回転するクラッチ出力部材とを含んで構成されており、
前記クラッチ出力部材の内端部側に、前記ダンパを前記内燃機関に組付ける組付け作業が可能な作業空間が開口しており、
前記ダンパ入力部材と前記ケースとの間に第1のオイルシールが配置されており、
前記クラッチ出力部材と前記ケースとの間に第2のオイルシールが配置されており、
前記ダンパと前記クラッチが収容された前記ケースの収容空間は、前記第1のオイルシールと前記第2のオイルシールによって前記作業空間に対して液密的に密閉されていることを特徴とするハイブリッド車両の動力伝達装置。
続きを表示(約 210 文字)
【請求項2】
前記回転電機の動力が入力される駆動ギヤと、
前記クラッチ出力部材の外端部に設けられ、前記駆動ギヤに噛み合う従動ギヤとを有し、
前記従動ギヤと前記弾性部材は、前記クラッチの回転中心軸方向に並んで配置されており、
前記従動ギヤに対して径方向内方に前記第1の摩擦プレートと第2の摩擦プレートが配置されていることを特徴とする請求項1に記載のハイブリッド車両の動力伝達装置。
発明の詳細な説明
【技術分野】
【0001】
本発明は、ハイブリッド車両の動力伝達装置に関する。
続きを表示(約 1,700 文字)
【背景技術】
【0002】
内燃機関またはモータの何れか一方の動力を、変速機を介して駆動輪に伝達するハイブリッド車両の駆動装置が知られている(特許文献1参照)。
【0003】
この駆動装置は、内燃機関と変速機との間に設けられ、内燃機関と変速機とを接続または分離するメインクラッチと、モータの動力を第1の動力伝達部に対して伝達または遮断可能な第1クラッチと、モータの動力を第2の動力伝達部に対して伝達または遮断可能な第2クラッチとを備えている。
【先行技術文献】
【特許文献】
【0004】
特開2003-165348号公報
【発明の概要】
【発明が解決しようとする課題】
【0005】
しかしながら、特許文献1に記載の駆動装置は、内燃機関と変速機との間およびモータと変速機の間に動力を接続または分離可能なメインクラッチ、第1クラッチおよび第2クラッチが設けられているが、これらのクラッチをコンパクトに配置する具体的な構成の記載がない上に、クラッチの部品点数が増大し、駆動装置が大型化するおそれがある。
【0006】
また、内燃機関と変速機の間で内燃機関の回転変動を吸収するダンパを設ける場合に、駆動装置の部品点数がさらに増加し、駆動装置がより一層大型化するおそれがある。
【0007】
したがって、モータの動力を断接するクラッチやダンパを内燃機関と変速機との間に配置するために、駆動装置の部品点数が多くなるので、内燃機関およびモータと変速機との間に駆動装置を組付ける作業が面倒となり、駆動装置の組付け作業の作業性が悪化するおそれがある。
【0008】
本発明は、上記のような事情に着目してなされたものであり、小型化を図りつつ、ケースに潤滑油を封入した状態で内燃機関および回転電機と変速機との間に容易に組付けることができ、組付け作業の作業性を向上できるハイブリッド車両の動力伝達装置を提供することを目的とするものである。
【課題を解決するための手段】
【0009】
本発明は、内燃機関と変速機の間に配置され、回転電機からの動力を前記変速機に伝達し、かつ、前記内燃機関と前記変速機との間で動力を断接可能なクラッチを有するハイブリッド車両の動力伝達装置であって、前記クラッチを収容するケースと、前記ケースに収容されるとともに前記クラッチと前記内燃機関の間に配置され、前記内燃機関の回転変動を吸収するダンパとを有し、前記ダンパは、内端部が前記内燃機関に接続され、前記内燃機関の動力が伝達されるダンパ入力部材と、前記内燃機関の動力を前記クラッチに伝達可能なダンパ出力部材と、円周方向で前記ダンパ入力部材と前記ダンパ出力部材の間に配置された弾性部材とを含んで構成され、前記クラッチは、前記ダンパ出力部材と一体に設けられて内端部に第1の摩擦プレートが設けられたクラッチ入力部材と、外端部に前記第1の摩擦プレートと断接可能な第2の摩擦プレートが設けられるとともに、内端部が前記変速機に接続されて前記変速機の回転軸と一体で回転するクラッチ出力部材とを含んで構成されており、前記クラッチ出力部材の内端部側に、前記ダンパを前記内燃機関に組付ける組付け作業が可能な作業空間が開口しており、前記ダンパ入力部材と前記ケースとの間に第1のオイルシールが配置されており、前記クラッチ出力部材と前記ケースとの間に第2のオイルシールが配置されており、前記ダンパと前記クラッチが収容された前記ケースの収容空間は、前記第1のオイルシールと前記第2のオイルシールによって前記作業空間に対して液密的に密閉されていることを特徴とする。
【発明の効果】
【0010】
このように上記の本発明によれば、動力伝達装置の小型化を図りつつ、ケースに潤滑油を封入した状態で内燃機関および回転電機と変速機との間に動力伝達装置を容易に組付けることができ、動力伝達装置の組付け作業の作業性を向上できる。
【図面の簡単な説明】
(【0011】以降は省略されています)
この特許をJ-PlatPat(特許庁公式サイト)で参照する
関連特許
スズキ株式会社
車室構造
1か月前
スズキ株式会社
車室構造
1か月前
スズキ株式会社
車両構造
1か月前
スズキ株式会社
車室構造
1か月前
スズキ株式会社
車両構造
1か月前
スズキ株式会社
車両構造
1か月前
スズキ株式会社
車両構造
1か月前
スズキ株式会社
車両構造
1か月前
スズキ株式会社
車両構造
1か月前
スズキ株式会社
車両構造
1か月前
スズキ株式会社
車両構造
1か月前
スズキ株式会社
開閉機構
1か月前
スズキ株式会社
車体カバー
7日前
スズキ株式会社
シート構造
1か月前
スズキ株式会社
シート構造
1か月前
スズキ株式会社
リッド構造
今日
スズキ株式会社
リッド構造
今日
スズキ株式会社
動力伝達装置
28日前
スズキ株式会社
車両検査装置
1か月前
スズキ株式会社
車両制御装置
28日前
スズキ株式会社
車両後部構造
1か月前
スズキ株式会社
電源システム
今日
スズキ株式会社
運転支援装置
15日前
スズキ株式会社
車両側部構造
1か月前
スズキ株式会社
燃料電池車両
2か月前
スズキ株式会社
燃料電池車両
2か月前
スズキ株式会社
車両用変速機
今日
スズキ株式会社
車体下部構造
今日
スズキ株式会社
車体下部構造
今日
スズキ株式会社
車両制御装置
今日
スズキ株式会社
車両用荷室構造
1か月前
スズキ株式会社
車体ルーフ構造
1か月前
スズキ株式会社
車両用制御装置
1か月前
スズキ株式会社
車両の制御装置
2か月前
スズキ株式会社
車両用送風構造
2か月前
スズキ株式会社
車両用送風構造
2か月前
続きを見る
他の特許を見る