TOP
|
特許
|
意匠
|
商標
特許ウォッチ
Twitter
他の特許を見る
公開番号
2025177576
公報種別
公開特許公報(A)
公開日
2025-12-05
出願番号
2024084536
出願日
2024-05-24
発明の名称
リッド構造
出願人
スズキ株式会社
代理人
個人
,
個人
,
個人
主分類
B60K
15/05 20060101AFI20251128BHJP(車両一般)
要約
【課題】トレイの内側に作業スペースを確保して作業性を向上させる。
【解決手段】車両には燃料タンク又はバッテリが設置されている。この車両のリッド構造(30)には、燃料タンクの給油口又はバッテリの接続口(27)の周囲を覆うトレイ(31)と、給油口又は接続口を露出したトレイの開口を開閉するリッド(41)と、が設けられている。トレイの内周面の一部から突起部(62)が突き出してリッドをロックしており、トレイの内周面の一部がトレイの内底面に向かって給油口又は接続口の中心線から遠ざかるように傾斜している。
【選択図】図3
特許請求の範囲
【請求項1】
燃料タンク又はバッテリが設置された車両のリッド構造であって、
前記燃料タンクの給油口又は前記バッテリの接続口の周囲を覆うトレイと、
前記給油口又は前記接続口を露出した前記トレイの開口を開閉するリッドと、を備え、
前記トレイの内周面の一部から突起部が突き出して前記リッドをロックしており、
前記トレイの内周面の一部が前記トレイの内底面に向かって前記給油口又は前記接続口の中心線から遠ざかるように傾斜していることを特徴とするリッド構造。
続きを表示(約 600 文字)
【請求項2】
前記トレイの内周面の一部が、前記トレイの開口縁から内底面に向かって傾斜していることを特徴とする請求項1に記載のリッド構造。
【請求項3】
前記トレイの内周面の一部が当該トレイの上面であり、
前記トレイの上面が前記トレイの内底面に向かって前記給油口又は前記接続口の中心線から上方に遠ざかるように傾斜していることを特徴とする請求項1又は請求項2に記載のリッド構造。
【請求項4】
前記給油口又は前記接続口の中心線の法線方向に対して、前記突起部の突出方向が前記トレイの内底面側に傾けられていることを特徴とする請求項1又は請求項2に記載のリッド構造。
【請求項5】
前記突起部が前下がりになるように傾けられていることを特徴とする請求項4に記載のリッド構造。
【請求項6】
前記突起部によって前記リッドを閉状態でロックするロック機構を備え、
前記トレイの周壁の外側に窪んだ凹部に前記トレイの内周面の一部が位置し、
前記リッドの開放端側には前記トレイの凹部に入り込む膨出部が形成され、
前記突起部が前記凹部の内側で前記トレイの内周面の一部から沈み込み可能に突き出し、
前記膨出部には前記突起部が入り込むロック穴が形成されていることを特徴とする請求項1又は請求項2に記載のリッド構造。
発明の詳細な説明
【技術分野】
【0001】
本発明は、リッド構造に関する。
続きを表示(約 1,800 文字)
【背景技術】
【0002】
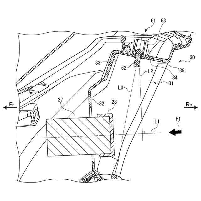
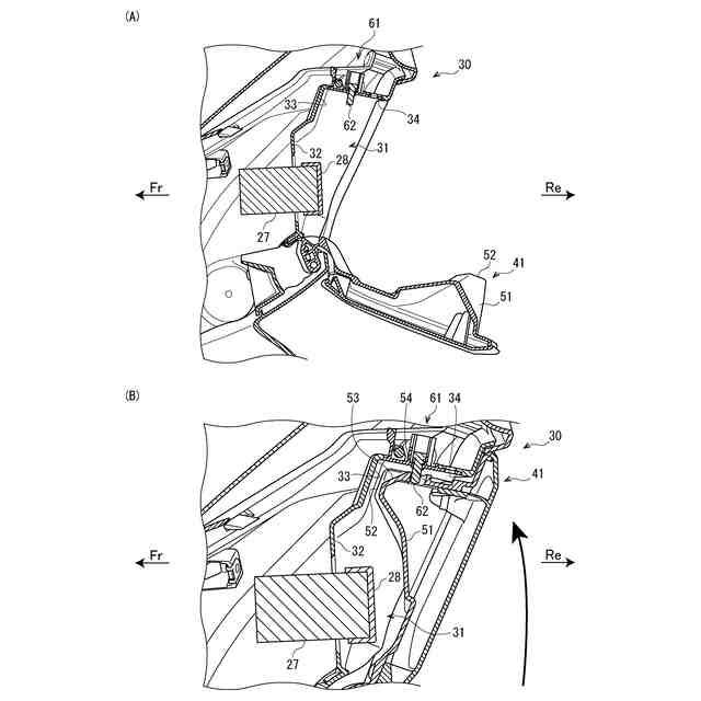
鞍乗型車両等では、燃料タンクの給油口を覆うフューエルリッドを備えたものが知られている(例えば、特許文献1参照)。特許文献1に記載のフューエルリッドの基端部がフューエルトレイに揺動可能に支持されており、フューエルリッドの開放端には掛留片が設けられている。フューエルトレイの開口縁からロック機構の突起部が内向きに突き出しており、フューエルリッドの掛留片がロック機構の突起部に引っ掛かることでフューエルリッドがロックされる。また、フューエルリッドの掛留片からロック機構の突起部が外れることでフューエルリッドのロックが解除される。
【先行技術文献】
【特許文献】
【0003】
特開2004-175312号公報
【発明の概要】
【発明が解決しようとする課題】
【0004】
しかしながら、特許文献1に記載のリッド構造では、フューエルトレイの開口縁からロック機構の突起部が内向きに突き出しているため、給油キャップの着脱作業時に突起部が手に触れて邪魔になる。突起部が触れないようにするためには、給油口と突起部のクリアランスを広く確保する必要がある。このような不具合は、充電口や給電口等の接続口への電気コネクタの接続作業時にも生じる。
【0005】
本発明はかかる点に鑑みてなされたものであり、トレイの内側に作業スペースを確保して作業性を向上させることができるリッド構造を提供することを目的とする。
【課題を解決するための手段】
【0006】
本発明の一態様のリッド構造は、燃料タンク又はバッテリが設置された車両のリッド構造であって、前記燃料タンクの給油口又は前記バッテリの接続口の周囲を覆うトレイと、前記給油口又は前記接続口を露出した前記トレイの開口を開閉するリッドと、を備え、前記トレイの内周面の一部から突起部が突き出して前記リッドをロックしており、前記トレイの内周面の一部が前記トレイの内底面に向かって前記給油口又は前記接続口の中心線から遠ざかるように傾斜していることで上記課題を解決する。
【発明の効果】
【0007】
本発明の一態様のリッド構造によれば、トレイの内周面の一部の傾斜によって突起部が傾けられる。トレイの内底面に向かって給油口又は接続口の中心線から突起部が遠ざかるため、給油キャップの着脱作業や電気コネクタの接続作業時に突起部に対して作業者の手等が当たり難くなって作業性が向上される。給油口や接続口と突起部のクリアランスを小さくでき、給油口や接続口と突起部をコンパクトに設置することができる。
【図面の簡単な説明】
【0008】
本実施例の鞍乗型車両の側面図である。
本実施例のリッド構造の後面図である。
図2のリッド構造をA-A線に沿って切断した断面図である。
本実施例のリッドと充電口の位置関係を示す図である。
本実施例のリッドのロック動作の動作遷移図である。
【0009】
本発明の一態様の車両には燃料タンク又はバッテリが設置されている。この車両のリッド構造では、燃料タンクの給油口又はバッテリの接続口の周囲がトレイによって覆われ、給油口又は接続口を露出したトレイの開口がリッドによって開閉される。トレイの内周面の一部から突き出した突起部にリッドがロックされる。トレイの内周面の一部がトレイの内底面に向かって給油口又は接続口の中心線から遠ざかるように傾斜している。トレイの内周面の一部の傾斜によって突起部が傾けられており、給油キャップの着脱作業や電気コネクタの接続作業時に突起部に対して作業者の手等が当たり難くなって作業性が向上される。給油口や接続口と突起部のクリアランスを小さくでき、給油口や接続口と突起部をコンパクトに設置することができる。
【 実施例】
【0010】
以下、添付図面を参照して、実施例の鞍乗型車両について説明する。図1は本実施例の鞍乗型車両の側面図である。また、以下の図では、矢印Frは車両前方、矢印Reは車両後方、矢印Lは車両左方、矢印Rは車両右方をそれぞれ示している。
(【0011】以降は省略されています)
この特許をJ-PlatPat(特許庁公式サイト)で参照する
関連特許
スズキ株式会社
開閉機構
1か月前
スズキ株式会社
リッド構造
今日
スズキ株式会社
リッド構造
今日
スズキ株式会社
シート構造
1か月前
スズキ株式会社
シート構造
1か月前
スズキ株式会社
車体カバー
7日前
スズキ株式会社
電源システム
今日
スズキ株式会社
車両側部構造
1か月前
スズキ株式会社
運転支援装置
15日前
スズキ株式会社
車両制御装置
28日前
スズキ株式会社
動力伝達装置
28日前
スズキ株式会社
車両後部構造
1か月前
スズキ株式会社
車両用変速機
今日
スズキ株式会社
車体下部構造
今日
スズキ株式会社
車体下部構造
今日
スズキ株式会社
車両制御装置
今日
スズキ株式会社
車両検査装置
1か月前
スズキ株式会社
車両の制御装置
1か月前
スズキ株式会社
車両用制御装置
1か月前
スズキ株式会社
パーツボックス
15日前
スズキ株式会社
車両の制御装置
1か月前
スズキ株式会社
車両用制御装置
1か月前
スズキ株式会社
パーツボックス
15日前
スズキ株式会社
車両の制御装置
9日前
スズキ株式会社
車両用制御装置
今日
スズキ株式会社
車両用ルーフ構造
28日前
スズキ株式会社
車両の可動ゲート
1か月前
スズキ株式会社
操作装置の設置構造
今日
スズキ株式会社
バイフューエル車両
今日
スズキ株式会社
電動車両の後部構造
1か月前
スズキ株式会社
電動車両の後部構造
1か月前
スズキ株式会社
車両の制御システム
1か月前
スズキ株式会社
車両の制御システム
1か月前
スズキ株式会社
内燃機関の制御装置
7日前
スズキ株式会社
内燃機関の吸気装置
15日前
スズキ株式会社
車両の速度制御装置
29日前
続きを見る
他の特許を見る