TOP
|
特許
|
意匠
|
商標
特許ウォッチ
Twitter
他の特許を見る
公開番号
2025159508
公報種別
公開特許公報(A)
公開日
2025-10-21
出願番号
2024062118
出願日
2024-04-08
発明の名称
車両の可動ゲート
出願人
スズキ株式会社
代理人
弁理士法人東京国際特許事務所
主分類
B62D
33/023 20060101AFI20251014BHJP(鉄道以外の路面車両)
要約
【課題】軽量化と高剛性化とを両立可能であって、強度および剛性に優れる荷掛フックを装備可能な、合成樹脂製の車両の可動ゲートを提供する。
【解決手段】合成樹脂製の可動ゲート22aは、水平方向に間隔をあけて並ぶ複数の上側リブ51と、隣り合う一対の上側リブ51の間に設けられる少なくとも1つの上側貫通孔55と、を有する上端部41と、デッキ6に回転可能に接続される下端部42と、下端部42よりも上端部41の近傍に設けられてデッキ6の内側へ窪んだ上側凹部45と、上側凹部45と下端部42との間に設けられてデッキ6の外側へ窪んだ下側凹部46と、を備えている。可動ゲート22aは、上側貫通孔55に配置可能なボルト軸部71と、隣り合う一対の上側リブ51の間に配置されてボルト軸部71に締め付け可能なナット72と、ボルト軸部71およびナット72に支持されて可動ゲート22の上端部41の外面に垂れ下がり、上側凹部45の窪みに配置可能なフック部73と、を備える第一アタッチメント48を装着できる。
【選択図】 図3
特許請求の範囲
【請求項1】
車両の荷台に開閉可能に設けられる合成樹脂製の可動ゲートであって、
水平方向に間隔をあけて並ぶ複数のリブと、隣り合う一対の前記リブの間に設けられる少なくとも1つの貫通孔と、を有する上端部と、
前記荷台に回転可能に接続される下端部と、
前記上端部の近傍に設けられて前記荷台の内側へ窪んだ上側凹部と、
前記上側凹部と前記下端部との間に設けられて前記荷台の外側へ窪んだ下側凹部と、を備え、
前記貫通孔に配置可能なボルト軸部と、前記隣り合う一対の前記リブの間に配置されて前記ボルト軸部に締め付け可能なナットと、前記ボルト軸部および前記ナットに支持されて前記可動ゲートの前記上端部の外面に垂れ下がり、前記上側凹部の窪みに配置可能なフックと、を備えるアタッチメントを装着可能な車両の可動ゲート。
続きを表示(約 290 文字)
【請求項2】
前記複数のリブは、前記荷台の内側へ向かって延びている請求項1に記載の車両の可動ゲート。
【請求項3】
前記下側凹部の高さは、前記上側凹部の高さよりも高い請求項1または2に記載の車両の可動ゲート。
【請求項4】
前記上端部の外側面は、前記上側凹部の外側面および前記下側凹部の外側面よりも前記荷台の内側に配置されている請求項1または2に記載の車両の可動ゲート。
【請求項5】
前記下端部は、水平方向に間隔をあけて並び、前記荷台の外側へ向かって延びる複数の第二リブを備える請求項請求項1または2に記載の車両の可動ゲート。
発明の詳細な説明
【技術分野】
【0001】
本発明は、車両の可動ゲートに関する。
続きを表示(約 1,400 文字)
【背景技術】
【0002】
床板と、根太と、前立板と、左側板と、右側板と、それぞれの側板に設けられる複数のロープフックと、を合成樹脂で一体成型した、部品点数が少なく、軽量なトラック用荷台が知られている。
【先行技術文献】
【特許文献】
【0003】
実開昭62-86281号公報
【発明の概要】
【発明が解決しようとする課題】
【0004】
従来の、合成樹脂の一体成型の荷台は、左側板および右側板、いわゆるサイドゲートを開閉できない。開閉不能なサイドゲートは、荷台への荷物の積み込み性を著しく損なう。よって、サイドゲートは、開閉可能であることが好ましい。
【0005】
そして、サイドゲートを開閉可能にするために、一体成型の荷台からサイドゲートを別部品にして単純に切り離した場合には、合成樹脂製のサイドゲート単体の剛性が不十分になる虞がある。サイドゲートは、荷台に積み込まれる積み荷に接触し、積み荷から作用する負荷を受け止める。つまり、合成樹脂製のサイドゲートは、軽量化と高剛性化との両立を求められる。
【0006】
また、合成樹脂製の荷台に一体成型される荷掛フックは、巻き掛けるロープから作用する負荷に対する強度および剛性の観点で改善の余地を有する。
【0007】
そこで、本発明は、軽量化と高剛性化とを両立可能であって、強度および剛性に優れる荷掛フックを装備可能な、合成樹脂製の車両の可動ゲートを提供することを目的とする。
【課題を解決するための手段】
【0008】
前記の課題を解決するため、本発明に係る車両の可動ゲートは、車両の荷台に開閉可能に設けられる合成樹脂製の可動ゲートであって、水平方向に間隔をあけて並ぶ複数のリブと、隣り合う一対の前記リブの間に設けられる少なくとも1つの貫通孔と、を有する上端部と、前記荷台に回転可能に接続される下端部と、前記上端部の近傍に設けられて前記荷台の内側へ窪んだ上側凹部と、前記上側凹部と前記下端部との間に設けられて前記荷台の外側へ窪んだ下側凹部と、を備え、前記貫通孔に配置可能なボルト軸部と、前記隣り合う一対の前記リブの間に配置されて前記ボルト軸部に締め付け可能なナットと、前記ボルト軸部および前記ナットに支持されて前記可動ゲートの前記上端部の外面に垂れ下がり、前記上側凹部の窪みに配置可能なフックと、を備えるアタッチメントを装着可能である。
【発明の効果】
【0009】
本発明によれば、軽量化と高剛性化とを両立可能であって、強度および剛性に優れる荷掛フックを装備可能な、合成樹脂製の車両の可動ゲートを提供できる。
【図面の簡単な説明】
【0010】
本発明に係るキャブオーバー型車両を左斜め後方から示す斜視図。
本発明に係るキャブオーバー型車両の可動ゲートの部分的な第一の斜視図。
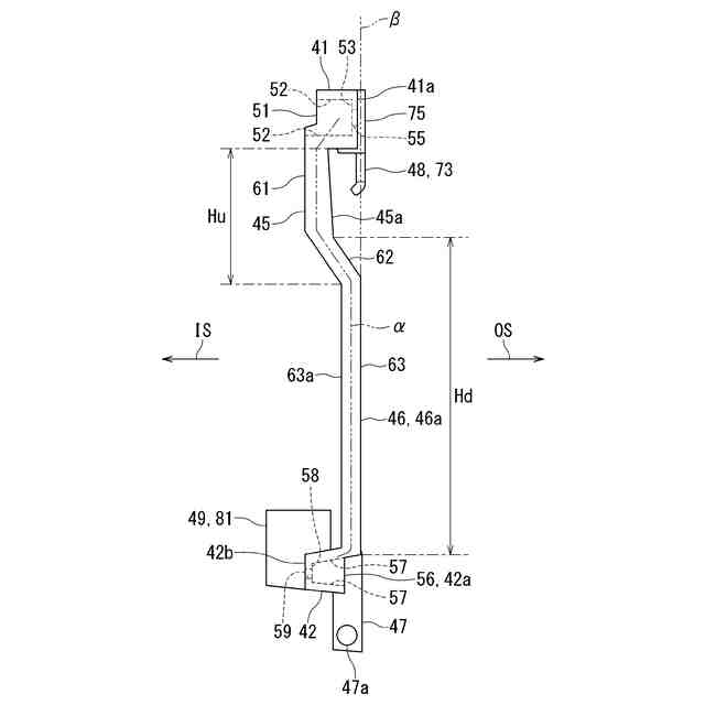
本発明に係るキャブオーバー型車両の可動ゲートの側面図。
本発明に係るキャブオーバー型車両の可動ゲートの部分的な第二の斜視図。
本発明に係るキャブオーバー型車両の可動ゲートの部分的な第三の斜視図。
本発明に係るキャブオーバー型車両のアタッチメントの斜視図。
【発明を実施するための形態】
(【0011】以降は省略されています)
この特許をJ-PlatPat(特許庁公式サイト)で参照する
関連特許
スズキ株式会社
車室構造
22日前
スズキ株式会社
車両構造
22日前
スズキ株式会社
車両構造
22日前
スズキ株式会社
車両構造
22日前
スズキ株式会社
車両構造
22日前
スズキ株式会社
車室構造
22日前
スズキ株式会社
車室構造
22日前
スズキ株式会社
車両構造
22日前
スズキ株式会社
車両構造
22日前
スズキ株式会社
車両構造
22日前
スズキ株式会社
車両構造
22日前
スズキ株式会社
車両検査装置
17日前
スズキ株式会社
燃料電池車両
1か月前
スズキ株式会社
燃料電池車両
1か月前
スズキ株式会社
車両側部構造
4日前
スズキ株式会社
車両後部構造
16日前
スズキ株式会社
車両用荷室構造
22日前
スズキ株式会社
車体ルーフ構造
22日前
スズキ株式会社
車両の制御装置
1か月前
スズキ株式会社
車両用送風構造
1か月前
スズキ株式会社
車両用送風構造
1か月前
スズキ株式会社
車両用送風構造
1か月前
スズキ株式会社
車両用制御装置
17日前
スズキ株式会社
車両用制御装置
5日前
スズキ株式会社
車両の制御装置
15日前
スズキ株式会社
車両の制御装置
8日前
スズキ株式会社
衝突被害軽減装置
29日前
スズキ株式会社
車両の可動ゲート
11日前
スズキ株式会社
車両の照明制御装置
1か月前
スズキ株式会社
電動車両の後部構造
16日前
スズキ株式会社
電動車両の後部構造
16日前
スズキ株式会社
車両の熱害防止構造
1か月前
スズキ株式会社
車両の制御システム
29日前
スズキ株式会社
車両の制御システム
29日前
スズキ株式会社
車両の制御システム
8日前
スズキ株式会社
車両の制御システム
8日前
続きを見る
他の特許を見る