TOP
|
特許
|
意匠
|
商標
特許ウォッチ
Twitter
他の特許を見る
10個以上の画像は省略されています。
公開番号
2025157788
公報種別
公開特許公報(A)
公開日
2025-10-16
出願番号
2024060025
出願日
2024-04-03
発明の名称
電動車両の後部構造
出願人
スズキ株式会社
代理人
個人
,
個人
,
個人
,
個人
,
個人
,
個人
主分類
B62D
25/20 20060101AFI20251008BHJP(鉄道以外の路面車両)
要約
【課題】スペアタイヤが設置されるフロア部の剛性を向上させ、且つ、スペアタイヤの取付剛性を向上させる。
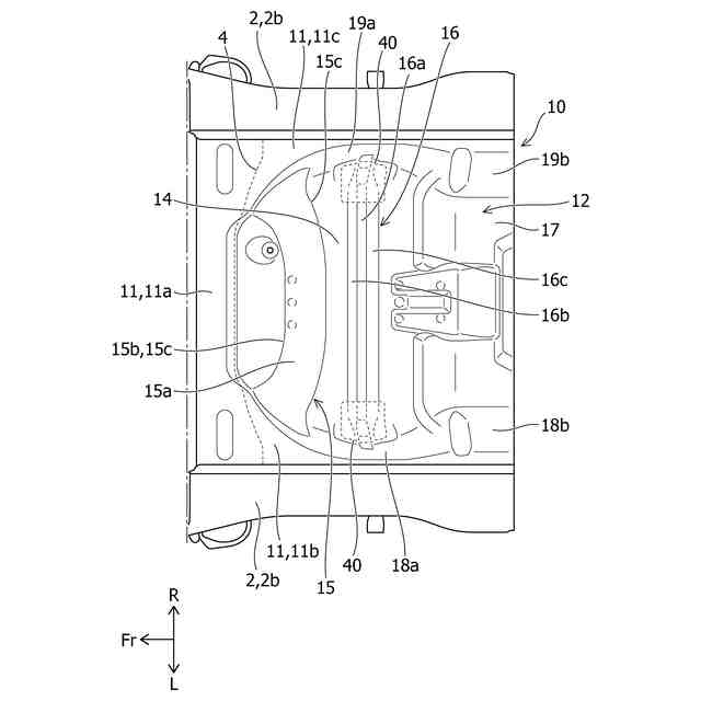
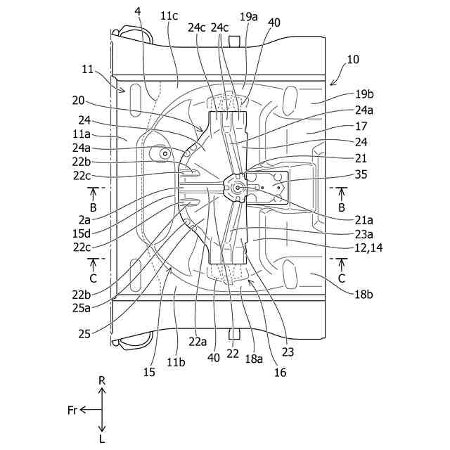
【解決手段】電動車両の後部構造は、バッテリパックの車両後方側に位置するフロア部に設けられ、スペアタイヤを保持する保持ブラケット20を有し、保持ブラケット20は、スペアタイヤの中央部を保持する保持部21と、保持部21から前方側に延び、前端がフロア部に接合されている前側壁部22と、保持部21から両外側に延び、側端がフロア部に接合されている外側壁部23,24と、前側壁部22と、両側の外側壁部23,24とを繋ぐ補強壁部25,26と、を有している。
【選択図】図3
特許請求の範囲
【請求項1】
車両のフロア部の下方側に配置されるバッテリパックと、
前記バッテリパックの車両後方側に位置する前記フロア部に設けられ、スペアタイヤを保持する保持ブラケットと、
を有し、
前記スペアタイヤは、車両後方に向かうに従い車両下方に傾斜した状態で、前記保持ブラケットに保持され、車両上下方向で、前記スペアタイヤの外周面部における前部の上端は、前記バッテリパックの後部の上端よりも上方側に配置されている、電動車両の後部構造であって、
前記保持ブラケットは、
前記フロア部の上方側に間隔を空けて配置され、前記スペアタイヤの径方向中央部を保持する保持部と、
前記保持部から車両前方側に延び、前端が前記フロア部に接合されている、前側壁部と、
前記保持部から車幅方向両外側に延び、側端が前記フロア部に接合されている、外側壁部と、
前記前側壁部と、両側の前記外側壁部とを繋ぐ補強壁部と、
を有していることを特徴とする、電動車両の後部構造。
続きを表示(約 1,000 文字)
【請求項2】
前記保持ブラケットは、前記保持部の後部から下方に延び、前記フロア部に接合される後側壁部を有していることを特徴とする、請求項1に記載の電動車両の後部構造。
【請求項3】
前記フロア部には、前記スペアタイヤが収納可能で、下方に凹むタイヤ収納部が設けられ、
前記保持ブラケットは、前記タイヤ収納部の底部に接合されており、
前記底部の前部には、車幅方向に延び、車幅方向中間部が車両後方に凸となるように湾曲している第1ビード部が設けられ、前記第1ビード部の後方に位置する前記底部には、車幅方向に延びる第2のビード部が設けられ、
前記第1ビード部には前記前側壁部が接合され、前記第2ビード部には前記外側壁部が接合されていることを特徴とする、請求項1または請求項2に記載の電動車両の後部構造。
【請求項4】
前記第1ビード部は、前記底部から車両上方に突出する前縦壁と、該前側壁部の後方に間隔を空けて配置され、前記底部から上方に突出する後壁部と、前記前側壁部の上端と前記後壁部の上端とを繋ぐ上面部と、を有し、
前記前縦壁及び前記後縦壁における車幅方向中間部は、車両後方に凸となるように湾曲する湾曲部を有しており、
前記前側壁部は、前記湾曲部に隣接して接合されていることを特徴とする、請求項3に記載の電動車両の後部構造。
【請求項5】
前記第2ビード部は、前記底部から車両下方に凹む凹形状の横断面形状を有しており、
前記外側壁部の前後方向長さは、前記第2ビード部の前後方向長さよりも長く設定され、
前記外側壁部は、前記第2ビード部を上方から覆った状態で前記第2ビード部の前部及び後部に接合されていることを特徴とする、請求項3に記載の電動車両の後部構造。
【請求項6】
前記保持ブラケットには、前記保持部から前記前側壁部及び両側の前記外側壁部に向かって放射状に延びる放射状ビードが形成されており、
前記放射状ビード部は、凹形状の断面形状を有しており、前記放射状ビード部の前記凹形状の深さは、前記保持部から底部に近づくに従い深くなるように構成されていることを特徴とする、請求項1に記載の電動車両の後部構造。
【請求項7】
前記前側壁部のうち、前記第1ビード部に接合される部分には、車両前後方向に延びるサブビードが設けられていることを特徴とする請求項1に記載の電動車両の後部構造。
発明の詳細な説明
【技術分野】
【0001】
本発明は、電動車両の後部構造に関する。
続きを表示(約 1,800 文字)
【背景技術】
【0002】
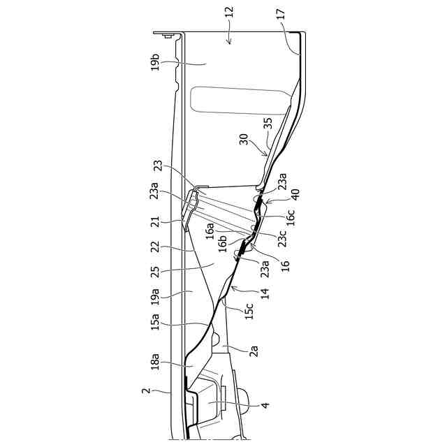
電動車両のフロア部の下方側には、バッテリパックが配置されている。当該バッテリパックは、車幅方向に所定の寸法を有し、車両前後方向に延びる略直方体状の装置であり、例えば、車両の前部に配置される駆動用モータに電力を供給する。電動車両の後部において、後突等の衝撃荷重に対する剛性及び強度を確保する必要がある。バッテリパックを有する電動車両では、後突等により衝撃荷重を受けたときに、当該バッテリパックを保護するために、フロア部の後部の剛性及び強度が要求される。
【0003】
また、車両の後部には、特許文献1に開示されているように、スペアタイヤが収納可能なタイヤ収納部が設けられる車両が知られている。電動車両における後部にスペアタイヤが搭載される構造では、タイヤ収納部は、バッテリパックの後方側に配置されており、例えば、荷室の底部に設けられている。ここで、特許文献1に開示される構造では、車両前後方向の車両寸法の増大を抑制するために、スペアタイヤは、水平な状態でなく、傾斜した状態で収納されている。
【先行技術文献】
【特許文献】
【0004】
特開2001-114139号公報
【発明の概要】
【発明が解決しようとする課題】
【0005】
ところが上記例の構造のようにスペアタイヤが車両後部に収納されている電動車両において、当該車両が車両後方側からの衝撃荷重を受けると、タイヤ収納部が変形する可能性がある。この例では、タイヤ収納部の底部は、リアフロアによって構成されている。リアフロアが変形すると、スペアタイヤは車両前方に移動し、スペアタイヤの前方側に配置される部材に接触する可能性がある。
【0006】
この例では、スペアタイヤが傾斜した状態で収納されているので、スペアタイヤが後突等により車両前方に移動すると、スペアタイヤの径方向中央に位置するホイールがスペアタイヤの前方に配置される部材に接触する可能性がある。この例では、スペアタイヤが傾斜した状態で設置しているので、ホイールがスペアタイヤの前方側に配置される部材に接触する可能性がある。また、スペアタイヤが前方に移動することにより、スペアタイヤがバッテリパックに接触する可能性がある。
【0007】
また、上記例では、タイヤ収納部に設置されるブラケットは、パイプ状のフレームと、板状のタイヤ搭載部とを有している。後突等の衝撃荷重が作用すると、当該ブラケットが変形する可能性もある。ブラケットが変形すると、スペアタイヤの姿勢を維持できず、スペアタイヤが前方に移動する可能性がある。
【0008】
そのため、上記例の構造では、後突等の衝撃荷重に対して、スペアタイヤを支持する支持剛性を確保し、スペアタイヤがバッテリパックに接触することを防ごうとする上で改善の余地があった。
【0009】
本発明は上記課題を解決するためになされたものであって、その目的は、スペアタイヤが設置されるフロア部の剛性を向上させ、且つ、スペアタイヤの取付剛性を向上させることが可能な電動車両の後部構造を提供することである。
【課題を解決するための手段】
【0010】
上記目的を達成するための本発明に係る電動車両の後部構造は、車両のフロア部の下方側に配置されるバッテリパックと、前記バッテリパックの車両後方側に位置する前記フロア部に設けられ、スペアタイヤを保持する保持ブラケットと、を有し、前記スペアタイヤは、車両後方に向かうに従い車両下方に傾斜した状態で、前記保持ブラケットに保持され、車両上下方向で、前記スペアタイヤの外周面部における前部の上端は、前記バッテリパックの後部の上端よりも上方側に配置されている。当該電動車両の後部構造において、前記保持ブラケットは、前記フロア部の上方側に間隔を空けて配置され、前記スペアタイヤの径方向中央部を保持する保持部と、前記保持部から車両前方側に延び、前端が前記フロア部に接合されている、前側壁部と、前記保持部から車幅方向両外側に延び、側端が前記フロア部に接合されている、外側壁部と、前記前側壁部と、両側の前記外側壁部とを繋ぐ補強壁部と、を有している。
【発明の効果】
(【0011】以降は省略されています)
この特許をJ-PlatPat(特許庁公式サイト)で参照する
関連特許
スズキ株式会社
車両構造
1か月前
スズキ株式会社
車室構造
1か月前
スズキ株式会社
車両構造
1か月前
スズキ株式会社
車両構造
1か月前
スズキ株式会社
車両構造
1か月前
スズキ株式会社
車室構造
1か月前
スズキ株式会社
車両構造
1か月前
スズキ株式会社
車両構造
1か月前
スズキ株式会社
車両構造
1か月前
スズキ株式会社
車両構造
1か月前
スズキ株式会社
車室構造
1か月前
スズキ株式会社
開閉機構
4日前
スズキ株式会社
シート構造
4日前
スズキ株式会社
シート構造
4日前
スズキ株式会社
車両用変速機
1か月前
スズキ株式会社
モータケース
1か月前
スズキ株式会社
車両側部構造
12日前
スズキ株式会社
車両検査装置
25日前
スズキ株式会社
燃料電池車両
1か月前
スズキ株式会社
燃料電池車両
1か月前
スズキ株式会社
車両制御装置
2日前
スズキ株式会社
車両用バンパ
1か月前
スズキ株式会社
動力伝達装置
2日前
スズキ株式会社
車両前部構造
1か月前
スズキ株式会社
車両後部構造
24日前
スズキ株式会社
車両の制御装置
1か月前
スズキ株式会社
車両用荷室構造
1か月前
スズキ株式会社
車体ルーフ構造
1か月前
スズキ株式会社
車両用送風構造
1か月前
スズキ株式会社
車両用送風構造
1か月前
スズキ株式会社
車両用送風構造
1か月前
スズキ株式会社
車両の制御装置
1か月前
スズキ株式会社
車両用制御装置
25日前
スズキ株式会社
積立金管理装置
1か月前
スズキ株式会社
車両用制御装置
13日前
スズキ株式会社
車両の制御装置
16日前
続きを見る
他の特許を見る