TOP
|
特許
|
意匠
|
商標
特許ウォッチ
Twitter
他の特許を見る
公開番号
2025161073
公報種別
公開特許公報(A)
公開日
2025-10-24
出願番号
2024063969
出願日
2024-04-11
発明の名称
車両の制御システム
出願人
スズキ株式会社
代理人
個人
,
個人
,
個人
,
個人
,
個人
,
個人
主分類
G08G
1/16 20060101AFI20251017BHJP(信号)
要約
【課題】車両の周囲環境に応じて適切な自動ブレーキ制御を実行することができる車両の制御システムを提供する。
【解決手段】車両の制御システム1は、車両の前方に存在する対象障害物との衝突可能性を判定する衝突判定部21aと、前記衝突判定部21aで判定された衝突可能性に応じて自動ブレーキ制御を行うようにブレーキ力を制御するブレーキ制御部21bと、前記車両の周囲環境を認識する環境認識部22と、前記車両の周囲の障害物の検知状況を認識する状況認識部23と、前記環境認識部22によって認識される前記車両の周囲環境および前記状況認識部23によって認識される前記検知状況に基づいて、前記自動ブレーキ制御における前記対象障害物の種類、および前記自動ブレーキ制御を開始するための車速下限値を変更する制御調整部24とを備える。
【選択図】図1
特許請求の範囲
【請求項1】
車両の前方に存在する対象障害物との衝突可能性を判定する衝突判定部と、
前記衝突判定部で判定された衝突可能性に応じて自動ブレーキ制御を行うようにブレーキ力を制御するブレーキ制御部と、
前記車両の周囲環境を認識する環境認識部と、
前記車両の周囲の障害物の検知状況を認識する状況認識部と、
前記環境認識部によって認識される前記車両の周囲環境および前記状況認識部によって認識される前記検知状況に基づいて、前記自動ブレーキ制御における前記対象障害物の種類、および前記自動ブレーキ制御を開始するための車速下限値を変更する制御調整部と
を備える、車両の制御システム。
続きを表示(約 2,600 文字)
【請求項2】
前記制御調整部は、特定地域における前記対象障害物として第1種類の障害物を設定し、
前記環境認識部は、前記車両の周囲環境が、前記特定地域内の所定領域であるかを認識し、
前記制御調整部は、前記車両の周囲環境が前記特定地域内の前記所定領域である場合に、前記第1種類の障害物に加えて、前記第1種類の障害物とは異なる第2の種類の障害物を前記対象障害物として設定するとともに、前記車速下限値を変更する、請求項1に記載の車両の制御システム。
【請求項3】
前記環境認識部は、前記車両の周囲の所定範囲内における障害物の密度が低い場合に前記所定領域であると認識し、
前記第1の種類の障害物は四輪車であり、
前記制御調整部は、前記特定地域内の前記所定領域で前記四輪車を対象として前記自動ブレーキ制御を開始するための前記車速下限値を、前記特定地域内の前記所定領域以外で前記四輪車を対象として前記自動ブレーキ制御を開始するための前記車速下限値よりも小さくする、請求項2に記載の車両の制御システム。
【請求項4】
前記制御調整部は、前記特定地域内の前記所定領域で前記四輪車を対象として前記自動ブレーキ制御を開始するための前記車速下限値を、前記特定地域外で前記四輪車を対象として前記自動ブレーキ制御を開始するための前記車速下限値よりも大きくする、請求項3に記載の車両の制御システム。
【請求項5】
前記環境認識部は、前記車両の周囲の所定範囲内における障害物の密度が低い場合に前記所定領域であると認識し、
前記状況認識部は、前記障害物の検知状況として、前記車両と障害物との衝突予測位置、前記車両の前方を横切る障害物の有無、および前記車両と後続車両との衝突予測時間の少なくともいずれかを認識し、
前記制御調整部は、前記特定地域内の前記所定領域において、前記障害物の前記検知状況に基づいて、前記自動ブレーキ制御における前記対象障害物の種類と前記車速下限値を決定する、請求項2に記載の車両の制御システム。
【請求項6】
前記環境認識部は、前記車両の周囲の所定範囲内における障害物の密度が低い場合に前記所定領域であると認識し、
前記第1の種類の障害物は四輪車であり、
前記状況認識部は、前記障害物の検知状況として、前記車両と歩行者との衝突予測位置を演算し、
前記制御調整部は、前記特定地域内の前記所定領域において、前記歩行者との衝突予測位置が前記車両の進行方向上にある場合は、前記第2の種類の障害物として前記歩行者を設定し、
前記制御調整部は、前記特定地域内の前記所定領域で前記歩行者を対象として前記自動ブレーキ制御を開始するための前記車速下限値を、前記特定地域外で前記歩行者を対象として前記自動ブレーキ制御を開始するための前記車速下限値よりも大きくする、請求項2に記載の車両の制御システム。
【請求項7】
前記環境認識部は、前記車両の周囲の所定範囲内における障害物の密度が低い場合に前記所定領域であると認識し、
前記第1の種類の障害物は四輪車であり、
前記状況認識部は、前記障害物の検知状況として、前記車両の前方を横切る自転車の有無を認識し、
前記制御調整部は、前記特定地域内の前記所定領域において、前記車両の前方を横切る自転車が存在する場合は、前記第2の種類の障害物として前記自転車を設定し、
前記制御調整部は、前記特定地域内の前記所定領域で前記自転車を対象として前記自動ブレーキ制御を開始するための前記車速下限値を、前記特定地域外で前記自転車を対象として前記自動ブレーキ制御を開始するための前記車速下限値よりも大きくする、請求項2に記載の車両の制御システム。
【請求項8】
前記環境認識部は、前記車両の周囲の所定範囲内における障害物の密度が低い場合に前記所定領域であると認識し、
前記第1の種類の障害物は四輪車であり、
前記状況認識部は、前記障害物の検知状況として、前記車両の前方を横切る自動二輪車の有無を認識し、前記自動二輪車が存在する場合はさらに前記車両と前記自動二輪車との衝突予測位置を演算し、
前記制御調整部は、前記特定地域内の前記所定領域において、前記自動二輪車との衝突予測位置が前記車両の進行方向上にある場合は、前記第2の種類の障害物として前記自動二輪車を設定し、
前記制御調整部は、前記特定地域内の前記所定領域で前記自動二輪車を対象として前記自動ブレーキ制御を開始するための前記車速下限値を、前記特定地域外で前記自動二輪車を対象として前記自動ブレーキ制御を開始するための前記車速下限値よりも大きくし、
前記制御調整部は、前記特定地域内の前記所定領域で前記衝突可能性を判定するための前記車両と前記自動二輪車との衝突予測時間の閾値を、前記特定地域外で前記衝突可能性を判定するための前記車両と前記自動二輪車との衝突予測時間の閾値よりも小さくする、請求項2に記載の車両の制御システム。
【請求項9】
前記環境認識部は、前記車両の周囲の所定範囲内における障害物の密度が低い場合に前記所定領域であると認識し、
前記第1の種類の障害物は四輪車であり、
前記制御調整部は、前記特定地域内の前記所定領域で前記四輪車を対象として前記自動ブレーキ制御を開始するための前記車速下限値を、前記特定地域内の前記所定領域以外で前記四輪車を対象として前記自動ブレーキ制御を開始するための前記車速下限値よりも小さくする、請求項5から8のいずれか一項に記載の車両の制御システム。
【請求項10】
前記環境認識部は、前記車両の周囲の所定範囲内における障害物の密度が低い場合に前記所定領域であると認識し、
前記第1の種類の障害物は四輪車であり、
前記状況認識部は、前記障害物の検知状況として、前記車両と後続車両との衝突予測時間を演算し、
前記制御調整部は、前記特定地域内の前記所定領域において、前記車両の前方に動物が存在し、かつ、前記後続車両との衝突予測時間が所定時間以上である場合は、前記第2の種類の障害物として前記動物を設定する、請求項2に記載の車両の制御システム。
発明の詳細な説明
【技術分野】
【0001】
本発明は、車両の制御システムに関する。
続きを表示(約 2,100 文字)
【背景技術】
【0002】
車両前方の障害物と車両との衝突が予測される場合に、安全を支援するためのシステムの実用化が進められている。安全を支援するためのシステムとしては、自動的にブレーキおよび/または警報を作動させる衝突被害軽減ブレーキシステム、車両と衝突した人間を保護するための、いわゆる歩行者エアバッグシステム等が知られている。特許文献1には、物体と車両との衝突の際に印加された衝撃に応じた衝突センサの出力が衝突判定閾値を超えた場合に、衝突した物体を保護する保護デバイスを動作させる保護制御装置が開示されている。特許文献1の装置においては、物体が、自転車および自転車の乗員を含む特定物体であって、衝突以前における物体の認識を阻害する、降雨または霧を含む阻害環境が発生している場合に、衝突判定閾値を低閾値に設定する。
【先行技術文献】
【特許文献】
【0003】
特開2019-081428号公報
【発明の概要】
【発明が解決しようとする課題】
【0004】
上述した特許文献1に記載された保護制御装置においては、物体が特定物体であるか否か、および降雨または霧を含む阻害環境が発生しているか否かに基づいて、衝突判定閾値を変更している。車両と障害物との衝突が予測される場合に衝突被害軽減ブレーキ制御を実行するシステムにおいても、車両周囲の環境を考慮して制御を行うことが望ましい。例えば、車両の周囲に四輪車、自動二輪車、および歩行者を含む複数種類の障害物が入り乱れて存在している環境では、前方障害物を対象とした自動ブレーキ制御を実行することによって車両が減速し、後続車から追突されてしまう可能性がある。この場合、システムに対する信頼性や安全性が低下してしまう。一方、車両の周囲に存在する障害物が少ない環境では、障害物との衝突可能性がある場合に確実に自動ブレーキ制御を実行することが望まれる。すなわち、車両周囲の環境に応じて、システムによる安全性および信頼性を高めて適切に自動ブレーキ制御を実行することが望まれている。
【0005】
本発明は、上記のような実状に鑑みてなされたものであり、その目的は、車両の周囲環境に応じて適切な自動ブレーキ制御を実行することができる車両の制御システムを提供することにある。
【課題を解決するための手段】
【0006】
本発明の一態様によれば、車両の制御システムは、車両の前方に存在する対象障害物との衝突可能性を判定する衝突判定部と、前記衝突判定部で判定された衝突可能性に応じて自動ブレーキ制御を行うようにブレーキ力を制御するブレーキ制御部と、前記車両の周囲環境を認識する環境認識部と、前記車両の周囲の障害物の検知状況を認識する状況認識部と、前記環境認識部によって認識される前記車両の周囲環境および前記状況認識部によって認識される前記検知状況に基づいて、前記自動ブレーキ制御における前記対象障害物の種類、および前記自動ブレーキ制御を開始するための車速下限値を変更する制御調整部とを備える。
【発明の効果】
【0007】
本発明に係る車両の制御システムは、車両の周囲環境に応じて適切な自動ブレーキ制御を実行することができる。
【図面の簡単な説明】
【0008】
図1は、本発明の一実施の形態における車両の制御システムの概略構成を示すブロック図である。
図2は、一実施の形態における自動ブレーキ制御の制御パターンの具体例を示す。
図3は、一実施の形態における自動ブレーキ制御の制御パターンの具体例を示す。
図4は、一実施の形態における自動ブレーキ制御の制御パターンの選択手順を示すフローチャートである。
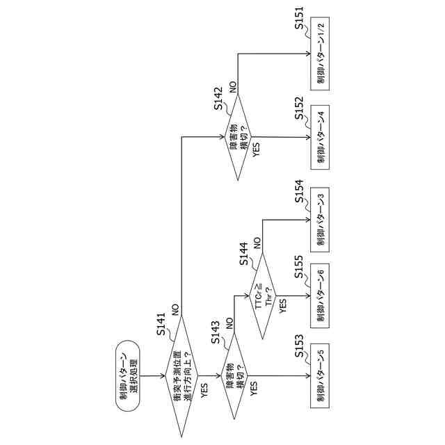
図5は、障害物の検知状況に基づく自動ブレーキ制御の制御パターンの選択手順を示すフローチャートである。
【発明を実施するための形態】
【0009】
以下、本発明の一実施の形態に係る車両の制御システムについて、図面を参照しながら詳細に説明する。図1は、本実施の形態における車両の制御システムの概略構成を示すブロック図である。
【0010】
図1に示すように、車両の制御システム1は、例えば、車両の周辺領域を撮像する撮像装置10、車両周囲の障害物を検知する障害物検知装置11、車両の車速を検知する車速センサ12、車両の位置情報を取得する測位装置13、地図情報データベース14、車両の衝突被害軽減ブレーキ制御に関連する制御を行う制御装置20、およびブレーキ装置30を備えている。本実施の形態による車両の制御システム1は、車両に搭載されて車両の衝突被害軽減ブレーキ制御に関連する制御を実行するように構成されている。車両の制御システム1は、任意選択的に、操作入力装置15、報知装置40、および表示装置50をさらに備えることもできる。
(【0011】以降は省略されています)
この特許をJ-PlatPat(特許庁公式サイト)で参照する
関連特許
個人
安全支援装置
13日前
株式会社SUBARU
車両
1か月前
日本無線株式会社
船舶システム
14日前
ダイハツ工業株式会社
移動支援装置
1か月前
トヨタ自動車株式会社
サーバ
22日前
三菱自動車工業株式会社
制御システム
1か月前
株式会社デンソー
運航管理装置
1か月前
株式会社 ミックウェア
車内環境制御システム
1か月前
株式会社SUBARU
事故情報収集装置
1か月前
ホーチキ株式会社
火災検出システム
1か月前
株式会社SUBARU
車室内異常検知装置
1か月前
能美防災株式会社
火災感知器及び火災報知システム
1か月前
大阪瓦斯株式会社
音声出力装置
1か月前
株式会社関電工
車両運行通知システム
1か月前
オムロン株式会社
センサシステム
21日前
トヨタ自動車株式会社
方法
1か月前
オムロン株式会社
センサシステム
21日前
コイト電工株式会社
情報処理装置
1か月前
本田技研工業株式会社
作業システム
1か月前
能美防災株式会社
着脱式避難誘導灯
1か月前
株式会社アイシン
運転支援装置
1か月前
オムロン株式会社
センサシステム
21日前
株式会社スターオークス
補助信号機及び信号機
11日前
能美防災株式会社
表示装置
26日前
トヨタ自動車株式会社
情報処理装置
1か月前
トヨタ自動車株式会社
情報処理装置
1か月前
トヨタ自動車株式会社
路側装置
25日前
能美防災株式会社
火災受信機
1か月前
株式会社京三製作所
交通信号制御機用拡張箱
1か月前
国立大学法人九州工業大学
情報伝達システム
11日前
トヨタ自動車株式会社
路側装置
11日前
株式会社中電工
警報システム
26日前
トヨタ自動車株式会社
路側装置
1か月前
本田技研工業株式会社
交通安全支援システム
1か月前
トヨタ自動車株式会社
車載装置
1か月前
トヨタ自動車株式会社
走行可否判定システム
1か月前
続きを見る
他の特許を見る