TOP
|
特許
|
意匠
|
商標
特許ウォッチ
Twitter
他の特許を見る
10個以上の画像は省略されています。
公開番号
2025157789
公報種別
公開特許公報(A)
公開日
2025-10-16
出願番号
2024060026
出願日
2024-04-03
発明の名称
電動車両の後部構造
出願人
スズキ株式会社
代理人
個人
,
個人
,
個人
,
個人
,
個人
,
個人
主分類
B62D
25/20 20060101AFI20251008BHJP(鉄道以外の路面車両)
要約
【課題】スペアタイヤが設置されるフロア部の剛性を向上させ、且つ、スペアタイヤの取付剛性を向上させる。
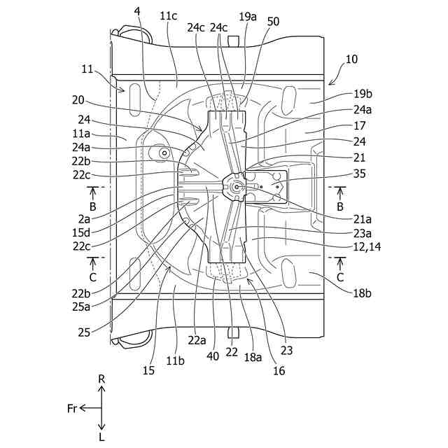
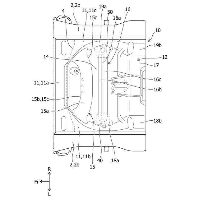
【解決手段】電動車両の後部構造は、バッテリパックの後方側に位置するフロア部には、スペアタイヤを収納可能なタイヤ収納部12が設けられ、タイヤ収納部12は、下方に凹む凹形状であって、底部と、底部の車幅両側端から上方に延びる外側壁部18,19と、を有し、底部には、幅方向に延びる中央ビード部16が設けられ、中央ビード部16の外側部には、底部及び外側壁部に接合される補強部材40,50が、接合され、補強部材40,50の前端と後端との間に、中央ビード部16の外側部が配置されている。
【選択図】図6
特許請求の範囲
【請求項1】
車両のフロア部の下方側にバッテリパックが配置され、
前記バッテリパックの車両後方側に位置する前記フロア部には、スペアタイヤを収納可能な収納部が設けられ、
前記スペアタイヤは、車両後方に向かうに従い車両下方に傾斜した状態で、前記収納部に収納され、車両上下方向で、前記スペアタイヤの外周部における前部の上端は、前記バッテリパックの後部の上端よりも上方側に配置されている、電動車両の後部構造であって、
前記収納部は、車両下方に凹む凹形状であって、底部と、前記底部の車幅両側端から上方に延びる側壁部と、を有しており、
前記底部には、車幅方向に延びるビード部が設けられ、
前記ビード部の車幅方向外側部には、前記底部及び前記側壁部に接合される補強部材が、接合されており、
前記補強部材は、車両前後方向に延び、前記補強部材の前端と後端との間に、前記ビード部の車幅方向外側部が配置されていることを特徴とする、電動車両の後部構造。
続きを表示(約 290 文字)
【請求項2】
前記補強部材は、下方に突出し且つ車両前後方向に延びる突出部を有し、
前記突出部は、前記ビード部の車幅方向端部と交差するように配置され、且つ、前記収納部の前記底部と前記側壁部とにより形成される角部に配置されていることを特徴とする、請求項1に記載の電動車両の後部構造。
【請求項3】
前記収納部の前記底部には、前記スペアタイヤを保持する保持ブラケットが取り付けられ、
前記補強部材及び前記保持ブラケットは、前記ビード部を挟持した状態で、前記フロア部に接合されていることを特徴とする、請求項1または請求項2に記載の電動車両の後部構造。
発明の詳細な説明
【技術分野】
【0001】
本発明は、電動車両の後部構造に関する。
続きを表示(約 1,700 文字)
【背景技術】
【0002】
電動車両のフロア部の下方側には、バッテリパックが配置されている。当該バッテリパックは、車幅方向に所定の寸法を有し、車両前後方向に延びる略直方体状の装置であり、例えば、車両の前部に配置される駆動用モータに電力を供給する。電動車両の後部において、後突等の衝撃荷重に対する剛性及び強度を確保する必要がある。バッテリパックを有する電動車両では、後突等により衝撃荷重を受けたときに、当該バッテリパックを保護するために、フロア部の後部の剛性及び強度が要求される。
【0003】
また、車両の後部には、特許文献1に開示されているように、スペアタイヤが収納可能なタイヤ収納部が設けられる車両が知られている。例えば、特許文献1に開示されるタイヤ収納部は、荷室のフロアが車両下方に凹む凹部を設けることによって構成されている。タイヤ収納部(凹部)の底部にスペアタイヤを固定するためのブラケット等が取り付けられている。そのため、底部には所定の面剛性が求められる。
【0004】
特許文献1に開示される構造では、タイヤ収納部の底部の下面側にクロスメンバが設けられている。当該クロスメンバは、スペアタイヤを固定するためのブラケットに対応するように配置され、底部の面剛性を確保している。
【先行技術文献】
【特許文献】
【0005】
特開2017-177935号公報
【発明の概要】
【発明が解決しようとする課題】
【0006】
一方で、電動車両の後部にタイヤ収納部を設ける場合、タイヤ収納部は、バッテリパックの後方側に配置される。ところが、バッテリパックの後部とタイヤ収納部の前部との干渉を避けるようにタイヤ収納部を配置すると、車両の前後方向の寸法が増大する。これに対応するために、例えば、スペアタイヤは、水平な状態でなく、傾斜した状態でタイヤ収納部に収納される場合がある。
【0007】
また、電動車両の後部に設けられるタイヤ収納部の剛性を向上させるために、上記例のように、タイヤ収納部の底部にクロスメンバを配置しようとすると、バッテリパックの後部の位置によっては、クロスメンバに干渉する可能性がある。そのため、上記例の構造では、電動車両の後部に設けられたタイヤ収納部の剛性を向上させ、スペアタイヤを支持する支持剛性を確保し、スペアタイヤがバッテリパックに接触することを防ごうとする上で改善の余地があった。
【0008】
本発明は上記課題を解決するためになされたものであって、その目的は、スペアタイヤが設置されるフロア部の剛性を向上させ、且つ、スペアタイヤの取付剛性を向上させることが可能な電動車両の後部構造を提供することである。
【課題を解決するための手段】
【0009】
上記目的を達成するための本発明に係る電動車両の後部構造は、車両のフロア部の下方側にバッテリパックが配置され、前記バッテリパックの車両後方側に位置する前記フロア部には、スペアタイヤを収納可能な収納部が設けられ、前記スペアタイヤは、車両後方に向かうに従い車両下方に傾斜した状態で、前記収納部に収納され、車両上下方向で、前記スペアタイヤの外周部における前部の上端は、前記バッテリパックの後部の上端よりも上方側に配置されている。当該電動車両の後部構造において、前記収納部は、車両下方に凹む凹形状であって、底部と、前記底部の車幅両側端から上方に延びる側壁部と、を有しており、前記底部には、車幅方向に延びるビード部が設けられ、前記ビード部の車幅方向外側部には、前記底部及び前記側壁部に接合される補強部材が、接合されており、前記補強部材は、車両前後方向に延び、前記補強部材の前端と後端との間に、前記ビード部の車幅方向外側部が配置されている。
【発明の効果】
【0010】
本発明によれば、電動車両の後部構造において、スペアタイヤが設置されるフロア部の剛性を向上させ、且つ、スペアタイヤの取付剛性を向上させることができる。
【図面の簡単な説明】
(【0011】以降は省略されています)
この特許をJ-PlatPat(特許庁公式サイト)で参照する
関連特許
スズキ株式会社
車両構造
11日前
スズキ株式会社
車両構造
11日前
スズキ株式会社
車室構造
11日前
スズキ株式会社
車室構造
11日前
スズキ株式会社
車室構造
11日前
スズキ株式会社
車両構造
11日前
スズキ株式会社
車両構造
11日前
スズキ株式会社
車両構造
11日前
スズキ株式会社
車両構造
11日前
スズキ株式会社
車両構造
11日前
スズキ株式会社
車両構造
11日前
スズキ株式会社
車両検査装置
6日前
スズキ株式会社
車両後部構造
5日前
スズキ株式会社
燃料電池車両
19日前
スズキ株式会社
燃料電池車両
19日前
スズキ株式会社
車体ルーフ構造
11日前
スズキ株式会社
車両用制御装置
6日前
スズキ株式会社
車両の制御装置
4日前
スズキ株式会社
車両用荷室構造
11日前
スズキ株式会社
衝突被害軽減装置
18日前
スズキ株式会社
車両の可動ゲート
今日
スズキ株式会社
電動車両の後部構造
5日前
スズキ株式会社
車両の照明制御装置
19日前
スズキ株式会社
車両の熱害防止構造
19日前
スズキ株式会社
車両の制御システム
18日前
スズキ株式会社
車両の制御システム
18日前
スズキ株式会社
電動車両の後部構造
5日前
スズキ株式会社
キャブオーバー型車両
今日
スズキ株式会社
車両用リアバンパ構造
7日前
スズキ株式会社
梱包対象物の緩衝構造
18日前
スズキ株式会社
梱包対象物の緩衝部材
18日前
スズキ株式会社
梱包対象物の緩衝部材
18日前
スズキ株式会社
吸気装置の被水防止構造
19日前
スズキ株式会社
エンジンのベルト伝動装置
6日前
スズキ株式会社
エンジンの排気ポート構造
11日前
スズキ株式会社
車両用グロメット周辺構造
12日前
続きを見る
他の特許を見る