TOP
|
特許
|
意匠
|
商標
特許ウォッチ
Twitter
他の特許を見る
公開番号
2025133328
公報種別
公開特許公報(A)
公開日
2025-09-11
出願番号
2024031218
出願日
2024-03-01
発明の名称
積立金管理装置
出願人
スズキ株式会社
代理人
個人
,
個人
,
個人
,
個人
,
個人
,
個人
主分類
G06Q
40/12 20230101AFI20250904BHJP(計算;計数)
要約
【課題】運転免許保有者による運転免許返納前の安全運転を促進する。
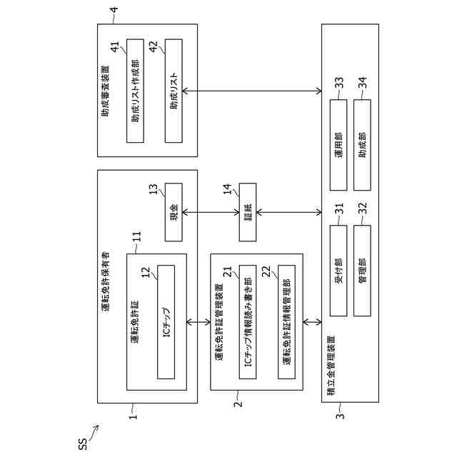
【解決手段】運転免許保有者1による積立金を管理する積立金管理装置3は、前記運転免許保有者により納付された積立金の情報を受け付ける受付部31と、前記受付部により受け付けられた前記積立金の情報を管理する管理部32とを備え、前記管理部は、前記管理部により管理されている前記積立金の情報と、前記運転免許保有者の情報とに基づいて、前記運転免許保有者の運転免許返納後に運転免許返納者に対して返還される返還金の額を算出する。
【選択図】図1
特許請求の範囲
【請求項1】
運転免許保有者による積立金を管理する積立金管理装置であって、
前記運転免許保有者により納付された積立金の情報を受け付ける受付部と、
前記受付部により受け付けられた前記積立金の情報を管理する管理部と
を備え、
前記管理部は、前記管理部により管理されている前記積立金の情報と、前記運転免許保有者の情報とに基づいて、前記運転免許保有者の運転免許返納後に運転免許返納者に対して返還される返還金の額を算出する、
積立金管理装置。
続きを表示(約 660 文字)
【請求項2】
前記運転免許保有者の情報が、前記運転免許保有者が保有する運転免許証の区分に関する情報を含み、
前記管理部は、前記運転免許保有者が保有する運転免許証の区分が高いほど前記返還金の額が高くなるように前記返還金の額を算出する、
請求項1に記載の積立金管理装置。
【請求項3】
前記運転免許保有者の情報が、前記運転免許保有者の無事故及び無違反の期間に関する情報を含み、
前記管理部は、前記運転免許保有者の無事故及び無違反の期間が長いほど前記返還金の額が高くなるように前記返還金の額を算出する、
請求項1又は2に記載の積立金管理装置。
【請求項4】
前記運転免許保有者の情報が、前記運転免許保有者の運転免許更新までの事故及び違反の回数に関する情報を含み、
前記管理部は、前記運転免許保有者の運転免許更新までの事故及び違反の回数が多いほど前記返還金の額が低くなるように前記返還金の額を算出する、
請求項1又は2に記載の積立金管理装置。
【請求項5】
請求項1又は2に記載の積立金管理装置と
助成審査装置と
を備え、
前記積立金管理装置は、
前記積立金の資産運用を行う運用部と、
前記助成審査装置により作成された助成リストに記載の助成先に対し、前記運用部にて行われた資産運用により得られた運用益を助成金として配分する助成部と
を備える、
積立金管理システム。
発明の詳細な説明
【技術分野】
【0001】
本発明は、運転免許保有者による積立金を管理する積立金管理装置に関する。
続きを表示(約 1,300 文字)
【背景技術】
【0002】
特許文献1に、利用者の運転免許返納後に保険金が給付される運転免許返納保険に関する運転免許返納保険装置が記載されている。この運転免許返納保険装置は、少なくとも前記利用者の住居地及び外出目的地を含む情報を取得する取得手段と、前記情報に基づいて、前記利用者のマイカー利用にかかるマイカー費用負担額を算出するマイカー費用算出手段と、前記情報に基づいて、前記利用者の公共交通機関利用にかかる交通費用負担額を算出する交通費用算出手段と、前記交通費用負担額が前記マイカー費用負担額よりも大きい場合、前記利用者に対して将来給付される前記保険金の給付額に、前記交通費用負担額と前記マイカー費用負担額との差分金額を入力する入力手段と、入力された前記給付額に基づいて、前記利用者が支払う保険料を試算する保険料試算手段とを有する。
【先行技術文献】
【特許文献】
【0003】
特開2021-43563号公報
【発明の概要】
【発明が解決しようとする課題】
【0004】
特許文献1に記載の技術は、高齢者ドライバーの運転免許返納を促進することを目的としている。しかし、運転免許返納そのものだけではなく、運転免許返納前の安全運転をも促進できることが望ましい。
【0005】
本発明は、運転免許保有者による運転免許返納前の安全運転を促進することを目的とする。
【課題を解決するための手段】
【0006】
本発明に係る、運転免許保有者による積立金を管理する積立金管理装置は、前記運転免許保有者により納付された積立金の情報を受け付ける受付部と、前記受付部により受け付けられた前記積立金の情報を管理する管理部とを備え、前記管理部は、前記管理部により管理されている前記積立金の情報と、前記運転免許保有者の情報とに基づいて、前記運転免許保有者の運転免許返納後に運転免許返納者に対して返還される返還金の額を算出する。
【発明の効果】
【0007】
本発明によれば、運転免許保有者による運転免許返納前の安全運転を促進することができる。
【図面の簡単な説明】
【0008】
積立金管理システムを示すブロック図である。
積立金管理システムにおける積立金納付時の流れを示すフローチャートである。
積立金管理システムにおける返金時の流れを示すフローチャートである。
コンピュータのハードウェア構成例を示すブロック図である。
【発明を実施するための形態】
【0009】
以下、本発明を図示の実施の形態に基づいて説明する。ただし、本発明は、以下に説明する実施の形態によって限定されるものではない。
【0010】
地方公共交通サービス(あるいは移動サービス)は、少子高齢化、人口減少に伴い利用者が減少し、赤字での運営を余儀なくされるケースが多くなってきている。また、地方の交通制約者(高齢者や学生など)の移動手段を確保するため、各自治体はこのような赤字のサービスに対して税金を投じざるを得ない場合が出ている。
(【0011】以降は省略されています)
この特許をJ-PlatPat(特許庁公式サイト)で参照する
関連特許
スズキ株式会社
開閉機構
3か月前
スズキ株式会社
排気装置
27日前
スズキ株式会社
内燃機関
2か月前
スズキ株式会社
蓄熱装置
2か月前
スズキ株式会社
電動車両
2か月前
スズキ株式会社
排気装置
27日前
スズキ株式会社
動力伝達装置
1か月前
スズキ株式会社
運転支援装置
1か月前
スズキ株式会社
車両前部構造
28日前
スズキ株式会社
運転支援装置
1か月前
スズキ株式会社
車両用変速機
17日前
スズキ株式会社
車両側部構造
26日前
スズキ株式会社
車両側部構造
26日前
スズキ株式会社
車両側部構造
1か月前
スズキ株式会社
車両前部構造
1か月前
スズキ株式会社
車体下部構造
1か月前
スズキ株式会社
車体下部構造
1か月前
スズキ株式会社
運転支援装置
1か月前
スズキ株式会社
車両前部構造
17日前
スズキ株式会社
車両用バンパ
17日前
スズキ株式会社
モータケース
17日前
スズキ株式会社
エアクリーナ
1か月前
スズキ株式会社
車両前部構造
2か月前
スズキ株式会社
燃料電池車両
4日前
スズキ株式会社
燃料電池車両
4日前
スズキ株式会社
小型電動車両
2か月前
スズキ株式会社
移動システム
2か月前
スズキ株式会社
車両の制御装置
1か月前
スズキ株式会社
車両用制御装置
1か月前
スズキ株式会社
車両の制動装置
3か月前
スズキ株式会社
車両用制御装置
2か月前
スズキ株式会社
車両用空調装置
1か月前
スズキ株式会社
車両用制御装置
1か月前
スズキ株式会社
車両用制御装置
26日前
スズキ株式会社
積立金管理装置
25日前
スズキ株式会社
車両用制御装置
1か月前
続きを見る
他の特許を見る