TOP
|
特許
|
意匠
|
商標
特許ウォッチ
Twitter
他の特許を見る
10個以上の画像は省略されています。
公開番号
2025154183
公報種別
公開特許公報(A)
公開日
2025-10-10
出願番号
2024057051
出願日
2024-03-29
発明の名称
車両構造
出願人
スズキ株式会社
代理人
個人
,
個人
,
個人
,
個人
,
個人
,
個人
主分類
B62D
25/08 20060101AFI20251002BHJP(鉄道以外の路面車両)
要約
【課題】センサ装置の保護を図りつつ、衝撃を効率よく吸収する。
【解決手段】車両構造2は、車両外側の意匠面を構成するアウタパネル4と、アウタパネル4をアウタパネル4の裏面側から支持する車体構造体3と、アウタパネル4をアウタパネル4の裏面側から補強する補強部材5と、補強部材5に取り付けられ車両の外部環境を検出するセンサ装置9と、車体構造体3の剛性よりも低い剛性を有すると共に、補強部材5に隣接して配置されアウタパネル4の裏面に接続される低剛性部材6と、を備え、補強部材5は補強部材5のうちのセンサ装置9の周辺部位であるセンサ周辺部20を有し、車両前後方向について、センサ周辺部20の車外側の先端位置20aと、低剛性部材6の車外側の先端位置6x1又は低剛性部材6のアウタパネル4への接続位置6x0とが、所定の微小範囲内に位置している。
【選択図】図2B
特許請求の範囲
【請求項1】
車両の前部又は後部において車両外側の意匠面を構成するアウタパネルと、
前記アウタパネルを当該アウタパネルの裏面側から支持する車体構造体と、
前記アウタパネルを当該アウタパネルの裏面側から補強する補強部材と、
前記補強部材に取り付けられ車両の外部環境を検出するセンサ装置と、
を備えた車両構造であって、
前記車体構造体の剛性よりも低い剛性を有すると共に、前記補強部材に隣接して配置され前記アウタパネルの裏面に接続される低剛性部材を備え、
前記補強部材は、当該補強部材のうちの前記センサ装置の周辺部位であるセンサ周辺部を有し、
車両前後方向について、前記センサ周辺部の車外側の先端位置と、前記低剛性部材の車外側の先端位置又は前記低剛性部材の前記アウタパネルへの接続位置とが、所定の微小範囲内に位置している、ことを特徴とする車両構造。
続きを表示(約 1,800 文字)
【請求項2】
前記低剛性部材の少なくとも一部は、車両上下方向について、前記センサ周辺部に対してオフセットした位置に配置されていることを特徴とする請求項1に記載の車両構造。
【請求項3】
前記補強部材は、前記センサ周辺部の車幅方向両側に配置され車幅方向に延びるサイド補強部を有し、
前記低剛性部材は、車幅方向両側に配置される側部であって、前記サイド補強部の下方に配置されている側部を有することを特徴とする請求項2に記載の車両構造。
【請求項4】
前記サイド補強部は、車両前後方向について、前記センサ周辺部の前記先端位置と、前記低剛性部材の前記先端位置又は前記接続位置とに対して車内側に配置されていることを特徴とする請求項3に記載の車両構造。
【請求項5】
前記車体構造体は、車幅方向に延びる第1車体骨格部材と、当該第1車体骨格部材よりも下方に配置され車幅方向に延びる第2車体骨格部材とを有し、
前記第2車体骨格部材の車幅方向中央には、前記第2車体骨格部材から上方に突出し前記補強部材を下方から支持する支持ブラケットが設けられ、
前記低剛性部材の車幅方向中央の下部は、前記支持ブラケットと前記第2車体骨格部材とのいずれか一方である対象部分に対応する高さ位置において、車両前後方向について前記対象部分に対して車外側に配置されていることを特徴とする請求項4に記載の車両構造。
【請求項6】
前記第2車体骨格部材には、当該第2車体骨格部材から車両前後方向について車外側に突出する衝撃吸収部材が設けられ、
前記衝撃吸収部材は前記低剛性部材の下方に配置され、
車両前後方向について、前記衝撃吸収部材の突出先端位置と、前記低剛性部材の前記先端位置又は前記接続位置とが、所定の微小範囲内に位置している、ことを特徴とする請求項5に記載の車両構造。
【請求項7】
前記車体構造体は、車幅方向に延びる第1車体骨格部材と、当該第1車体骨格部材よりも下方に配置され車幅方向に延びる第2車体骨格部材とを有し、
前記第2車体骨格部材には、当該第2車体骨格部材から車両前後方向について車外側に突出する衝撃吸収部材が設けられ、
前記衝撃吸収部材は前記低剛性部材の下方に配置され、
車両前後方向について、前記衝撃吸収部材の突出先端位置と、前記低剛性部材の前記先端位置又は前記接続位置とが、所定の微小範囲内に位置していることを特徴とする請求項1に記載の車両構造。
【請求項8】
前記車体構造体は、車幅方向に延びる第1車体骨格部材と、当該第1車体骨格部材よりも下方に配置され車幅方向に延びる第2車体骨格部材とを有し、
前記第2車体骨格部材の車幅方向中央には、前記第2車体骨格部材から上方に突出し前記補強部材を下方から支持する支持ブラケットが設けられ、
前記補強部材は、当該補強部材の下部から車両前後方向について車外側に突出する突出部を有し、
前記突出部は、前記支持ブラケットに対応する高さ位置において、車両前後方向について前記支持ブラケットに対して車外側に配置されていることを特徴とする請求項1に記載の車両構造。
【請求項9】
前記補強部材は、当該補強部材の下部から車両前後方向について車外側に突出する突出部を有し、
前記突出部の突出先端位置は、車両前後方向について、前記センサ周辺部の前記先端位置に対して車外側に位置していることを特徴とする請求項1に記載の車両構造。
【請求項10】
車両の前部又は後部において車両外側の意匠面を構成するアウタパネルと、
前記アウタパネルを当該アウタパネルの裏面側から支持する車体構造体と、
前記アウタパネルを当該アウタパネルの裏面側から補強する補強部材と、
前記補強部材に取り付けられ車両の外部環境を検出するセンサ装置と、
を備えた車両構造であって、
前記補強部材は、当該補強部材のうちの前記センサ装置の周辺部位であるセンサ周辺部と、当該補強部材の下部から車両前後方向について車外側に突出する突出部と、を有し、
前記突出部の突出先端位置は、車両前後方向について、前記センサ周辺部の車外側の先端位置に対して車外側に位置していることを特徴とする車両構造。
(【請求項11】以降は省略されています)
発明の詳細な説明
【技術分野】
【0001】
本発明は、自動車などの車両構造に関し、詳しくは、車両の前部または後部の車両構造に関する。
続きを表示(約 2,700 文字)
【背景技術】
【0002】
この種の車両の車体構造の一例として特許文献1に記載された車両構造が知られている。特許文献1に記載された車両構造は、車両の前部に設けられ車幅方向に延在するアッパーバー及びバンパビームと、車両前方の対象物を検出するレーダ装置と、アッパーバー及びバンパビームにわたって延在しレーダ装置を支持するブラケットとを備え、ブラケットには、車両の前部衝突時に受ける衝撃により変形を誘発する変形誘発部が設けられている。当該車両構造では、歩行者保護試験のインパクタが車両前部に衝突した際に、変形誘発部を変形、あるいは、破断させ、ブラケットを後方に変位させることで、衝撃を吸収して衝撃吸収性能の向上を図っている。
【先行技術文献】
【特許文献】
【0003】
特開2017-215186号公報
【発明の概要】
【発明が解決しようとする課題】
【0004】
しかしながら、特許文献1に開示された車両構造では、ブラケットが変形誘発部を中心に局所的に変形して後退するので、ブラケットの変形エネルギーないし破断エネルギーにより吸収しきれない荷重の多くが剛性のあるバンパビームに集中するおそれがあり、車両前部に荷重を分散させて衝撃を吸収するという点では改善の余地がある。また、特許文献1に開示された車両構造では、衝突時におけるレーダ装置(センサ装置)の保護の観点についても改善の余地がある。
【0005】
本発明は、上記のような実状に鑑みてなされたものであり、その目的は、衝突時におけるセンサ装置の保護を図りつつ、衝撃を効率よく吸収することができる車両構造を提供することである。
【課題を解決するための手段】
【0006】
本発明の一態様によると、車両の前部又は後部において車両外側の意匠面を構成するアウタパネルと、アウタパネルを当該アウタパネルの裏面側から支持する車体構造体と、アウタパネルを当該アウタパネルの裏面側から補強する補強部材と、補強部材に取り付けられ車両の外部環境を検出するセンサ装置と、を備えた車両構造であって、車体構造体の剛性よりも低い剛性を有すると共に、前記補強部材に隣接して配置され前記アウタパネルの裏面に接続される低剛性部材を備え、補強部材は当該補強部材のうちのセンサ装置の周辺部位であるセンサ周辺部を有し、車両前後方向について、センサ周辺部の車外側の先端位置と、低剛性部材の車外側の先端位置又は前記低剛性部材と前記アウタパネルとの接続位置のいずれか一方である対象位置とが、所定の微小範囲内に位置している、車両構造が提供される。
【0007】
本発明の別の態様によると、車両の前部又は後部において車両外側の意匠面を構成するアウタパネルと、アウタパネルを当該アウタパネルの裏面側から支持する車体構造体と、アウタパネルを当該アウタパネルの裏面側から補強する補強部材と、補強部材に取り付けられ車両の外部環境を検出するセンサ装置と、を備えた車両構造であって、補強部材は、当該補強部材のうちのセンサ装置の周辺部位であるセンサ周辺部と、補強部材の下部から車両前後方向について車外側に突出する突出部と、を有し、突出部の突出先端位置は、車両前後方向について、センサ周辺部の車外側の先端位置に対して車外側に位置していることを特徴とする車両構造が提供される。
【発明の効果】
【0008】
本発明の一態様及び別の態様によれば、衝突時におけるセンサ装置の保護を図りつつ、衝撃を効率よく吸収することができる車両構造を提供することができる。
【図面の簡単な説明】
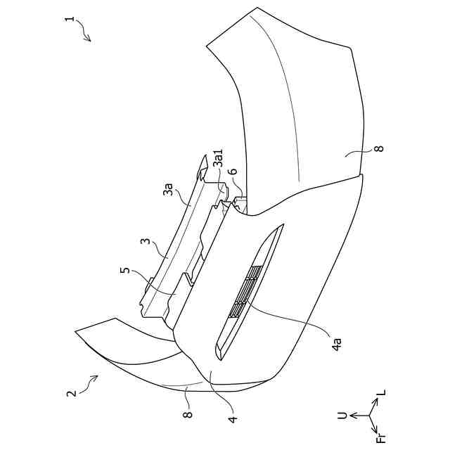
【0009】
本発明の実施形態による車両構造を前方側から視た斜視図である。
車両構造からアウタパネル及びバンパフェイスを除いた状態を前方側から視た斜視図である。
車両構造からアウタパネル及びバンパフェイスを除いた状態の側面図である。
車両構造からアウタパネル及びバンパフェイスを除いた状態を示す正面図である。
車両構造の補強部材を背面側から視た拡大斜視図である。
車両構造の背面図である。
車両構造の低剛性部材を前方側から視た斜視図である。
車両構造を背面側から視た車幅方向中央の拡大斜視図である。
図5におけるA-A位置での断面図である。
車両構造を背面側から視た車幅方向左側の拡大斜視図である。
図5におけるB-B位置での断面図である。
衝突対象物が前方から衝突した車両構造の最初の状態を示す図である。
図11Aに続く車両構造の2番目の状態を示す図である。
図11Bに続く車両構造の3番目の状態を示す図である。
図11Cに続く車両構造の4番目の状態を示す図である。
図11Dに続く車両構造の5番目の状態を示す図である。
【発明を実施するための形態】
【0010】
以下、本発明の実施形態について、図面を参照して説明する。図1は本発明の一実施形態に係る車両1の車両構造2を前方側から視た斜視図であり、図2Aは車両構造2からアウタパネル4及びバンパフェイス8を除いた状態を前方側から視た斜視図であり、図2Bは車両構造2からアウタパネル4及びバンパフェイス8を除いた状態の側面図である。尚、本実施形態では、車両構造2は、車両1の前部の構造として適用されている。また、図において、矢印Fr方向は車両1の前後方向(以降において、前後方向という。)の前方を示し、矢印L方向は車両1の後方から前方に向かって視た状態での、車両1の車幅方向(以降において、車幅方向という。)の左方を示し、矢印U方向は車両1の上下方向(以降において、上下方向という。)の上方を示している。また、以下の説明では、車両1の前部の車両構造2において、前後方向について、「外側」は前側を示し、「裏側」は後側を示し、「外面」は前面を示し、「裏面」は後面を示す。「外側」を「表側」と表し、「外面」を「表側面」と表し、「裏側」を「内側」と表し、「裏面」を「内面」と表す場合がある。また、断面を示す場合に、水平方向の面で切断した場合の断面を「横断面」とし、水平方向に垂直な面で切断した場合の断面を「縦断面」とする。
(【0011】以降は省略されています)
この特許をJ-PlatPat(特許庁公式サイト)で参照する
関連特許
スズキ株式会社
車両構造
1か月前
スズキ株式会社
車両構造
1か月前
スズキ株式会社
車両構造
1か月前
スズキ株式会社
開閉機構
21日前
スズキ株式会社
車両構造
1か月前
スズキ株式会社
シート構造
21日前
スズキ株式会社
シート構造
21日前
スズキ株式会社
車両後部構造
1か月前
スズキ株式会社
車両検査装置
1か月前
スズキ株式会社
車両制御装置
19日前
スズキ株式会社
動力伝達装置
19日前
スズキ株式会社
車両側部構造
29日前
スズキ株式会社
運転支援装置
6日前
スズキ株式会社
車両の制御装置
今日
スズキ株式会社
車両の制御装置
1か月前
スズキ株式会社
パーツボックス
6日前
スズキ株式会社
パーツボックス
6日前
スズキ株式会社
車両用制御装置
1か月前
スズキ株式会社
車両の制御装置
1か月前
スズキ株式会社
車両用制御装置
1か月前
スズキ株式会社
車両用ルーフ構造
19日前
スズキ株式会社
車両の可動ゲート
1か月前
スズキ株式会社
電動車両の後部構造
1か月前
スズキ株式会社
車両の制御システム
1か月前
スズキ株式会社
車両の制御システム
1か月前
スズキ株式会社
車両の速度制御装置
20日前
スズキ株式会社
電動車両の後部構造
1か月前
スズキ株式会社
内燃機関の吸気装置
6日前
スズキ株式会社
車両用リアバンパ構造
1か月前
スズキ株式会社
キャブオーバー型車両
1か月前
スズキ株式会社
エンジンの排気浄化装置
14日前
スズキ株式会社
エンジンの排気浄化装置
14日前
スズキ株式会社
エンジンのベルト伝動装置
1か月前
スズキ株式会社
エンジンの排気ポート構造
1か月前
スズキ株式会社
多気筒エンジンの制御装置
21日前
スズキ株式会社
車両用コンプレッサ制御方法
今日
続きを見る
他の特許を見る