TOP
|
特許
|
意匠
|
商標
特許ウォッチ
Twitter
他の特許を見る
公開番号
2025154004
公報種別
公開特許公報(A)
公開日
2025-10-10
出願番号
2024056765
出願日
2024-03-29
発明の名称
エンジンの排気ポート構造
出願人
スズキ株式会社
代理人
弁理士法人日誠国際特許事務所
主分類
F02F
1/42 20060101AFI20251002BHJP(燃焼機関;熱ガスまたは燃焼生成物を利用する機関設備)
要約
【課題】排気ポート内で発生した凝縮水を速やかに排気バルブから離れた位置に導き、排気バルブの腐食や摩耗を防止することができるエンジンの排気ポート構造を提供すること。
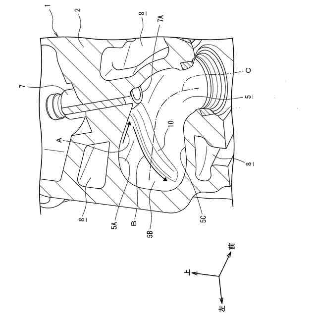
【解決手段】排気ポート5の内壁5A、5Bに、排気ポート5の内側に突出する突状リブ10が形成されている。突状リブ10は、排気ポート5の内壁5A、5Bに沿ってバルブガイド7の下端部7Aから下方かつ排気ポート5における排気流れ方向下流側に向かって延びている。排気ポート5は、バルブガイド7よりも排気流れ方向下流側において湾曲しており、突状リブ10は、排気ポート5における湾曲の外側の内壁5Bに沿って配置されている。エンジン1は、天然ガスを燃料とする。
【選択図】図1
特許請求の範囲
【請求項1】
エンジンのシリンダヘッド内に形成される排気ポートと、
前記排気ポートを開閉する排気バルブと、
前記排気バルブを摺動自在に支持するバルブガイドと、を備え、
前記バルブガイドの下端部が前記排気ポートの上面の内壁から下方に突出するエンジンの排気ポート構造であって、
前記排気ポートの内壁に、前記排気ポートの内側に突出する突状リブが形成され、
前記突状リブは、前記排気ポートの内壁に沿って前記バルブガイドの下端部から下方かつ前記排気ポートにおける排気流れ方向下流側に向かって延びていることを特徴とするエンジンの排気ポート構造。
続きを表示(約 190 文字)
【請求項2】
前記排気ポートは、前記バルブガイドよりも排気流れ方向下流側において湾曲しており、
前記突状リブは、前記排気ポートにおける湾曲の外側の内壁に沿って配置されていることを特徴とする請求項1に記載のエンジンの排気ポート構造。
【請求項3】
前記エンジンは、天然ガスを燃料とすることを特徴とする請求項1に記載のエンジンの排気ポート構造。
発明の詳細な説明
【技術分野】
【0001】
本発明は、エンジンの排気ポート構造に関する。
続きを表示(約 1,800 文字)
【背景技術】
【0002】
特許文献1には、排気ポートにおいて発生した凝縮水が排気バルブのステム部の外周壁とバルブガイドのガイド穴の内周壁との隙間に侵入し、錆の発生によって両者が固着することを防止することを目的として、ガイド穴の内周壁における排気ポート側の端である軸方向一端側が、軸方向他端側よりステム部の外周壁に近接するようにしたバルブ構造が開示されている。特許文献1に記載のバルブ構造において、ガイド穴の内周壁の軸方向一端側は、内周方向に沿って環状に延在し、軸径方向内側に突出する環状凸部を有している。
【先行技術文献】
【特許文献】
【0003】
特開2021-17829号公報
【発明の概要】
【発明が解決しようとする課題】
【0004】
ところで、エンジンの冷機状態においては、シリンダヘッドに設けられたウォータジャケットに流れるエンジン冷却水が十分に温まっていないことから、排気ポート内を流れる排気ガスが急激に冷やされて凝縮水が多量に発生する。排気ポート内で発生した凝縮水は、排気ポートの内壁からバルブガイドを伝って排気バルブのステム部に流れる。この凝縮水は、酸性であることから排気バルブやバルブガイド等の排気部品を腐食させる原因となり、また、排気バルブの潤滑に必要な潤滑油を洗い流すことで、排気バルブの腐食および摩耗の要因となる。
【0005】
しかしながら、特許文献1に記載の従来の技術にあっては、バルブガイドの下端部の近傍に凝縮水が滞留した場合、その凝縮水を速やかに排除することができないため、滞留した凝縮水が徐々にバルブガイドのガイド穴の内部に侵入するおそれがあった。
【0006】
本発明は、上記のような事情に着目してなされたものであり、排気ポート内で発生した凝縮水を速やかに排気バルブから離れた位置に導き、排気バルブの腐食や摩耗を防止することができるエンジンの排気ポート構造を提供することを目的とするものである。
【課題を解決するための手段】
【0007】
本発明は、エンジンのシリンダヘッド内に形成される排気ポートと、前記排気ポートを開閉する排気バルブと、前記排気バルブを摺動自在に支持するバルブガイドと、を備え、前記バルブガイドの下端部が前記排気ポートの上面の内壁から下方に突出するエンジンの排気ポート構造であって、前記排気ポートの内壁に、前記排気ポートの内側に突出する突状リブが形成され、前記突状リブは、前記排気ポートの内壁に沿って前記バルブガイドの下端部から下方かつ前記排気ポートにおける排気流れ方向下流側に向かって延びていることを特徴とする。
【発明の効果】
【0008】
このように上記の本発明によれば、排気ポート内で発生した凝縮水を速やかに排気バルブから離れた位置に導き、排気バルブの腐食や摩耗を防止することができるエンジンの排気ポート構造を提供することができる。
【図面の簡単な説明】
【0009】
図1は、本発明の一実施例に係るエンジンの排気ポート構造を備えたエンジンのシリンダヘッドの断面図である。
図2は、図1に示すエンジンの排気ポート構造のII-II方向の矢視断面図である。
図3は、本発明の一実施例に係るエンジンの排気ポート構造を備えたエンジンの排気ポートを斜め下方から見た斜視図である。
【発明を実施するための形態】
【0010】
本発明の一実施の形態に係るエンジンの排気ポート構造は、エンジンのシリンダヘッド内に形成される排気ポートと、排気ポートを開閉する排気バルブと、排気バルブを摺動自在に支持するバルブガイドと、を備え、バルブガイドの下端部が排気ポートの上面の内壁から下方に突出するエンジンの排気ポート構造であって、排気ポートの内壁に、排気ポートの内側に突出する突状リブが形成され、突状リブは、排気ポートの内壁に沿ってバルブガイドの下端部から下方かつ排気ポートにおける排気流れ方向下流側に向かって延びていることを特徴とする。これにより、本発明の一実施の形態に係るエンジンの排気ポート構造は、排気ポート内で発生した凝縮水を速やかに排気バルブから離れた位置に導き、排気バルブの腐食や摩耗を防止することができる。
【実施例】
(【0011】以降は省略されています)
この特許をJ-PlatPat(特許庁公式サイト)で参照する
関連特許
個人
バンケル型内燃機関の改良
27日前
スズキ株式会社
車両の制御装置
24日前
スズキ株式会社
車両の制御装置
17日前
本田技研工業株式会社
車両
1か月前
本田技研工業株式会社
車両
1か月前
株式会社クボタ
作業車
17日前
トヨタ自動車株式会社
電磁弁
27日前
本田技研工業株式会社
内燃機関
1か月前
株式会社クボタ
作業車両
17日前
株式会社クボタ
作業車両
1か月前
本田技研工業株式会社
内燃機関
1か月前
本田技研工業株式会社
始動制御装置
1か月前
本田技研工業株式会社
始動制御装置
1か月前
トヨタ自動車株式会社
車両制御装置
17日前
トヨタ自動車株式会社
電磁弁の制御装置
27日前
トヨタ自動車株式会社
エンジン制御装置
12日前
株式会社デンソートリム
エンジン制御装置
1か月前
本田技研工業株式会社
内燃機関の吸気構造
1か月前
トヨタ自動車株式会社
内燃機関の制御装置
3日前
川崎重工業株式会社
ガスタービンエンジン
13日前
本田技研工業株式会社
可変ファンネル装置
1か月前
トヨタ自動車株式会社
フレックス燃料車両
3日前
トヨタ自動車株式会社
V型8気筒エンジン
27日前
大阪瓦斯株式会社
エンジンシステム
1か月前
マツダ株式会社
エンジン
1か月前
富士電機株式会社
駆動回路
11日前
株式会社SUBARU
車両
27日前
トヨタ自動車株式会社
水素エンジンの制御装置
11日前
三菱重工業株式会社
燃焼筒の取付方法
17日前
スズキ株式会社
多気筒エンジンの制御装置
5日前
三菱重工業株式会社
動力装置
20日前
本田技研工業株式会社
内燃機関の制御装置
1か月前
本田技研工業株式会社
内燃機関の制御装置
1か月前
三菱重工業株式会社
ガスタービン起動方法
13日前
三菱重工業株式会社
ガスタービン制御方法
24日前
愛三工業株式会社
燃料供給装置
1か月前
続きを見る
他の特許を見る