TOP
|
特許
|
意匠
|
商標
特許ウォッチ
Twitter
他の特許を見る
公開番号
2025156868
公報種別
公開特許公報(A)
公開日
2025-10-15
出願番号
2024059598
出願日
2024-04-02
発明の名称
エンジンのベルト伝動装置
出願人
スズキ株式会社
代理人
弁理士法人日誠国際特許事務所
主分類
F02B
67/06 20060101AFI20251007BHJP(燃焼機関;熱ガスまたは燃焼生成物を利用する機関設備)
要約
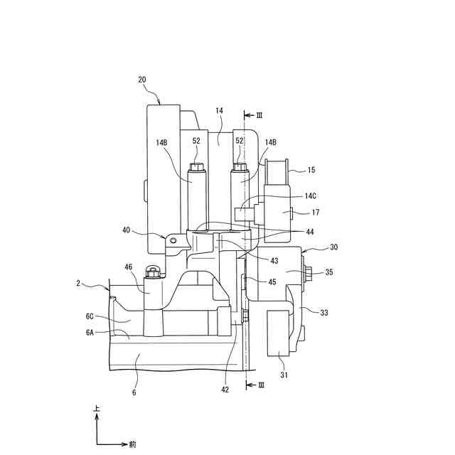
【課題】シリンダ軸を傾斜させたエンジンに配置される複数の補機をクランクプーリから単一のベルトで駆動する構成において、オートテンショナを効率良く配置してエンジンの小型化を図りつつ、ベルトの緩みを防止することができるエンジンのベルト伝動装置を提供すること。
【解決手段】支持ブラケット40は、オイルパン6に固定される第1固定部41および第2固定部42と、空調用コンプレッサ12およびモータジェネレータ14が取り付けられる補機取付部43、44と、これら各部に連続する前壁部45と、を有する。空調用コンプレッサ12は補機取付部43、44の下方に配置され、モータジェネレータ14は補機取付部43、44の上方に配置され、連結部35は前壁部45に取り付けられる。第1テンショナプーリ31は第1ベルトスパン16Aに配置され、第2テンショナプーリは第2ベルトスパン16Bに配置されている。
【選択図】図1
特許請求の範囲
【請求項1】
オイルパンの一側面が斜め上方に向くようシリンダ軸を傾斜させた姿勢で車両に搭載されたエンジン本体と、
前記エンジン本体のクランク軸に連結されるクランクプーリと、
第1プーリを有し、前記クランク軸の一端側における前記オイルパンの上方に配置される空調用コンプレッサと、
第2プーリを有し、前記クランク軸の一端側における前記空調用コンプレッサの上方に配置されるモータジェネレータと、
前記クランクプーリと前記第1プーリと前記第2プーリとに巻き掛けられた無端状のベルトと、
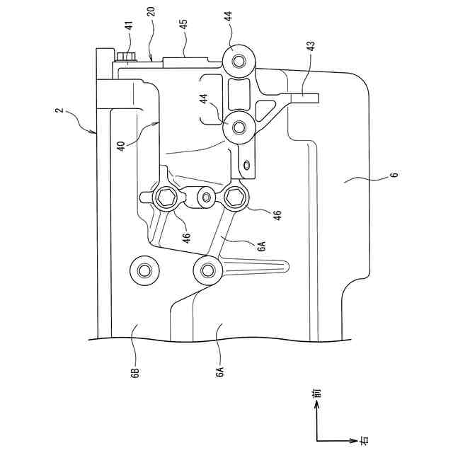
前記エンジン本体に取り付けられる連結部と、前記連結部の廻りに揺動する第1アームおよび第2アームと、前記第1アームの先端に取り付けられた第1テンショナプーリと、前記第2アームの先端に取り付けられた第2テンショナプーリと、を有し、前記第1テンショナプーリおよび前記第2テンショナプーリを相互に近付ける方向に付勢するオートテンショナと、を備えるエンジンのベルト伝動装置であって、
前記オイルパンの一側面の下部に、前記シリンダ軸に近づくように窪む窪み部が形成され、
前記オイルパンにおける前記窪み部より上方の部位に固定される第1固定部と、前記窪み部に固定される第2固定部と、前記空調用コンプレッサおよび前記モータジェネレータが取り付けられる補機取付部と、前記第1固定部、前記第2固定部および前記補機取付部に連続する前壁部と、を有する支持ブラケットを備え、
前記クランク軸の一端側から見た場合に、前記第1固定部と前記第2固定部と前記補機取付部とを結んで形成される領域内に前記前壁部が配置され、
前記空調用コンプレッサは、前記補機取付部の下方に配置され、
前記モータジェネレータは、前記補機取付部の上方に配置され、
前記連結部は、前記前壁部に取り付けられ、
前記第1テンショナプーリは、前記クランクプーリと前記第1プーリとの間の第1ベルトスパンに配置され、前記ベルトの外周面を押圧し、
前記第2テンショナプーリは、前記クランクプーリと前記第2プーリとの間の第2ベルトスパンに配置され、前記ベルトの外周面を押圧していることを特徴とするエンジンのベルト伝動装置。
続きを表示(約 480 文字)
【請求項2】
前記エンジン本体は、前記シリンダ軸に沿う方向で前記支持ブラケットより上側に配置されるエンジン側取付部を有し、
前記モータジェネレータは、前記エンジン側取付部に取り付けられる第1取付部と、前記補機取付部に取り付けられる第2取付部と、を有し、
前記第1取付部および前記エンジン側取付部は、前記モータジェネレータの半径方向に突出する板状に形成され、前記クランク軸と平行に延びる第1締結具によって相互に連結され、
前記第2取付部および前記補機取付部は、前記オイルパンの上面と交差する方向に延びるボス形状に形成され、前記第2取付部および前記補機取付部を貫通する第2締結具によって相互に連結されていることを特徴とする請求項1に記載のエンジンのベルト伝動装置。
【請求項3】
前記第1プーリと前記第2プーリとの間の第3ベルトスパンに配置され、前記ベルトの外周面を押圧するアイドラプーリを備え、
前記アイドラプーリは、前記第2取付部に取り付けられていることを特徴とする請求項2に記載のエンジンのベルト伝動装置。
発明の詳細な説明
【技術分野】
【0001】
本発明は、エンジンのベルト伝動装置に関する。
続きを表示(約 3,600 文字)
【背景技術】
【0002】
特許文献1には、補機と、この補機に架け渡される無端ベルトの張力を調整するブラケットとを含めて内燃機関の小型化を図るように構成された内燃機関の補機の取付構造が開示されている。特許文献1に記載の内燃機関の補機の取付構造は、シリンダボアの軸線を傾斜させて搭載される内燃機関と、クランクプーリに架け渡される無端ベルトによって回転されるプーリと、内燃機関に直接固定される固定部を支点として揺動可能に取り付けられる連結部を備える第1補機(オルタネータ)と、クランクプーリの回転に連動するプーリを備える第2補機(エアコンディショナのコンプレッサ等)と、無端ベルトの張力を調整するブラケットとを備えている。ブラケットは、プーリ間に配置される固定端部と、第1補機に連結される連結端部と、固定端部から補機のプーリ間を経て連結端部に亘って配置される本体とを備えている。
【先行技術文献】
【特許文献】
【0003】
特開2016-160955号公報
【発明の概要】
【発明が解決しようとする課題】
【0004】
ところで、特許文献1に記載の内燃機関の補機の取付構造において、第1補機を発電と力行が可能なモータジェネレータに変更する場合、モータジェネレータの発電時と力行時とでベルトの張力が変化することから、ベルトの緩みを防止するためにオートテンショナを追加することが必要になる。また、エアコンディショナのコンプレッサがベルトの走行方向でクランクプーリの下流側に配置され、コンプレッサの下流側にモータジェネレータが配置されているため、モータジェネレータの位置が高くなり、浸水による被害を回避できるが、モータジェネレータより駆動負荷の大きいコンプレッサがベルトの走行方向でクランクプーリの下流側に配置されていることから、クランクプーリとコンプレッサとの間のベルトに緩みが生じ易いという問題がある。
【0005】
特許文献1に記載の従来の技術にあっては、ベルトの緩みを防止するためのオートテンショナが設けられておらず、オートテンショナを設ける場合の配置についても考慮されていないため、オートテンショナを効率良く配置してエンジンの小型化を図りつつ、ベルトの緩みを防止することができないという問題があった。
【0006】
本発明は、上記のような事情に着目してなされたものであり、シリンダ軸を傾斜させたエンジンに配置される複数の補機をクランクプーリから単一のベルトで駆動する構成において、オートテンショナを効率良く配置してエンジンの小型化を図りつつ、ベルトの緩みを防止することができるエンジンのベルト伝動装置を提供することを目的とするものである。
【課題を解決するための手段】
【0007】
本発明は、オイルパンの一側面が斜め上方に向くようシリンダ軸を傾斜させた姿勢で車両に搭載されたエンジン本体と、前記エンジン本体のクランク軸に連結されるクランクプーリと、第1プーリを有し、前記クランク軸の一端側における前記オイルパンの上方に配置される空調用コンプレッサと、第2プーリを有し、前記クランク軸の一端側における前記空調用コンプレッサの上方に配置されるモータジェネレータと、前記クランクプーリと前記第1プーリと前記第2プーリとに巻き掛けられた無端状のベルトと、前記エンジン本体に取り付けられる連結部と、前記連結部の廻りに揺動する第1アームおよび第2アームと、前記第1アームの先端に取り付けられた第1テンショナプーリと、前記第2アームの先端に取り付けられた第2テンショナプーリと、を有し、前記第1テンショナプーリおよび前記第2テンショナプーリを相互に近付ける方向に付勢するオートテンショナと、を備えるエンジンのベルト伝動装置であって、前記オイルパンの一側面の下部に、前記シリンダ軸に近づくように窪む窪み部が形成され、前記オイルパンにおける前記窪み部より上方の部位に固定される第1固定部と、前記窪み部に固定される第2固定部と、前記空調用コンプレッサおよび前記モータジェネレータが取り付けられる補機取付部と、前記第1固定部、前記第2固定部および前記補機取付部に連続する前壁部と、を有する支持ブラケットを備え、前記クランク軸の一端側から見た場合に、前記第1固定部と前記第2固定部と前記補機取付部とを結んで形成される領域内に前記前壁部が配置され、前記空調用コンプレッサは、前記補機取付部の下方に配置され、前記モータジェネレータは、前記補機取付部の上方に配置され、前記連結部は、前記前壁部に取り付けられ、前記第1テンショナプーリは、前記クランクプーリと前記第1プーリとの間の第1ベルトスパンに配置され、前記ベルトの外周面を押圧し、前記第2テンショナプーリは、前記クランクプーリと前記第2プーリとの間の第2ベルトスパンに配置され、前記ベルトの外周面を押圧していることを特徴とする。
【発明の効果】
【0008】
このように上記の本発明によれば、シリンダ軸を傾斜させたエンジンに配置される複数の補機をクランクプーリから単一のベルトで駆動する構成において、オートテンショナを効率良く配置してエンジンの小型化を図りつつ、ベルトの緩みを防止することができるエンジンのベルト伝動装置を提供することができる。
【図面の簡単な説明】
【0009】
図1は、本発明の一実施例に係るエンジンのベルト伝動装置を備えたエンジンの正面図である。
図2は、本発明の一実施例に係るエンジンのベルト伝動装置を備えたエンジンの底部の右側面図である。
図3は、図2に示すエンジンのベルト伝動装置を備えたエンジンのIII-III方向の矢視断面図である。
図4は、本発明の一実施例に係るエンジンのベルト伝動装置を備えたエンジンの底部の斜視図である。
図5は、本発明の一実施例に係るエンジンのベルト伝動装置を備えたエンジンの底部の正面図である。
図6は、本発明の一実施例に係るエンジンのベルト伝動装置を備えたエンジンの底部の平面図である。
【発明を実施するための形態】
【0010】
本発明の一実施の形態に係るエンジンのベルト伝動装置は、オイルパンの一側面が斜め上方に向くようシリンダ軸を傾斜させた姿勢で車両に搭載されたエンジン本体と、エンジン本体のクランク軸に連結されるクランクプーリと、第1プーリを有し、クランク軸の一端側におけるオイルパンの上方に配置される空調用コンプレッサと、第2プーリを有し、クランク軸の一端側における空調用コンプレッサの上方に配置されるモータジェネレータと、クランクプーリと第1プーリと第2プーリとに巻き掛けられた無端状のベルトと、エンジン本体に取り付けられる連結部と、連結部の廻りに揺動する第1アームおよび第2アームと、第1アームの先端に取り付けられた第1テンショナプーリと、第2アームの先端に取り付けられた第2テンショナプーリと、を有し、第1テンショナプーリおよび第2テンショナプーリを相互に近付ける方向に付勢するオートテンショナと、を備えるエンジンのベルト伝動装置であって、オイルパンの一側面の下部に、シリンダ軸に近づくように窪む窪み部が形成され、オイルパンにおける窪み部より上方の部位に固定される第1固定部と、窪み部に固定される第2固定部と、空調用コンプレッサおよびモータジェネレータが取り付けられる補機取付部と、第1固定部、第2固定部および補機取付部に連続する前壁部と、を有する支持ブラケットを備え、クランク軸の一端側から見た場合に、第1固定部と第2固定部と補機取付部とを結んで形成される領域内に前壁部が配置され、空調用コンプレッサは、補機取付部の下方に配置され、モータジェネレータは、補機取付部の上方に配置され、連結部は、前壁部に取り付けられ、第1テンショナプーリは、クランクプーリと第1プーリとの間の第1ベルトスパンに配置され、ベルトの外周面を押圧し、第2テンショナプーリは、クランクプーリと第2プーリとの間の第2ベルトスパンに配置され、ベルトの外周面を押圧していることを特徴とする。これにより、本発明の一実施の形態に係るエンジンのベルト伝動装置は、シリンダ軸を傾斜させたエンジンに配置される複数の補機をクランクプーリから単一のベルトで駆動する構成において、オートテンショナを効率良く配置してエンジンの小型化を図りつつ、ベルトの緩みを防止することができる。
【実施例】
(【0011】以降は省略されています)
この特許をJ-PlatPat(特許庁公式サイト)で参照する
関連特許
スズキ株式会社
車両構造
1か月前
スズキ株式会社
車両構造
1か月前
スズキ株式会社
車両構造
1か月前
スズキ株式会社
車両構造
1か月前
スズキ株式会社
車両構造
1か月前
スズキ株式会社
車両構造
1か月前
スズキ株式会社
車両構造
1か月前
スズキ株式会社
開閉機構
10日前
スズキ株式会社
車両構造
1か月前
スズキ株式会社
車室構造
1か月前
スズキ株式会社
車室構造
1か月前
スズキ株式会社
車室構造
1か月前
スズキ株式会社
シート構造
10日前
スズキ株式会社
シート構造
10日前
スズキ株式会社
車両制御装置
8日前
スズキ株式会社
燃料電池車両
1か月前
スズキ株式会社
車両後部構造
1か月前
スズキ株式会社
動力伝達装置
8日前
スズキ株式会社
車両側部構造
18日前
スズキ株式会社
燃料電池車両
1か月前
スズキ株式会社
車両検査装置
1か月前
スズキ株式会社
車両用荷室構造
1か月前
スズキ株式会社
車体ルーフ構造
1か月前
スズキ株式会社
車両の制御装置
22日前
スズキ株式会社
車両用制御装置
1か月前
スズキ株式会社
車両用制御装置
19日前
スズキ株式会社
車両の制御装置
29日前
スズキ株式会社
車両用ルーフ構造
8日前
スズキ株式会社
車両の可動ゲート
25日前
スズキ株式会社
衝突被害軽減装置
1か月前
スズキ株式会社
電動車両の後部構造
1か月前
スズキ株式会社
車両の制御システム
22日前
スズキ株式会社
電動車両の後部構造
1か月前
スズキ株式会社
車両の制御システム
22日前
スズキ株式会社
車両の制御システム
1か月前
スズキ株式会社
車両の制御システム
1か月前
続きを見る
他の特許を見る