TOP
|
特許
|
意匠
|
商標
特許ウォッチ
Twitter
他の特許を見る
公開番号
2025159507
公報種別
公開特許公報(A)
公開日
2025-10-21
出願番号
2024062116
出願日
2024-04-08
発明の名称
キャブオーバー型車両
出願人
スズキ株式会社
代理人
弁理士法人東京国際特許事務所
主分類
B62D
33/02 20060101AFI20251014BHJP(鉄道以外の路面車両)
要約
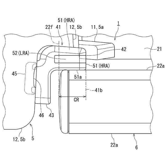
【課題】サイドゲートとリアピラーとの間に挟まれるストッパーの圧縮永久歪みを抑制してロック装置によるサイドゲートの良好な保持を持続可能なキャブオーバー型車両を提供する。
【解決手段】キャブオーバー型車両1は、側面後部に配置されるリアピラー15を有するキャビン5と、車幅方向の側縁部に配置される開閉可能なサイドゲート22a、22bを有してキャビン5の後方に配置されるデッキ6と、サイドゲート22a、22bを閉じた状態で保持するサイドロック装置25a、25bと、リアピラー15およびサイドゲート22a、22bの少なくとも一方に設けられてサイドゲート22a、22bを閉じた状態でリアピラー15とサイドゲート22a、22bとの間に挟まれるストッパー41と、を備えている。ストッパー41は、サイドゲート22a、22bを閉じた状態でサイドゲート22a、22bに接する高密度部位51と、高密度部位51よりも密度が小さい材質製の低密度部位52と、を有している。
【選択図】 図3
特許請求の範囲
【請求項1】
側面後部に配置されるリアピラーを有するキャビンと、
車幅方向の側縁部に配置される開閉可能なサイドゲートを有して前記キャビンの後方に配置されるデッキと、
前記サイドゲートを閉じた状態で保持するロック装置と、
前記リアピラーおよび前記サイドゲートの少なくとも一方に設けられて前記サイドゲートを閉じた状態で前記リアピラーと前記サイドゲートとの間に挟まれるストッパーと、を備え、
前記ストッパーは、前記サイドゲートを閉じた状態で前記サイドゲートに接する第一部位と、前記第一部位よりも密度が小さい第二部位と、を有するキャブオーバー型車両。
続きを表示(約 430 文字)
【請求項2】
車両前後方向において、前記第二部位は、前記ストッパーの後端から前記サイドゲートの前端よりも前側の範囲に亘って設けられている請求項1または2に記載のキャブオーバー型車両。
【請求項3】
車幅方向において、前記第二部位は、前記第一部位に挟まれ、
前記第一部位は、前記サイドゲートを閉じた状態で前記リアピラーに接する請求項1または2に記載のキャブオーバー型車両。
【請求項4】
前記ストッパーは、前記サイドゲートを閉じた状態で前記リアピラーと前記サイドゲートとの間に挟まれる部位第一緩衝部位と、前記リアピラーに固定される第二緩衝部位と、を有し、
前記2つの緩衝部位はL字形状を描くように配置されている請求項1に記載のキャブオーバー型車両。
【請求項5】
前記第一部位の材料は、ゴム材であり、
前記第二部位の材料は、発泡剤である請求項1または2に記載のキャブオーバー型車両。
発明の詳細な説明
【技術分野】
【0001】
本発明は、キャブオーバー型車両に関する。
続きを表示(約 1,600 文字)
【背景技術】
【0002】
キャビンの両側後端のリアピラーと荷箱のサイドパネル前端とを連結する連結板と、荷箱の前側板を兼務するキャビンのバックパネルと、を備える軽トラックが知られている。
【0003】
連結板は、連続する一枚の板材であって、リアピラーに締着される前端部と、クッション材を介してサイドパネルの前部内側壁面に締着される後端部と、を有している。クッション材は、リアピラーとサイドパネルとのメタルタッチを防いでいる。クッション材は、ゴム、またはゴムのような性質を有する樹脂であって、サイドパネルの前端部とリアピラーの後端部との間に介在する。クッション材は、車両幅方向において、サイドパネル(サイドパネルの一部であるL字型断面ブラケット)とリアピラーとの双方に密着し、車両の前後方向において、リアピラーに密着し、サイドパネルとの間に隙間を隔てている。
【先行技術文献】
【特許文献】
【0004】
実開昭56-129370号公報
【発明の概要】
【発明が解決しようとする課題】
【0005】
キャビンと、キャビンの後方に配置されるデッキと、を備える軽トラックのようなキャブオーバー型車両は、デッキの側方に配置されて開閉可能なサイドゲートと、サイドゲートを閉じた状態で保持するロック装置と、を備える場合がある。サイドゲートは「あおり」とも呼ばれる。ロック装置は、デッキに積載される荷物が車両の走行などによる外乱によってサイドゲートを開いてしまわないように、サイドゲートを閉じた状態で強固に保持する。
【0006】
そして、サイドゲートとリアピラーとの間に介在するストッパーは、サイドゲートを強固に保持するロック装置によって、長時間にわたって押し潰された状態(環境)に置かれることがある。そのような環境に曝されるストッパーは、元の形状に戻らなくなって、永久変形してしまい、歪みがストッパーに残ってしまうことがある。このストッパーに残留する歪みは、圧縮永久歪みと呼ばれる。
【0007】
ストッパーに圧縮永久歪みが残ってしまうと、サイドゲートとストッパーとの間、またはリアピラーとストッパーとの間に隙間が生じてしまう可能性が高くなる。それらの隙間は、ロック装置によるサイドゲートの保持を不十分な状態に低下させてしまう。そうすると、サイドゲートはガタついて、異音を生じる。
【0008】
そこで、本発明は、サイドゲートとリアピラーとの間に挟まれるストッパーの圧縮永久歪みを抑制してロック装置によるサイドゲートの良好な保持を持続可能なキャブオーバー型車両を提供することを目的とする。
【課題を解決するための手段】
【0009】
前記の課題を解決するため、本発明に係るキャブオーバー型車両は、側面後部に配置されるリアピラーを有するキャビンと、車幅方向の側縁部に配置される開閉可能なサイドゲートを有して前記キャビンの後方に配置されるデッキと、前記サイドゲートを閉じた状態で保持するロック装置と、前記リアピラーおよび前記サイドゲートの少なくとも一方に設けられて前記サイドゲートを閉じた状態で前記リアピラーと前記サイドゲートとの間に挟まれるストッパーと、を備え、前記ストッパーは、前記サイドゲートを閉じた状態で前記サイドゲートに接する第一部位と、前記第一部位よりも密度が小さい第二部位と、を有している。
【発明の効果】
【0010】
本発明によれば、サイドゲートとリアピラーとの間に挟まれるストッパーの圧縮永久歪みを抑制してロック装置によるサイドゲートの良好な保持を持続可能なキャブオーバー型車両を提供できる。
【図面の簡単な説明】
(【0011】以降は省略されています)
この特許をJ-PlatPat(特許庁公式サイト)で参照する
関連特許
スズキ株式会社
開閉機構
1か月前
スズキ株式会社
リッド構造
5日前
スズキ株式会社
シート構造
1か月前
スズキ株式会社
シート構造
1か月前
スズキ株式会社
リッド構造
5日前
スズキ株式会社
車体カバー
12日前
スズキ株式会社
車体下部構造
5日前
スズキ株式会社
動力伝達装置
1か月前
スズキ株式会社
車両用変速機
5日前
スズキ株式会社
車体下部構造
5日前
スズキ株式会社
運転支援装置
20日前
スズキ株式会社
車両制御装置
5日前
スズキ株式会社
車両制御装置
1か月前
スズキ株式会社
電源システム
5日前
スズキ株式会社
車両側部構造
1か月前
スズキ株式会社
車両用制御装置
1か月前
スズキ株式会社
パーツボックス
20日前
スズキ株式会社
パーツボックス
20日前
スズキ株式会社
車両の制御装置
14日前
スズキ株式会社
車両の制御装置
1か月前
スズキ株式会社
車両用制御装置
5日前
スズキ株式会社
車両用ルーフ構造
1か月前
スズキ株式会社
バイフューエル車両
5日前
スズキ株式会社
自動変速機システム
今日
スズキ株式会社
車両の速度制御装置
1か月前
スズキ株式会社
操作装置の設置構造
5日前
スズキ株式会社
内燃機関の制御装置
12日前
スズキ株式会社
内燃機関の吸気装置
20日前
スズキ株式会社
タイヤ径算出システム
6日前
スズキ株式会社
エンジンの排気浄化装置
28日前
スズキ株式会社
エンジンの排気浄化装置
28日前
スズキ株式会社
多気筒エンジンの制御装置
1か月前
スズキ株式会社
導電性ゴム部材の接続構造
12日前
スズキ株式会社
小型電動車両の動力伝達装置
今日
スズキ株式会社
車両用ルーフライニング構造
1か月前
スズキ株式会社
車両用コンプレッサ制御方法
14日前
続きを見る
他の特許を見る