TOP
|
特許
|
意匠
|
商標
特許ウォッチ
Twitter
他の特許を見る
公開番号
2025176349
公報種別
公開特許公報(A)
公開日
2025-12-04
出願番号
2024082432
出願日
2024-05-21
発明の名称
タイヤ径算出システム
出願人
スズキ株式会社
代理人
個人
主分類
G01B
21/00 20060101AFI20251127BHJP(測定;試験)
要約
【課題】タイヤの径を適切に算出できるようにすることを目的とする。
【解決手段】本発明のタイヤ径算出システムは、路面と車体との間の距離を電磁波の照射を用いて測定する距離センサ13と、サスペンション30のストロークを測定するストロークセンサ14と、距離センサ13により測定された距離とストロークセンサ14により測定されたストロークとに基づいて、装着しているタイヤの径を算出する制御部11と、を有する。ストロークセンサ14により測定されたストロークを考慮することにより、積載状況に左右されずにタイヤ径を適切に算出することができる。
【選択図】図1
特許請求の範囲
【請求項1】
路面と車体との間の距離を電磁波の照射を用いて測定する距離センサと、
サスペンションのストロークを測定するストロークセンサと、
前記距離センサにより測定された距離と前記ストロークセンサにより測定されたストロークとに基づいて、装着しているタイヤの径を算出する制御部と、を有することを特徴とするタイヤ径算出システム。
続きを表示(約 260 文字)
【請求項2】
前記制御部は、
所定の時点における、路面と車体との間の第1距離の情報と、前記サスペンションの第1ストロークの情報とを取得し、
前記所定の時点と異なる時点における、前記距離センサにより測定された第2距離の情報と、前記ストロークセンサにより測定された第2ストロークの情報とを取得し、
前記第2距離と前記第1ストロークとの和から前記第1距離と前記第2ストロークとを差し引くことにより、装着しているタイヤの径を算出することを特徴とする請求項1に記載のタイヤ径算出システム。
発明の詳細な説明
【技術分野】
【0001】
本発明は、タイヤ径算出システムに関するものである。
続きを表示(約 1,400 文字)
【背景技術】
【0002】
従来から、車両に装着されたタイヤの径とタイヤの回転速度とに基づいて、車両の車速が演算されることが知られている。このような車両において異なる径のタイヤが交換されて装着された場合には精度よく車速を演算することができない。
【0003】
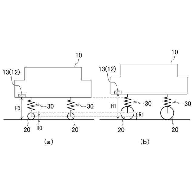
特許文献1には、タイヤの無荷重時の半径であるタイヤ半径とタイヤの走行時の半径である有効半径(車軸と路面との距離)との差であるたわみ量を用いてタイヤの摩耗の度合いを推定するタイヤ摩耗推定方法が開示されている。特許文献1では、タイヤが取付けられている車両に距離センサを設置して、車両と路面までの距離を計測して、計測した距離を車軸と路面との距離に換算してタイヤの有効半径を算出している。
【先行技術文献】
【特許文献】
【0004】
特許第7319940号公報
【発明の概要】
【発明が解決しようとする課題】
【0005】
しかしながら、特許文献1に開示されたタイヤの径を算出する方法では、車両に乗っている乗員や積載された荷物等による車両の積載状況によっては、算出されるタイヤの径に影響を与えてしまう。すなわち、積載量が大きければ距離センサによって車両と路面までの距離が小さく計測されてしまい、積載量が小さければ距離センサによって車両と路面までの距離が大きく計測されてしまうことから、実際のタイヤの径とは異なる径として算出されてしまう。したがって、従来のタイヤの径を算出する方法では、タイヤの径を適切に算出することができないという問題がある。
【0006】
本発明は、上述したような問題点に鑑みてなされたものであり、タイヤの径を適切に算出できるようにすることを目的とする。
【課題を解決するための手段】
【0007】
本発明のタイヤ径算出システムは、路面と車体との間の距離を電磁波の照射を用いて測定する距離センサと、サスペンションのストロークを測定するストロークセンサと、前記距離センサにより測定された距離と前記ストロークセンサにより測定されたストロークとに基づいて、装着しているタイヤの径を算出する制御部と、を有することを特徴とする。
【発明の効果】
【0008】
本発明によれば、タイヤの径を適切に算出することができる。
【図面の簡単な説明】
【0009】
タイヤ径算出システムを備えた車両の構成を示す模式図である。
タイヤの交換前後の車両の状態を示す模式図である。
積載状況が変化した車両の状態を示す模式図である。
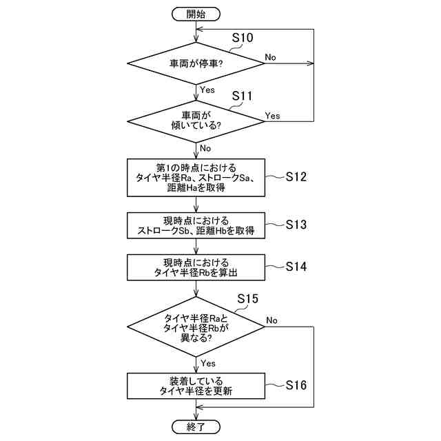
タイヤ径を算出する処理の一例を示すフローチャートである。
【発明を実施するための形態】
【0010】
本発明に係るタイヤ径算出システムは、路面と車体との間の距離を電磁波の照射を用いて測定する距離センサ13と、サスペンション30のストロークを測定するストロークセンサ14と、距離センサ13により測定された距離とストロークセンサ14により測定されたストロークとに基づいて、装着しているタイヤの径を算出する制御部11と、を有する。ストロークセンサ14により測定されたストロークを考慮することにより積載状況に左右されずにタイヤ径を適切に算出することができる。
【実施例】
(【0011】以降は省略されています)
この特許をJ-PlatPat(特許庁公式サイト)で参照する
関連特許
スズキ株式会社
開閉機構
29日前
スズキ株式会社
車体カバー
6日前
スズキ株式会社
シート構造
29日前
スズキ株式会社
シート構造
29日前
スズキ株式会社
車両制御装置
27日前
スズキ株式会社
車両側部構造
1か月前
スズキ株式会社
運転支援装置
14日前
スズキ株式会社
動力伝達装置
27日前
スズキ株式会社
車両の制御装置
1か月前
スズキ株式会社
車両用制御装置
1か月前
スズキ株式会社
車両の制御装置
8日前
スズキ株式会社
パーツボックス
14日前
スズキ株式会社
パーツボックス
14日前
スズキ株式会社
車両用ルーフ構造
27日前
スズキ株式会社
車両の可動ゲート
1か月前
スズキ株式会社
車両の制御システム
1か月前
スズキ株式会社
車両の制御システム
1か月前
スズキ株式会社
内燃機関の制御装置
6日前
スズキ株式会社
車両の速度制御装置
28日前
スズキ株式会社
内燃機関の吸気装置
14日前
スズキ株式会社
タイヤ径算出システム
今日
スズキ株式会社
エンジンの排気浄化装置
22日前
スズキ株式会社
エンジンの排気浄化装置
22日前
スズキ株式会社
導電性ゴム部材の接続構造
6日前
スズキ株式会社
多気筒エンジンの制御装置
29日前
スズキ株式会社
車両用コンプレッサ制御方法
8日前
スズキ株式会社
車両用ルーフライニング構造
27日前
スズキ株式会社
運転支援装置及び運転支援方法
1か月前
スズキ株式会社
ハイブリッド車両の動力伝達装置
27日前
スズキ株式会社
ハイブリッド車両の動力伝達装置
14日前
日本発條株式会社
車両用シート
6日前
スズキ株式会社
ハイブリッド車両の動力伝達装置
27日前
スズキ株式会社
ハイブリッド車両の動力伝達装置
27日前
スズキ株式会社
車両用シートベルトバックル固定構造
1か月前
スズキ株式会社
内燃機関のオイルレベルゲージの支持構造
1か月前
スズキ株式会社
車室構造
1か月前
続きを見る
他の特許を見る