TOP
|
特許
|
意匠
|
商標
特許ウォッチ
Twitter
他の特許を見る
公開番号
2025167211
公報種別
公開特許公報(A)
公開日
2025-11-07
出願番号
2024071622
出願日
2024-04-25
発明の名称
ハイブリッド車両の動力伝達装置
出願人
スズキ株式会社
代理人
弁理士法人日誠国際特許事務所
主分類
B60K
6/40 20071001AFI20251030BHJP(車両一般)
要約
【課題】クラッチの回転中心軸方向の寸法を短くして、小型化を図ることができるハイブリッド車両の動力伝達装置を提供すること。
【解決手段】動力伝達装置4は、湿式クラッチ25を収容するケース10と、内燃機関1と湿式クラッチ25の間に配置され、内燃機関1の回転変動を吸収するダンパ21と、内燃機関1と変速機3を接続するとともに、内燃機関1と変速機3とを切断するように湿式クラッチ25を操作するレリーズ機構36とを備えている。レリーズ機構36、湿式クラッチ25およびダンパ21は、回転中心軸方向で変速機3側からレリーズ機構36、湿式クラッチ25およびダンパ21の順にケース10の内部に配置されている。湿式クラッチ25は、左側ケース部10Bに軸受11Eを介して回転自在に支持されており、ダンパ21は、軸受11Fを介して湿式クラッチ25に回転自在に支持されている。
【選択図】図5
特許請求の範囲
【請求項1】
内燃機関と変速機の間に配置され、回転電機からの動力を前記変速機に伝達し、かつ、前記内燃機関と前記変速機との間で動力を断接可能なクラッチを有するハイブリッド車両の動力伝達装置であって、
前記クラッチを収容するケースと、
前記内燃機関と前記クラッチの間に配置され、前記内燃機関の回転変動を吸収するダンパと、
前記内燃機関と前記変速機との間で動力を断接するように前記クラッチを操作するクラッチ操作部材とを備えており、
前記クラッチ操作部材、前記クラッチおよび前記ダンパは、前記クラッチの回転中心軸方向で前記変速機側から前記クラッチ操作部材、前記クラッチおよび前記ダンパの順に前記ケースの内部に配置されており、
前記クラッチは、前記ケースに第1の軸受を介して回転自在に支持されており、
前記ダンパは、第2の軸受を介して前記クラッチに回転自在に支持されていることを特徴とするハイブリッド車両の動力伝達装置。
続きを表示(約 380 文字)
【請求項2】
前記第1の軸受は、前記ケースに取付けられた外輪と、前記クラッチに取付けられ、転動部を介して前記外輪に回転自在に連結された内輪とを有し、
前記外輪と前記内輪は、前駆クラッチの回転中心軸方向に移動不能となるようにそれぞれ前記ケースと前記クラッチに固定されていることを特徴とする請求項1に記載のハイブリッド車両の動力伝達装置。
【請求項3】
前記回転電機の動力が入力される駆動ギヤと、
前記クラッチの外端部に設けられ、前記駆動ギヤに噛み合う従動ギヤとを有し、
前記従動ギヤは、前記クラッチ操作部材よりも大径に形成されており、
前記従動ギヤと前記クラッチ操作部材は、前記クラッチの回転中心軸方向で同じ位置に配置されていることを特徴とする請求項1または請求項2に記載のハイブリッド車両の動力伝達装置。
発明の詳細な説明
【技術分野】
【0001】
本発明は、ハイブリッド車両の動力伝達装置に関する。
続きを表示(約 1,600 文字)
【背景技術】
【0002】
内燃機関またはモータの何れか一方の動力を、変速機を介して駆動輪に伝達するハイブリッド車両の駆動装置が知られている(特許文献1参照)。
【0003】
この駆動装置は、内燃機関と変速機との間に設けられ、内燃機関と変速機とを接続または分離するメインクラッチと、モータの動力を第1の動力伝達部に対して伝達または遮断可能な第1クラッチと、モータの動力を第2の動力伝達部に対して伝達または遮断可能な第2クラッチとを備えている。
【先行技術文献】
【特許文献】
【0004】
特開2003-165348号公報
【発明の概要】
【発明が解決しようとする課題】
【0005】
しかしながら、特許文献1に記載の駆動装置は、内燃機関と変速機との間およびモータと変速機の間に動力を接続または分離可能なメインクラッチ、第1クラッチおよび第2クラッチが設けられているが、これらのクラッチをコンパクトに配置する具体的な構成の記載がなく、クラッチの部品点数が増大し、駆動装置が大型化するおそれがある。
【0006】
また、内燃機関と変速機の間で内燃機関の回転変動を吸収するダンパを設ける場合に、駆動装置の部品点数がさらに増加し、駆動装置がより一層大型化するおそれがある。
【0007】
本発明は、上記のような事情に着目してなされたものであり、クラッチの回転中心軸方向の寸法を短くして、小型化を図ることができるハイブリッド車両の動力伝達装置を提供することを目的とするものである。
【課題を解決するための手段】
【0008】
本発明は、内燃機関と変速機の間に配置され、回転電機からの動力を前記変速機に伝達し、かつ、前記内燃機関と前記変速機との間で動力を断接可能なクラッチを有するハイブリッド車両の動力伝達装置であって、前記クラッチを収容するケースと、前記内燃機関と前記クラッチの間に配置され、前記内燃機関の回転変動を吸収するダンパと、前記内燃機関と前記変速機との間で動力を断接するように前記クラッチを操作するクラッチ操作部材とを備えており、前記クラッチ操作部材、前記クラッチおよび前記ダンパは、前記クラッチの回転中心軸方向で前記変速機側から前記クラッチ操作部材、前記クラッチおよび前記ダンパの順に前記ケースの内部に配置されており、前記クラッチは、前記ケースに第1の軸受を介して回転自在に支持されており、前記ダンパは、第2の軸受を介して前記クラッチに回転自在に支持されていることを特徴とする。
【発明の効果】
【0009】
このように上記の本発明によれば、クラッチの回転中心軸方向の寸法を短くして、動力伝達装置の小型化を図ることができる。
【図面の簡単な説明】
【0010】
図1は、本発明の一実施例に係る動力伝達装置を備えた内燃機関と変速機の横断面図である(動力伝達装置は図3のV-V方向矢視断面に相当)。
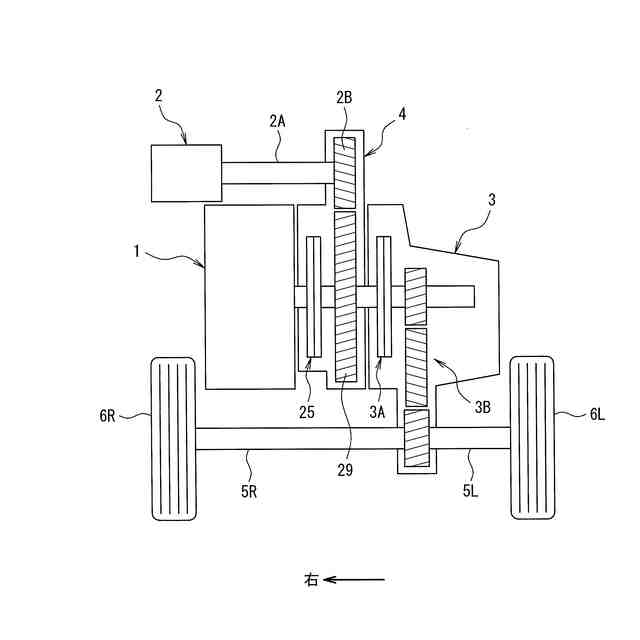
図2は、本発明の一実施例に係る動力伝達装置を備えたハイブリッド車両の概略構成図である。
図3は、本発明の一実施例に係る動力伝達装置の右側面図(内燃機関側から見た図)である。
図4は、本発明の一実施例に係る動力伝達装置の左側面図(変速機側から見た図)である。
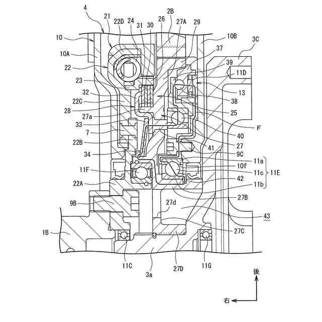
図5は、本発明の一実施例に係る動力伝達装置の横断面図であり、図3のV-V方向矢視断面図である。
図6は、本発明の一実施例に係る動力伝達装置の横断面図であり、レリーズ反力の伝達経路を示す図(図3のV-V方向矢視断面図に相当)。
【発明を実施するための形態】
(【0011】以降は省略されています)
この特許をJ-PlatPat(特許庁公式サイト)で参照する
関連特許
スズキ株式会社
車室構造
1か月前
スズキ株式会社
車室構造
1か月前
スズキ株式会社
車室構造
1か月前
スズキ株式会社
車両構造
1か月前
スズキ株式会社
車両構造
1か月前
スズキ株式会社
車両構造
1か月前
スズキ株式会社
車両構造
1か月前
スズキ株式会社
開閉機構
1か月前
スズキ株式会社
車体カバー
7日前
スズキ株式会社
シート構造
1か月前
スズキ株式会社
シート構造
1か月前
スズキ株式会社
リッド構造
今日
スズキ株式会社
リッド構造
今日
スズキ株式会社
電源システム
今日
スズキ株式会社
動力伝達装置
28日前
スズキ株式会社
車両制御装置
今日
スズキ株式会社
車体下部構造
今日
スズキ株式会社
車体下部構造
今日
スズキ株式会社
車両検査装置
1か月前
スズキ株式会社
車両後部構造
1か月前
スズキ株式会社
車両用変速機
今日
スズキ株式会社
車両制御装置
28日前
スズキ株式会社
車両側部構造
1か月前
スズキ株式会社
運転支援装置
15日前
スズキ株式会社
車両用制御装置
1か月前
スズキ株式会社
車両用制御装置
今日
スズキ株式会社
車両の制御装置
1か月前
スズキ株式会社
車両用制御装置
1か月前
スズキ株式会社
車両の制御装置
9日前
スズキ株式会社
パーツボックス
15日前
スズキ株式会社
車両の制御装置
1か月前
スズキ株式会社
パーツボックス
15日前
スズキ株式会社
車両の可動ゲート
1か月前
スズキ株式会社
車両用ルーフ構造
28日前
スズキ株式会社
バイフューエル車両
今日
スズキ株式会社
車両の制御システム
1か月前
続きを見る
他の特許を見る