TOP
|
特許
|
意匠
|
商標
特許ウォッチ
Twitter
他の特許を見る
10個以上の画像は省略されています。
公開番号
2025153938
公報種別
公開特許公報(A)
公開日
2025-10-10
出願番号
2024056664
出願日
2024-03-29
発明の名称
車室構造
出願人
スズキ株式会社
代理人
個人
,
個人
,
個人
,
個人
,
個人
,
個人
主分類
B60R
21/04 20060101AFI20251002BHJP(車両一般)
要約
【課題】車両の衝突時に、シートに着座する乗員の胸部や腹部を保護する。
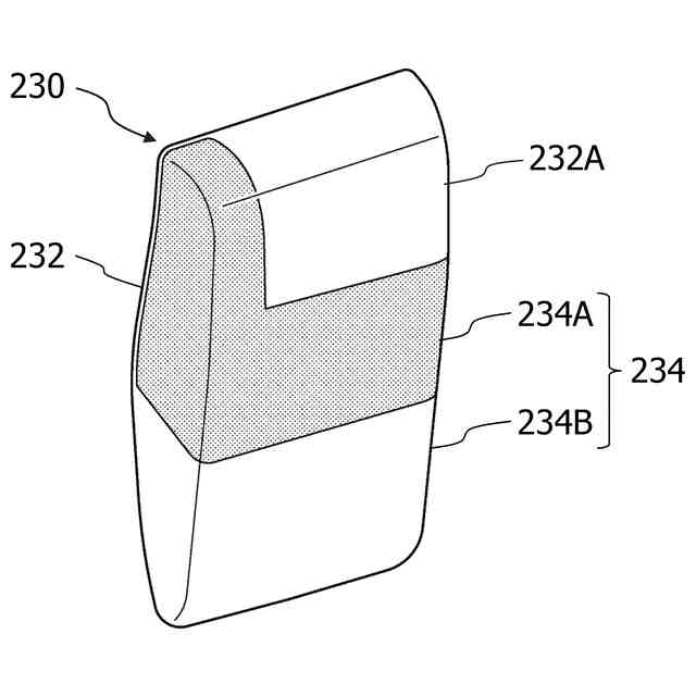
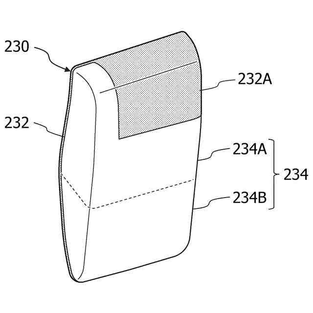
【解決手段】車室構造100は、車室を構成するフロントフロアパネル110、バックフロアパネル120、バックキャビンパネル130、フロントサイドパネル140、ルーフサイドパネル150、サイドキャビンパネル160及びタイヤハウスインナパネル170などと、乗員が着座するシート180と、シート180の側方に位置するサイドキャビンパネル160に取り付けられたロアトリム210と、を備えている。そして、ロアトリム210において、シート180に着座する標準的な体型の乗員の肩部の側方を臨む所定箇所に、その周囲より剛性が高い高剛性部となる肩当てパッド230が取り付けられている。
【選択図】図1
特許請求の範囲
【請求項1】
乗員が着座するシートの側方に位置する車体パネルに取り付けられたトリムを備え、
前記トリムは、前記シートに着座する標準的な体型の乗員の肩部の側方を臨む所定箇所が当該所定箇所の周囲より剛性が高い高剛性部となっている、
車室構造。
続きを表示(約 710 文字)
【請求項2】
シート側方視で前記高剛性部の左方、右方、上方及び下方の少なくとも1つに、当該高剛性部よりも剛性が低い低剛性部が設けられた、
請求項1に記載の車室構造。
【請求項3】
前記低剛性部は、シート側方視で左右方向及び上下方向の少なくとも1方向の剛性が変化するように構成された、
請求項2に記載の車室構造。
【請求項4】
前記低剛性部は、前記高剛性部の下方に配置された、
請求項2に記載の車室構造。
【請求項5】
前記低剛性部は、前記シートに着座した乗員の前方に配置された、
請求項2に記載の車室構造。
【請求項6】
前記高剛性部と前記低剛性部との間に、前記高剛性部の剛性と前記低剛性部の剛性との剛性差を小さくする移行部が設けられた、
請求項2に記載の車室構造。
【請求項7】
前記移行部は、前記高剛性部と前記低剛性部との境界に配置された、
請求項6に記載の車室構造。
【請求項8】
前記移行部は、前記低剛性部の端部を前記高剛性部の端部よりも車室側に位置するように重ねて配置することで形成された、
請求項7に記載の車室構造。
【請求項9】
前記高剛性部、前記低剛性部及び前記移行部は、車室側が均一な平面となるように配置された、
請求項7に記載の車室構造。
【請求項10】
前記移行部は、前記高剛性部から前記低剛性部へと向けて剛性が徐々に小さくなる、
請求項6に記載の車室構造。
(【請求項11】以降は省略されています)
発明の詳細な説明
【技術分野】
【0001】
本発明は、車両の車室構造に関する。
続きを表示(約 1,900 文字)
【背景技術】
【0002】
車両に対して他の車両が側面衝突すると、乗員が着座するシートの側方に位置するパネルが車室側に突出し、シートに着座する乗員に影響が及ぶおそれがある。このため、特開2021-123223号公報(特許文献1)に記載されるように、シートの側方に位置するパネルにシートに沿う膨出部を形成し、車両側方の強度を向上させることが考えられる。
【先行技術文献】
【特許文献】
【0003】
特開2021-123223号公報
【発明の概要】
【発明が解決しようとする課題】
【0004】
しかしながら、特許文献1に記載される技術では、車両に対して他の車両が側面衝突すると膨出部全体が車室側に突出するので、シートに着座する乗員への影響を抑制することが困難であった。なお、車両の側面衝突時に、シートに着座する乗員への影響を抑制するためには、乗員の肩部よりも下方に位置する胸部や腹部を保護する必要がある。
【0005】
そこで、本発明は、車両の衝突時に、シートに着座する乗員の胸部や腹部を保護することができる、車室構造を提供することを目的とする。
【課題を解決するための手段】
【0006】
車室構造は、乗員が着座するシートの側方に位置する車体パネルに取り付けられたトリムを備え、トリムは、シートに着座する標準的な体型の乗員の肩部の側方を臨む所定箇所がその周囲より剛性が高い高剛性部となっている。
【発明の効果】
【0007】
本発明によれば、車両の衝突時に、シートに着座する乗員の胸部や腹部を保護することができる。
【図面の簡単な説明】
【0008】
車室構造の一例を示す斜視図である。
車室構造の一例を示す側面図である。
車室構造の一例を示す正面図である。
図1におけるA-A断面の拡大斜視図である。
ロアトリムの一例を示す分解斜視図である。
第1変形例に係る肩当てパッドの一例を示す斜視図である。
第2変形例に係る肩当てパッドの一例を示す斜視図である。
第3変形例に係る肩当てパッドの一例を示す斜視図である。
第4変形例に係る肩当てパッドの一例を示す斜視図である。
第5変形例に係る肩当てパッドの一例を示す斜視図である。
第6変形例に係る肩当てパッドの一例を示す斜視図である。
第7変形例に係る肩当てパッドの一例を示す斜視図である。
第8変形例に係る肩当てパッドの一例を示す斜視図である。
第9変形例に係る肩当てパッドの一例を示す斜視図である。
第10変形例に係る肩当てパッドの一例を示す斜視図である。
第11変形例に係る肩当てパッドの一例を示す斜視図である。
第12変形例に係る肩当てパッドの一例を示す斜視図である。
肩当てパッドの一例を示す縦断面図である。
肩当てパッドの他の例を示す斜視図である。
【発明を実施するための形態】
【0009】
以下、添付された図面を参照し、本発明を実施するための実施形態について詳述する。
図1~図3は、本実施形態を適用可能な車両の車室構造100の一例を示している。なお、以下説明する車室構造100は、あくまで本実施形態の一例を示す例示にすぎず、その構成に限定されると解釈すべきではない。
【0010】
車室構造100は、床壁を構成するフロントフロアパネル110及びバックフロアパネル120と、後壁を構成するバックキャビンパネル130と、両側壁を構成する左右一対のフロントサイドパネル140、ルーフサイドパネル150、サイドキャビンパネル160及びタイヤハウスインナパネル170と、前壁を構成するフロントパネル(図示せず)と、天壁を構成するルーフパネル(図示せず)と、がスポット溶接などで適宜接合されて構成されている。ここで、フロントフロアパネル110、バックフロアパネル120、バックキャビンパネル130、フロントサイドパネル140、ルーフサイドパネル150、サイドキャビンパネル160及びタイヤハウスインナパネル170などが、各種のパネルの一例として挙げられる。また、バックキャビンパネル130は、車室の後部に、荷物などを収容するバックスペースを設けるために使用されている。これらの各種のパネルは、鋼板等によって構成されて車体骨格部材を形成する車体パネルを意味する。
(【0011】以降は省略されています)
この特許をJ-PlatPat(特許庁公式サイト)で参照する
関連特許
スズキ株式会社
車両構造
27日前
スズキ株式会社
車室構造
27日前
スズキ株式会社
車両構造
27日前
スズキ株式会社
車両構造
27日前
スズキ株式会社
車両構造
27日前
スズキ株式会社
開閉機構
1日前
スズキ株式会社
車両構造
27日前
スズキ株式会社
車両構造
27日前
スズキ株式会社
車両構造
27日前
スズキ株式会社
車両構造
27日前
スズキ株式会社
車室構造
27日前
スズキ株式会社
車室構造
27日前
スズキ株式会社
シート構造
1日前
スズキ株式会社
シート構造
1日前
スズキ株式会社
車両検査装置
22日前
スズキ株式会社
燃料電池車両
1か月前
スズキ株式会社
モータケース
1か月前
スズキ株式会社
車両用変速機
1か月前
スズキ株式会社
燃料電池車両
1か月前
スズキ株式会社
車両側部構造
9日前
スズキ株式会社
車両用バンパ
1か月前
スズキ株式会社
車両前部構造
1か月前
スズキ株式会社
車両後部構造
21日前
スズキ株式会社
車両用制御装置
22日前
スズキ株式会社
車両用荷室構造
27日前
スズキ株式会社
車体ルーフ構造
27日前
スズキ株式会社
車両用送風構造
1か月前
スズキ株式会社
車両の制御装置
20日前
スズキ株式会社
車両の制御装置
1か月前
スズキ株式会社
車両用送風構造
1か月前
スズキ株式会社
車両用送風構造
1か月前
スズキ株式会社
車両用制御装置
10日前
スズキ株式会社
車両の制御装置
13日前
スズキ株式会社
車両のルーフ構造
1か月前
スズキ株式会社
衝突被害軽減装置
1か月前
スズキ株式会社
車両の可動ゲート
16日前
続きを見る
他の特許を見る