TOP
|
特許
|
意匠
|
商標
特許ウォッチ
Twitter
他の特許を見る
10個以上の画像は省略されています。
公開番号
2025138281
公報種別
公開特許公報(A)
公開日
2025-09-25
出願番号
2024037285
出願日
2024-03-11
発明の名称
車両用送風構造
出願人
スズキ株式会社
代理人
個人
,
個人
,
個人
,
個人
,
個人
,
個人
主分類
B60H
1/00 20060101AFI20250917BHJP(車両一般)
要約
【課題】コンソールに設けられた車両操作部及び荷物収容部等が配置されるスペースを確保しつつ、コンソール内の流路部の流路断面の面積を確保する。
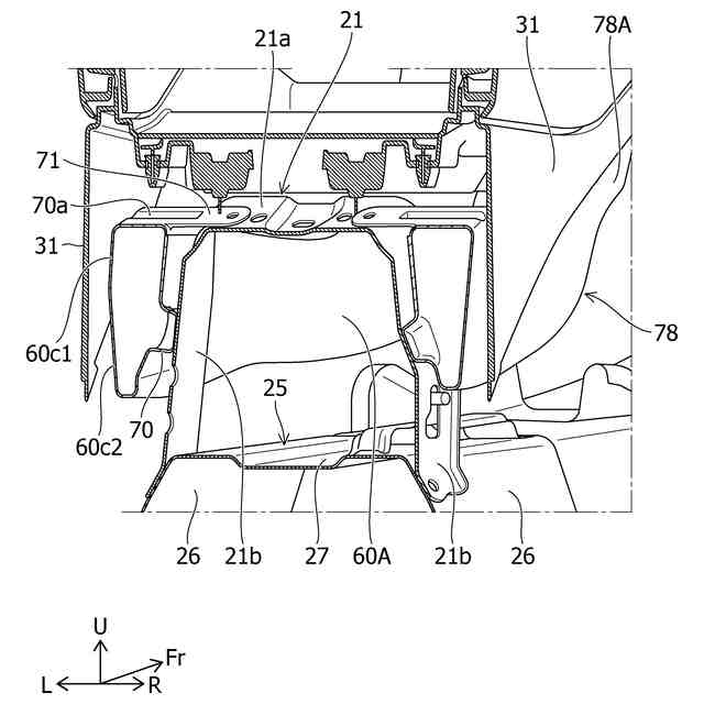
【解決手段】送風構造は、フロントシートの後方に空調風を送風するコンソールダクト45と、車両操作部が設けられているセンターコンソール30とを有し、内装構造部は、センターコンソール30の上面よりも下方側に位置する下方部位を有し、コンソールダクト45は、センターコンソール30内に配置され且つ前後方向に延びる流路部60を有し、流路部60の内側面61は、外側に窪み、下方部位の外側部に沿って配置される窪み部68,69と、下方部位の下方側で下方部位の外側端よりも内側に膨出する少なくとも一つの膨出部63~67と、を有する。
【選択図】図9
特許請求の範囲
【請求項1】
車両室のフロントシートの前方側から、前記フロントシートの後方側に、空調風を送風する空調ダクトと、
前記車両室内における車幅方向の中間部に配置され、内装構造部が内部に設けられているコンソールと、
を有し、
前記内装構造部は、前記コンソールの上面よりも下方側に位置する下方部位を有している、車両用送風構造であって、
前記空調ダクトは、前記コンソール内に配置され且つ車両前後方向に延びる流路部を有し、
前記流路部の車幅方向の内側面は、
車幅方向外側に窪み、前記下方部位の車幅方向外側部に沿って配置される、少なくとも一つの窪み部と、
前記下方部位の下方側で前記下方部位の車幅方向外側端よりも車幅方向内側に膨出する少なくとも一つの膨出部と、を有することを特徴とする、車両用送風構造。
続きを表示(約 1,500 文字)
【請求項2】
前記窪み部の少なくとも一部は、前記膨出部よりも前方側に配置され、
前記窪み部内には、後方に向かうに従い車幅方向外側に傾斜する傾斜面部が設けられていることを特徴とする、請求項1に記載の車両用送風構造。
【請求項3】
前記膨出部は、
前記窪み部の下方に配置される第1膨出部と、
前記窪み部の下方側且つ後方側に配置され、前記第1膨出部の後部から後方に向かうに従い上方に傾斜するように延びる第2膨出部と、
前記第2膨出部の後方側且つ上方側に配置され、車幅方向の流路幅が後方に向かうに従い小さくなるように形成される第3膨出部と、
を含むことを特徴とする、請求項2に記載の車両用送風構造。
【請求項4】
前記窪み部は、
前記第1膨出部の上方に配置される第1窪み部と、
前記第2膨出部の後方側に配置される第2窪み部と、
を含み、
前記傾斜面部は、
前記第1窪み部内に設けられ、後方に向かうに従い車幅方向外側に傾斜する第1傾斜面部と、
前記第2窪み部の後部に設けられ、後方に向かうに従い車幅方向外側に傾斜する第2傾斜面部と、
を含むことを特徴とする、請求項3に記載の車両用送風構造。
【請求項5】
前記流路部は、前記第2窪み部の後方側に配置され、後方に向かうに従い車幅方向内側に傾斜する内側傾斜面部を有し、
前記第2窪み部内の下部は、前記内側傾斜面部に向かって上方に傾斜していることを特徴とする、請求項4に記載の車両用送風構造。
【請求項6】
前記流路部は、車両後方に向かうに従い車幅方向外側に傾斜する傾斜部と、前記傾斜部の後部から車両後方に延びる後方延長部と、を有し、
前記窪み部及び前記膨出部は、前記後方延長部の車幅方向内側面に設けられていることを特徴とする、請求項1に記載の車両用送風構造。
【請求項7】
前記膨出部の前方側には、前記コンソールを支持する支持部材が設けられ、
前記支持部材は、
前記コンソールを支持する支持面部と、
前記支持面部の車幅方向両側から下方に延び、車両室のフロア部に固定される壁部と、を有し、
車幅方向における両側の前記壁部の間隔は、下方に向かうに従い方に向かうほど離間するように傾斜しており、
前記膨出部の前方側に位置する前記後方延長部の車幅方向の前記内側面には、前記壁部の車幅方向外側面に沿って傾斜する傾斜面が設けられていることを特徴とする、請求項1に記載の車両用送風構造。
【請求項8】
前記傾斜面には、前記壁部の車幅方向外側面に当接する突出部が設けられ、
前記膨出部の前端部は、前記突出部よりも下方側に配置され、
前記膨出部の車幅方向内側部における前部には、後方に向かうに従い車幅方向内側に傾斜する傾斜面が設けられていることを特徴とする、請求項7に記載の車両用送風構造。
【請求項9】
前記流路部の前記傾斜部の上面には、上方に膨出する膨出面が形成され、
前記膨出面は、車幅方向内側に延びて前記支持面部に連結される連結部を有していることを特徴とする、請求項8に記載の車両用送風構造。
【請求項10】
前記内装構造部は、少なくとも車両操作部、荷物収容部、及び、車載アクセサリーのいずれかを含むことを特徴とする、請求項1ないし請求項9のいずれか一項に記載の車両用送風構造。
発明の詳細な説明
【技術分野】
【0001】
本発明は、車両用送風構造に関する。
続きを表示(約 1,500 文字)
【背景技術】
【0002】
車両用の空調ユニットは、例えば、車両室の前部のインストルメントパネルの車両前方側に配置されている。空調ユニットには、車両室内に空調風を送るための空調ダクトが接続されている。また、空調ダクトは、例えば、インストルメントパネルに設けられた送風口に接続されている。空調ユニットから送られる空調風は、該空調ダクトを介して、送風口から、車両室内に向けて送風される。
【0003】
また、車両用の空調ユニットとして、空調ダクトを介して、車両室の後部に送風するように構成されるものが知られている。例えば、フロアパネルの下方側に、空調ダクトを配置し、空調ユニットにより生成される空調風を、フロントシートよりも後方側の車両室内に向けて送風するように構成された構造が知られている。
【0004】
しかしながら、フロアパネルの下方側に空調ダクトを配置するスペースを確保することが困難な車両もある。そのような場合、例えば、特許文献1に開示されているように、車両のフロア部に設けられたフロアコンソールの内部に、空調ダクトの一部を構成する流路を設けて、フロントシートの車両後方側に送風する構造が知られている。
【0005】
この例では、左右のフロントシートの間に設けられ且つ車両前後方向に延びるフロアコンソールの内部に、空調風が流通可能な流路が設けられ、フロアコンソールの後部に設けられた送風口から、空調風が送風される。
【先行技術文献】
【特許文献】
【0006】
特開2000-272330号公報
【発明の概要】
【発明が解決しようとする課題】
【0007】
フロアコンソールの例えば上部における車幅方向中間部には、車両の各種装置を操作するための操作部、及び、物品を仮置きまたは収納可能な荷物収容部が設けられている。操作部には、例えば、シフトセレクタ、パーキングブレーキハンドル、及び、FPBスイッチ等が含まれる。荷物収容部には、例えば、収納ボックス及びドリンクホルダ等が含まれる。このようなフロアコンソールに流路部を設ける場合には、操作部及び荷物収容部を避けて、流路部を配置する必要がある。流路部を内部に配置するために、フロアコンソールは、所定の車幅方向長さを必要とする。
【0008】
ところが、大型車両に比べて、車両室内空間が狭い小型車両に設置されるフロアコンソールは、レイアウトの制約があるため、車幅方向の長さについて、よりコンパクト化が求められる場合がある。そのため、フロアコンソールの内部に流路部を設けることが困難な場合がある。上記例の構造では、流路断面を上下に延びる細長形状とすることにより、流路部をフロアコンソール内に配置している。
【0009】
しかし、上記例の構造では、流路部の流路断面について、十分な面積を確保することが難しい。流路断面の面積が小さいと、送風口となるルーバー開口部において、要求される風量及び風速を得ることが困難な場合がある。そのため、フロアコンソールに設けられる車両操作部及び荷物収容部が配置されるスペースを確保しつつ、流路部の流路断面の面積を確保する上で、上記例の構造には、改善の余地があった。
【0010】
本発明は上記課題を解決するためになされたものであって、その目的は、コンソールに設けられた車両操作部及び荷物収容部等が配置されるスペースを確保しつつ、コンソール内の流路部の流路断面の面積を確保することが可能な車両用送風構造を提供することである。
【課題を解決するための手段】
(【0011】以降は省略されています)
この特許をJ-PlatPat(特許庁公式サイト)で参照する
関連特許
スズキ株式会社
車室構造
1か月前
スズキ株式会社
車室構造
1か月前
スズキ株式会社
車両構造
1か月前
スズキ株式会社
車両構造
1か月前
スズキ株式会社
車両構造
1か月前
スズキ株式会社
車両構造
1か月前
スズキ株式会社
車室構造
1か月前
スズキ株式会社
開閉機構
21日前
スズキ株式会社
車両構造
1か月前
スズキ株式会社
車両構造
1か月前
スズキ株式会社
車両構造
1か月前
スズキ株式会社
車両構造
1か月前
スズキ株式会社
シート構造
21日前
スズキ株式会社
シート構造
21日前
スズキ株式会社
車両側部構造
29日前
スズキ株式会社
車両検査装置
1か月前
スズキ株式会社
車両後部構造
1か月前
スズキ株式会社
燃料電池車両
1か月前
スズキ株式会社
動力伝達装置
19日前
スズキ株式会社
運転支援装置
6日前
スズキ株式会社
車両制御装置
19日前
スズキ株式会社
車両用荷室構造
1か月前
スズキ株式会社
車両の制御装置
今日
スズキ株式会社
パーツボックス
6日前
スズキ株式会社
車体ルーフ構造
1か月前
スズキ株式会社
パーツボックス
6日前
スズキ株式会社
車両用制御装置
1か月前
スズキ株式会社
車両の制御装置
1か月前
スズキ株式会社
車両用制御装置
1か月前
スズキ株式会社
車両の制御装置
1か月前
スズキ株式会社
衝突被害軽減装置
1か月前
スズキ株式会社
車両の可動ゲート
1か月前
スズキ株式会社
車両用ルーフ構造
19日前
スズキ株式会社
電動車両の後部構造
1か月前
スズキ株式会社
内燃機関の吸気装置
6日前
スズキ株式会社
車両の制御システム
1か月前
続きを見る
他の特許を見る