TOP
|
特許
|
意匠
|
商標
特許ウォッチ
Twitter
他の特許を見る
公開番号
2025181281
公報種別
公開特許公報(A)
公開日
2025-12-11
出願番号
2024089165
出願日
2024-05-31
発明の名称
車両の制御装置
出願人
スズキ株式会社
代理人
個人
,
個人
,
個人
,
個人
,
個人
,
個人
主分類
B60W
30/16 20200101AFI20251204BHJP(車両一般)
要約
【課題】ACC機能を実行する際に個々のユーザに適したユーザ設定を適切なタイミングで提案できる制御装置を提供する。
【解決手段】ACC制御部21と、車両が走行した走行ルートを保存するルート保存部22と、ACC機能を作動したときのユーザ設定情報を含むACC機能の作動履歴を走行ルートに関連付けて保存するACC履歴保存部23と、車両の周囲の環境情報を取得する環境情報取得部26と、ACC履歴保存部23に保存されたACC機能の作動履歴に基づいてACC機能のユーザ設定提案を提示する設定提案部24と、設定提案部24によるユーザ設定提案がユーザによって承認されるとそのユーザ設定提案をユーザ設定として決定するACC設定決定部25と、環境情報取得部26によって取得される環境情報に基づいて設定提案部24によってユーザ設定提案を提示する提示タイミングを決定するタイミング決定部27とを備える。
【選択図】図1
特許請求の範囲
【請求項1】
ユーザによって設定可能な設定車速と設定車間距離を含むユーザ設定に従って、車両が走行している車線内に先行車が存在しない場合は前記設定車速を維持して定速走行を行い、先行車が存在する場合は前記設定車間距離を維持して前記先行車への追従走行を行うACC機能を実行するように構成されたACC制御部と、
前記車両が走行した走行ルートを保存するように構成されたルート保存部と、
前記ACC機能を作動したときの前記設定車速および前記設定車間距離を含むユーザ設定情報を含む前記ACC機能の作動履歴を、前記走行ルートに関連付けて保存するように構成されたACC履歴保存部と、
前記車両の周囲の環境情報を取得するように構成された環境情報取得部と、
前記ACC履歴保存部に保存された前記ACC機能の前記作動履歴に基づいて前記ACC機能のユーザ設定提案を提示するように構成された設定提案部と、
前記設定提案部による前記ユーザ設定提案がユーザによって承認されると、前記設定提案部による前記ユーザ設定提案を前記ユーザ設定として決定するように構成されたACC設定決定部と、
前記環境情報取得部によって取得される前記環境情報に基づいて、前記設定提案部によって前記ユーザ設定提案を提示する提示タイミングを決定するように構成されたタイミング決定部と
を備え、
前記設定提案部は、前記タイミング決定部によって決定された前記提示タイミングで、前記ユーザ設定提案を提示する、車両の制御装置。
続きを表示(約 1,800 文字)
【請求項2】
前記設定提案部は、前記車両が、前記ルート保存部に記憶された前記走行ルートを走行している場合に、前記走行ルートに関連付けて前記ACC履歴保存部に保存された前記ユーザ設定情報に基づいて前記ユーザ設定提案の内容を決定する、請求項1に記載の車両の制御装置。
【請求項3】
前記ACC履歴保存部は、前記ACC機能の前記作動履歴として、前記車両が前記走行ルートを走行した際に前記ACC機能の作動をオン/オフしたことを示す作動情報をさらに保存し、
前記環境情報取得部は、前記環境情報として、前記車両の位置情報を取得し、
前記タイミング決定部は、前記車両が、前記ACC機能の作動をオンして走行した経験のある前記走行ルートを走行しているときに、前記提示タイミングを決定する、請求項1に記載の車両の制御装置。
【請求項4】
前記ACC履歴保存部に保存される前記ACC機能の前記作動履歴は、前記走行ルート上において前記ACC機能の作動がオンされた作動開始位置を含み、
前記環境情報取得部は、前記環境情報として、前記車両の位置情報を取得し、
前記タイミング決定部は、前記車両の現在位置が、前記走行ルート上の前記作動開始位置を含む所定範囲内にあるときに、前記提示タイミングを決定する、請求項1に記載の車両の制御装置。
【請求項5】
前記タイミング決定部は、前記車両の現在位置が、前記走行ルート上の前記所定範囲内において前記作動開始位置よりも手前の位置にあるときに、前記提示タイミングを決定する、請求項4に記載の車両の制御装置。
【請求項6】
前記ACC履歴保存部に保存される前記ACC機能の前記作動履歴は、前記走行ルート上において前記ACC機能の作動がオンされた作動開始位置を含み、
前記環境情報取得部は、前記環境情報として、前記車両の位置情報を取得し、
前記タイミング決定部は、前記作動開始位置が高速道路上である場合は、前記車両の現在位置が、前記高速道路に接続するインターチェンジにあるときに、前記提示タイミングを決定する、請求項1に記載の車両の制御装置。
【請求項7】
前記環境情報取得部は、前記車両の前方に発生している渋滞の情報を取得する渋滞情報取得部を有し、
前記タイミング決定部は、前記車両の前方に渋滞が発生している場合、前記提示タイミングを決定せず、前記渋滞が解消すると、前記提示タイミングを決定する、請求項1に記載の車両の制御装置。
【請求項8】
前記環境情報取得部は、前記走行ルートの道路に指定された制限速度を取得する制限速度取得部を有し、
前記車両が前記走行ルートを走行している場合に、前記設定提案部は、前記ACC履歴保存部に保存された前記ユーザ設定情報に含まれる設定車速と、前記走行ルートの前記制限速度のうち、いずれか小さい方の速度を前記ユーザ設定提案の内容として決定し、
前記タイミング決定部は、前記制限速度取得部によって前記走行ルートの前記制限速度が取得されると、前記提示タイミングを決定し、前記車両が前記走行ルートを走行している間に前記制限速度が変化すると、前記提示タイミングを再度、決定する、請求項1に記載の車両の制御装置。
【請求項9】
前記設定提案部は、
前記車両が前記走行ルートを走行している間に前記制限速度が増加すると、増加後の制限速度を前記ユーザ設定提案の内容として決定し、
前記車両が前記走行ルートを走行している間に前記制限速度が低下した場合、前記ACC履歴保存部に保存された前記設定車速が低下後の制限速度よりも大きいときは前記低下後の制限速度を前記ユーザ設定提案の内容として決定し、前記設定車速が前記低下後の制限速度以下のときは前記ユーザ設定提案を提示しない、請求項8に記載の車両の制御装置。
【請求項10】
前記環境情報取得部は、前記車両の周囲の天候情報を取得する天候情報取得部を有し、
前記タイミング決定部は、前記天候情報が悪天候の場合、前記提示タイミングを決定せず、天候が回復すると、前記提示タイミングを決定する、請求項1に記載の車両の制御装置。
発明の詳細な説明
【技術分野】
【0001】
本発明は、アダプティブクルーズコントロール機能を実行するように構成された車両の制御装置に関する。
続きを表示(約 2,100 文字)
【背景技術】
【0002】
ドライバの運転操作を支援するために、車両が適切な車間距離を保って走行するように車間距離制御を行うアダプティブクルーズコントロール(ACC)機能が知られている。ACC機能の実行中、車両は、ドライバが設定した設定車間距離を保ちながら先行車に追従するように加速および減速が制御され、また、先行車がいない場合はドライバが設定した設定車速を維持して走行するように制御される。
【0003】
例えば特許文献1には、先行車両に追従して自車両を走行させる制御を行う車両制御装置において、制限速度を示す数字、旋回時制限車速および交通流速に基づいて提案設定車速を設定し、ヘッドアップディスプレイに設定された提案設定車速を表示するものが開示されている。この装置においては、提案設定車速を表示した後、許可スイッチから許可信号が入力されると、ACC機能の設定車速を、提案設定車速が示す値に変更するように構成されている。
【先行技術文献】
【特許文献】
【0004】
特開2016-215769号公報
【発明の概要】
【発明が解決しようとする課題】
【0005】
通常、ACC機能を実行する際には、ドライバが自らスイッチ操作などを行うことにより、設定車速および設定車間距離などを決定する必要がある。例えば、ユーザ設定の設定車速は、ドライバが希望する車速まで加速したうえでドライバがスイッチ操作を行う、またはドライバがスイッチ操作によって希望する車速を設定することにより、決定される。すなわち、ACC機能を実行するため、ドライバは、設定車速および設定車間距離を決定するために煩雑な手動操作を行う必要がある。
【0006】
そこで、上記特許文献1に記載の車両制御装置は、速度制限標識が示す制限速度、カーブを走行する場合に自車両に作用する横加速度が予め設定された上限横加速度をとなるときの車速、および自車両の周辺を走行している車両の流れの速度に基づいて、提案設定車速を設定している。しかし、特許文献1の車両制御装置によって設定された提案設定車速は、ドライバの希望を考慮していないため、ドライバが希望する車速に一致するとは限らない。また、特許文献1の車両制御装置においては、提案設定車速をヘッドアップディスプレイに表示するタイミングについて、何ら考慮されていない。
【0007】
本発明は、上記のような実状に鑑みてなされたものであり、その目的は、ACC機能を実行する際に、ユーザ設定を決定するためのドライバによる煩雑な操作を軽減しながら、個々のユーザに適したユーザ設定を適切なタイミングで提案できるようにすることにある。
【課題を解決するための手段】
【0008】
本発明の一態様によれば、車両の制御装置は、ユーザによって設定可能な設定車速と設定車間距離を含むユーザ設定に従って、車両が走行している車線内に先行車が存在しない場合は前記設定車速を維持して定速走行を行い、先行車が存在する場合は前記設定車間距離を維持して前記先行車への追従走行を行うACC機能を実行するように構成されたACC制御部と、前記車両が走行した走行ルートを保存するように構成されたルート保存部と、前記ACC機能を作動したときの前記設定車速および前記設定車間距離を含むユーザ設定情報を含む前記ACC機能の作動履歴を、前記走行ルートに関連付けて保存するように構成されたACC履歴保存部と、前記車両の周囲の環境情報を取得するように構成された環境情報取得部と、前記ACC履歴保存部に保存された前記ACC機能の前記作動履歴に基づいて前記ACC機能のユーザ設定提案を提示するように構成された設定提案部と、前記設定提案部による前記ユーザ設定提案がユーザによって承認されると、前記設定提案部による前記ユーザ設定提案を前記ユーザ設定として決定するように構成されたACC設定決定部と、前記環境情報取得部によって取得される前記環境情報に基づいて、前記設定提案部によって前記ユーザ設定提案を提示する提示タイミングを決定するように構成されたタイミング決定部とを備え、前記設定提案部は、前記タイミング決定部によって決定された前記提示タイミングで、前記ユーザ設定提案を提示する。
【発明の効果】
【0009】
本発明に係る車両の制御装置は、ACC機能を実行する際に、ユーザ設定を決定するためのドライバによる煩雑な操作を軽減しながら、個々のユーザに適したユーザ設定を適切なタイミングで提案できる。
【図面の簡単な説明】
【0010】
図1は、本発明の一実施の形態における車両の制御システムの概略構成を示すブロック図である。
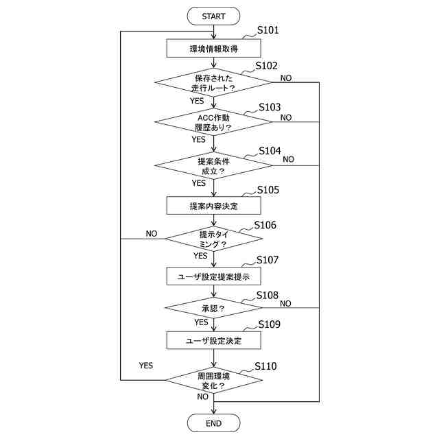
図2は、ユーザ設定決定処理の流れを説明するフローチャートである。
【発明を実施するための形態】
(【0011】以降は省略されています)
この特許をJ-PlatPat(特許庁公式サイト)で参照する
関連特許
スズキ株式会社
車両構造
2か月前
スズキ株式会社
車両構造
2か月前
スズキ株式会社
車両構造
2か月前
スズキ株式会社
車両構造
2か月前
スズキ株式会社
車両構造
2か月前
スズキ株式会社
車両構造
2か月前
スズキ株式会社
車両構造
2か月前
スズキ株式会社
車両構造
2か月前
スズキ株式会社
車室構造
2か月前
スズキ株式会社
車室構造
2か月前
スズキ株式会社
開閉機構
1か月前
スズキ株式会社
車室構造
2か月前
スズキ株式会社
リッド構造
6日前
スズキ株式会社
シート構造
1か月前
スズキ株式会社
車体カバー
13日前
スズキ株式会社
シート構造
1か月前
スズキ株式会社
リッド構造
6日前
スズキ株式会社
燃料電池車両
2か月前
スズキ株式会社
車両制御装置
1か月前
スズキ株式会社
動力伝達装置
1か月前
スズキ株式会社
車両側部構造
1か月前
スズキ株式会社
運転支援装置
21日前
スズキ株式会社
車両検査装置
1か月前
スズキ株式会社
燃料電池車両
2か月前
スズキ株式会社
車両前部構造
今日
スズキ株式会社
車両後部構造
1か月前
スズキ株式会社
車体下部構造
6日前
スズキ株式会社
車両制御装置
6日前
スズキ株式会社
車体下部構造
6日前
スズキ株式会社
車両用変速機
6日前
スズキ株式会社
電源システム
6日前
スズキ株式会社
車体ルーフ構造
2か月前
スズキ株式会社
車両の制御装置
今日
スズキ株式会社
車両用荷室構造
2か月前
スズキ株式会社
車両の制御装置
今日
スズキ株式会社
車両の制御装置
今日
続きを見る
他の特許を見る