TOP
|
特許
|
意匠
|
商標
特許ウォッチ
Twitter
他の特許を見る
公開番号
2025173347
公報種別
公開特許公報(A)
公開日
2025-11-27
出願番号
2024078897
出願日
2024-05-14
発明の名称
燃料噴射装置
出願人
株式会社デンソー
代理人
弁理士法人服部国際特許事務所
主分類
F02M
61/14 20060101AFI20251119BHJP(燃焼機関;熱ガスまたは燃焼生成物を利用する機関設備)
要約
【課題】ノズルボデーの腐食を抑制可能な燃料噴射装置を提供する。
【解決手段】バックアップリング80は、リテーニングナット溝部55に設けられている。Oリング91は、ノズルボデー20の径方向外側においてバックアップリング80に対し軸方向の噴孔23側かつバックアップリング80に対し径方向内側に設けられている。ガスケット92は、リテーニングナット50の噴孔23側の端面に接するよう、ノズルボデー20の径方向外側においてリテーニングナット溝部55、バックアップリング80、および、Oリング91に対し軸方向の噴孔23側に設けられる。
【選択図】図2
特許請求の範囲
【請求項1】
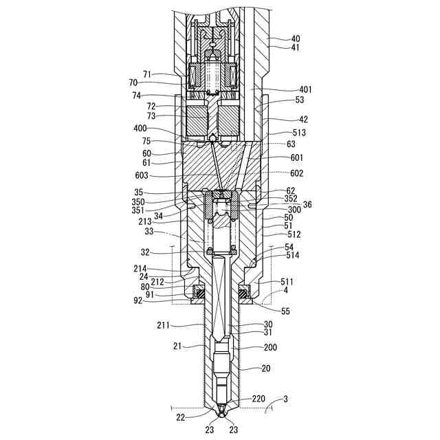
燃料が流入するノズル室(200)、前記ノズル室に連通し燃料を噴射する噴孔(23)、および、外周壁に形成された係止部(24)を有するノズルボデー(20)と、
前記ノズル室内で往復移動可能に設けられ、前記ノズル室と前記噴孔との間を開閉し前記噴孔からの燃料の噴射を断続するノズルニードル(30)と、
前記ノズルボデーに対し前記噴孔とは反対側に設けられ、前記ノズル室に流入する燃料が流れる燃料通路(401)、および、外周壁に形成されたボデーねじ部(42)を有するインジェクタボデー(40)と、
前記ノズルボデーおよび前記インジェクタボデーの径方向外側に設けられ、前記ボデーねじ部に螺合するナットねじ部(53)、前記係止部に係止される被係止部(54)、および、前記噴孔側の端部の内周壁から径方向外側へ凹むよう形成された環状のリテーニングナット溝部(55)を有し、前記ノズルボデーと前記インジェクタボデーとの間に互いが近付く方向の軸力を生じさせることが可能な筒状のリテーニングナット(50)と、
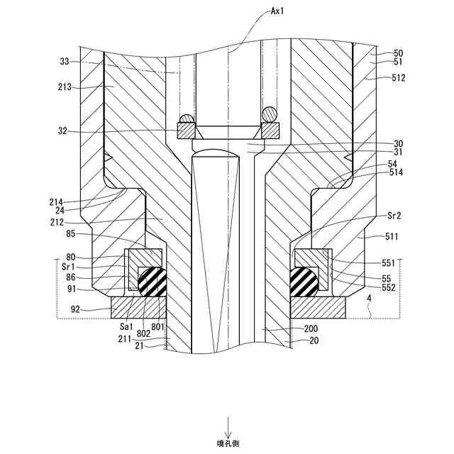
前記リテーニングナット溝部に設けられた環状のバックアップリング(80)と、
前記ノズルボデーの径方向外側において前記バックアップリングに対し軸方向の前記噴孔側かつ前記バックアップリングに対し径方向内側に設けられた環状のOリング(91)と、
前記リテーニングナットの前記噴孔側の端面に接するよう、前記ノズルボデーの径方向外側において前記リテーニングナット溝部、前記バックアップリング、および、前記Oリングに対し軸方向の前記噴孔側に設けられる環状のガスケット(92)と、
を備える燃料噴射装置。
続きを表示(約 790 文字)
【請求項2】
前記バックアップリングと前記リテーニングナット溝部との間には、径方向の隙間である径方向隙間(Sr1、Sr2)が形成され、
前記バックアップリングと前記ガスケットとの間には、軸方向の隙間である軸方向隙間(Sa1、Sa2)が形成される請求項1に記載の燃料噴射装置。
【請求項3】
前記バックアップリングの内周壁は、前記ノズルボデーの外周壁と接している請求項2に記載の燃料噴射装置。
【請求項4】
前記バックアップリングの内径は、前記ノズルボデーの外径より大きい請求項2に記載の燃料噴射装置。
【請求項5】
前記バックアップリングは、前記Oリングの前記噴孔とは反対側の部位に当接する当接環状面(801)、および、前記Oリングの径方向外側の部位に当接する当接筒状面(802)を有する請求項1~4のいずれか一項に記載の燃料噴射装置。
【請求項6】
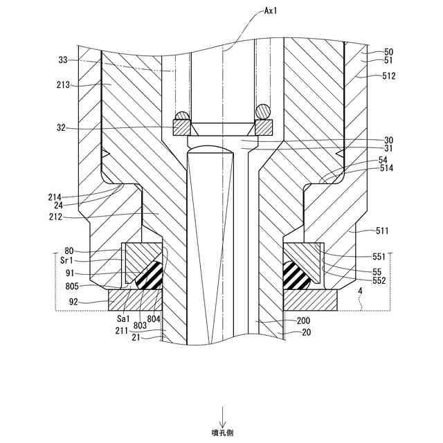
前記バックアップリングは、前記Oリングの前記噴孔とは反対側の部位および前記Oリングの径方向外側の部位に当接する当接テーパ面(803)を有する請求項1~4のいずれか一項に記載の燃料噴射装置。
【請求項7】
前記バックアップリングは、前記当接テーパ面の径方向内側において前記ノズルボデーの外周壁に対向する対向筒状面(804)、および、前記当接テーパ面の前記噴孔側において前記ガスケットに対向する平面状の対向環状面(805)を有する請求項6に記載の燃料噴射装置。
【請求項8】
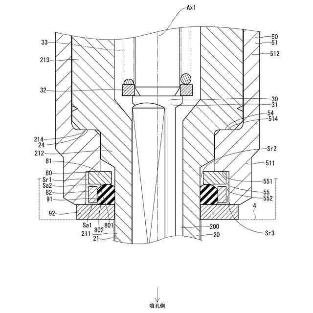
前記バックアップリングは、前記Oリングの前記噴孔とは反対側の部位に当接する第1リング(81)、および、前記第1リングとは別体に形成され前記Oリングの径方向外側の部位に当接する第2リング(82)を有する請求項1~4のいずれか一項に記載の燃料噴射装置。
発明の詳細な説明
【技術分野】
【0001】
本発明は、燃料噴射装置に関する。
続きを表示(約 2,200 文字)
【背景技術】
【0002】
近年、排気規制によるEGR多用に伴い燃料噴射装置のノズルボデーに腐食が発生することへの対策として、ノズルボデーに対しメッキなどの耐食処理が施されている。しかしながら、従来の燃料噴射装置では、ノズルボデーの根本にメッキ処理を施しても、リテーニングナットの締結時にノズルボデーの根本のR部の応力が高くなりメッキ割れが生じる懸念があるため、ノズルボデーの根本にはメッキ処理を施さないことが一般的である。メッキ処理などの腐食対策を施していないノズルボデーの根本の耐食性は低いため、ノズルボデーの根本周辺に燃焼ガス(酸)が侵入し、かつ、凝縮水が発生することにより、ノズルボデーの根本で腐食が発生する。
【先行技術文献】
【特許文献】
【0003】
欧州特許第2321521号明細書
【発明の概要】
【発明が解決しようとする課題】
【0004】
例えば、特許文献1の燃料噴射装置では、ノズルボデーの根本を腐食液に触れさせないようにするため、ノズルボデー、リテーニングナット、ガスケット間にOリングを設け、ノズルボデーの根本周辺への燃焼ガスの侵入を抑制している。特許文献1の燃料噴射装置では、ノズルボデーを保持するリテーニングナットは、インジェクタボデーとナットねじ部で締結されており、これにより、リテーニングナットおよびインジェクタボデーの軸の位置が決定する。ノズルボデーは、インジェクタボデーに対しピン等で固定されている。そのため、リテーニングナットとノズルボデーとの間で軸ズレが生じ、Oリングの径方向の圧縮率を全周で一定に保つことが困難になるおそれがある。これにより、ノズルボデーの根本周辺への燃焼ガスの侵入の抑制が困難になるおそれがある。
【0005】
本発明の目的は、ノズルボデーの腐食を抑制可能な燃料噴射装置を提供することにある。
【課題を解決するための手段】
【0006】
本発明に係る燃料噴射装置は、ノズルボデー(20)とノズルニードル(30)とインジェクタボデー(40)と筒状のリテーニングナット(50)と環状のバックアップリング(80)と環状のOリング(91)と環状のガスケット(92)とを備える。ノズルボデーは、燃料が流入するノズル室(200)、ノズル室に連通し燃料を噴射する噴孔(23)、および、外周壁に形成された係止部(24)を有する。ノズルニードルは、ノズル室内で往復移動可能に設けられ、ノズル室と噴孔との間を開閉し噴孔からの燃料の噴射を断続する。
【0007】
インジェクタボデーは、ノズルボデーに対し噴孔とは反対側に設けられ、ノズル室に流入する燃料が流れる燃料通路(401)、および、外周壁に形成されたボデーねじ部(42)を有する。リテーニングナットは、ノズルボデーおよびインジェクタボデーの径方向外側に設けられ、ボデーねじ部に螺合するナットねじ部(53)、係止部に係止される被係止部(54)、および、噴孔側の端部の内周壁から径方向外側へ凹むよう形成された環状のリテーニングナット溝部(55)を有し、ノズルボデーとインジェクタボデーとの間に互いが近付く方向の軸力を生じさせることが可能である。
【0008】
バックアップリングは、リテーニングナット溝部に設けられている。Oリングは、ノズルボデーの径方向外側においてバックアップリングに対し軸方向の噴孔側かつバックアップリングに対し径方向内側に設けられている。ガスケットは、リテーニングナットの噴孔側の端面に接するよう、ノズルボデーの径方向外側においてリテーニングナット溝部、バックアップリング、および、Oリングに対し軸方向の噴孔側に設けられる。
【0009】
本発明では、Oリングは、ノズルボデーの径方向外側においてバックアップリングに対し軸方向の噴孔側かつバックアップリングに対し径方向内側に設けられている。そのため、インジェクタボデーへのリテーニングナットの締結時にリテーニングナットとノズルボデーとの間で軸ズレが生じても、この軸ズレのOリングへの影響を低減でき、Oリングの径方向の圧縮率を全周で一定に保つ効果が期待できる。これにより、ノズルボデーの根本周辺への燃焼ガスの侵入を抑制できる。その結果、メッキ処理などの腐食対策をノズルボデーの根本に施さない場合でも、ノズルボデーの腐食を抑制できる。
【図面の簡単な説明】
【0010】
第1実施形態による燃料噴射装置を示す断面図。
第1実施形態による燃料噴射装置の一部を示す断面図。
第1実施形態による燃料噴射装置のバックアップリング、Oリング、ガスケット、および、その近傍を示す断面図。
第2実施形態による燃料噴射装置のバックアップリング、Oリング、ガスケット、および、その近傍を示す断面図。
第3実施形態による燃料噴射装置のバックアップリング、Oリング、ガスケット、および、その近傍を示す断面図。
第4実施形態による燃料噴射装置のバックアップリング、Oリング、ガスケット、および、その近傍を示す断面図。
第5実施形態による燃料噴射装置のバックアップリング、Oリング、ガスケット、および、その近傍を示す断面図。
【発明を実施するための形態】
(【0011】以降は省略されています)
この特許をJ-PlatPat(特許庁公式サイト)で参照する
関連特許
株式会社デンソーウェーブ
筐体
1か月前
株式会社デンソー
分離体
7日前
株式会社デンソー
回転機
1か月前
株式会社デンソー
電動弁
21日前
株式会社デンソー
端子台
1日前
株式会社デンソー
電子装置
1か月前
株式会社デンソー
熱交換器
20日前
株式会社デンソー
摺動機構
20日前
株式会社デンソー
電子装置
21日前
株式会社デンソー
摺動機構
20日前
株式会社デンソー
光学部材
7日前
株式会社デンソー
光学部材
7日前
株式会社デンソー
撮像装置
20日前
株式会社デンソー
電解装置
22日前
株式会社デンソー
制御装置
23日前
株式会社デンソー
撮像装置
20日前
株式会社デンソー
電気回路
15日前
株式会社デンソー
検出装置
1か月前
株式会社デンソー
電流センサ
1か月前
株式会社デンソー
センサ装置
28日前
株式会社デンソー
熱交換装置
1か月前
株式会社デンソー
半導体装置
1か月前
株式会社デンソー
レーダ装置
1か月前
株式会社デンソー
センサ装置
28日前
株式会社デンソー
半導体装置
22日前
株式会社デンソー
半導体装置
20日前
株式会社デンソー
熱交換部材
22日前
株式会社デンソー
ヒータ装置
29日前
株式会社デンソートリム
鞍乗り車両
29日前
株式会社デンソー
半導体装置
7日前
株式会社デンソー
半導体装置
1か月前
株式会社デンソー
電気化学セル
20日前
株式会社デンソー
電気化学セル
20日前
株式会社デンソー
表面加工方法
今日
株式会社デンソーテン
車載表示装置
20日前
株式会社デンソー
電圧検出回路
1か月前
続きを見る
他の特許を見る