TOP
|
特許
|
意匠
|
商標
特許ウォッチ
Twitter
他の特許を見る
公開番号
2025175453
公報種別
公開特許公報(A)
公開日
2025-12-03
出願番号
2024081579
出願日
2024-05-20
発明の名称
車両用灯具
出願人
株式会社豊田自動織機
代理人
弁理士法人岡田国際特許事務所
主分類
F21S
41/63 20180101AFI20251126BHJP(照明)
要約
【課題】照射方向の調整に際して工具(例えば、ドライバ)を必要としない車両用灯具を提供する。それにより、車両のフロントバンパー及び前方下部構造の設計自由度を向上させる。
【解決手段】車両用灯具(1)は、光源(11)が取付けられた基部(3)と、基部に対して回転可能に保持されたアウターカバー(42)と、光源とアウターカバーとの間に配設され且つ基部に対して傾斜可能に保持されたレンズ(51)と、を有している。アウターカバーにおける回転角度の変化に応じてレンズの傾斜角度が変化し、その結果として照射方向が変化する。
【選択図】図6
特許請求の範囲
【請求項1】
車両用灯具であって、
光源が取付けられた基部と、
前記基部に対して回転可能に保持されたアウターカバーと、
前記光源と前記アウターカバーとの間に配設され且つ前記基部に対して傾斜可能に保持されたレンズと、
前記アウターカバーの回転に応じて前記レンズの傾斜角度を変化させる角度調整機構と、を有する車両用灯具。
続きを表示(約 440 文字)
【請求項2】
請求項1に記載された車両用灯具であって、
前記角度調整機構は、
前記アウターカバーが前記光源側へ押し込まれている調整可能状態ではないときには前記アウターカバーが回転しても前記傾斜角度を変化させない、車両用灯具。
【請求項3】
請求項2に記載された車両用灯具であって、
前記角度調整機構は、
前記アウターカバーが前記光源側へ押し込まれると前記調整可能状態を維持し、
前記アウターカバーが前記光源側へ再び押し込まれると前記調整可能状態を解除する、車両用灯具。
【請求項4】
請求項3に記載された車両用灯具であって、
前記角度調整機構は、
前記レンズに対して前記光源側へ突出した被押圧部と、
前記調整可能状態であるときに前記アウターカバーと係合して共に回転し且つ回転角度に応じて前記被押圧部を前記アウターカバー側へ押して前記傾斜角度を変化させる押圧部と、を含む車両用灯具。
発明の詳細な説明
【技術分野】
【0001】
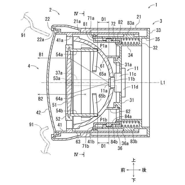
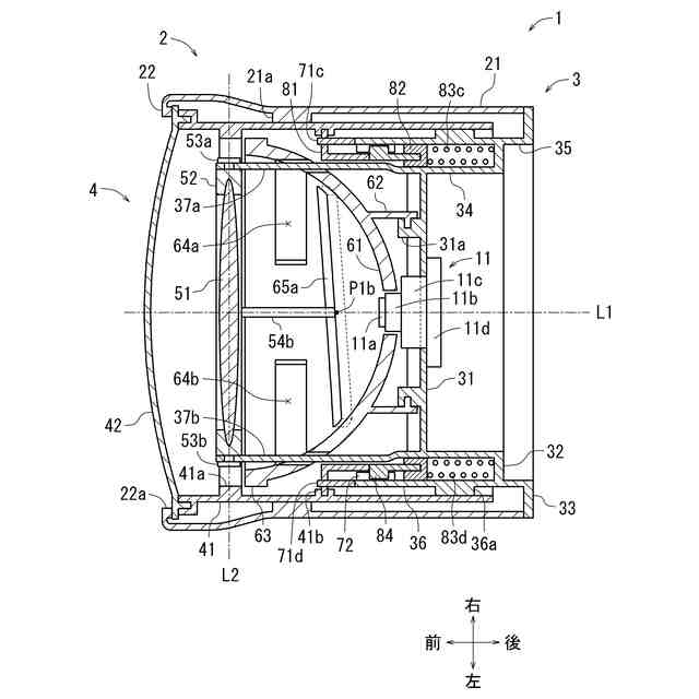
本発明は、車両用灯具に関する。具体的には、照射方向を調整可能な車両用灯具に関する。
続きを表示(約 1,300 文字)
【背景技術】
【0002】
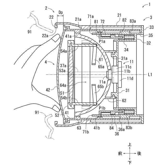
車両に取り付けられた後、照射方向を調整できるフォグランプ(即ち、車両用灯具の1つであり、「従来灯具」とも称呼される)が特許文献1に開示されている。より具体的に述べると、従来灯具はエイミングギアを備え、ドライバを用いてエイミングギアを回転させることによって照射方向が調整される。従来灯具では、エイミングギアに対してドライバを前方又は下方から挿入することができる。例えば、従来灯具がフロントバンパーに取り付けられる場合、フロントバンパー及び/又は車両における前端近傍の下部構造にドライバが挿入される貫通孔が設けられる。
【先行技術文献】
【特許文献】
【0003】
特開平9-92007号公報
【発明の概要】
【発明が解決しようとする課題】
【0004】
しかしながら、ドライバを前方から挿入するための貫通孔がフロントバンパーに形成される場合、その貫通孔によってフロントバンパーの意匠が制約を受ける虞がある。或いは、従来灯具に対してドライバが下方から挿入される場合、従来灯具の下方に他の部材を配置することが困難となり車両設計上の制約が生じる虞がある。
【0005】
本発明は、このような点に鑑みて創案されたものであり、照射方向の調整に際して工具(例えば、ドライバ)を必要としない車両用灯具を提供することを目的の1つとする。
【課題を解決するための手段】
【0006】
上記課題を解決するため、本発明における第1の発明に係る車両用灯具は、光源が取付けられた基部と、前記基部に対して回転可能に保持されたアウターカバーと、前記光源と前記アウターカバーとの間に配設され且つ前記基部に対して傾斜可能に保持されたレンズと、前記アウターカバーの回転に応じて前記レンズの傾斜角度を変化させる角度調整機構と、を有する。
【0007】
本発明における第2の発明は、上記第1の発明に係る車両用灯具であって、前記角度調整機構は、前記アウターカバーが前記光源側へ押し込まれている調整可能状態ではないときには前記アウターカバーが回転しても前記傾斜角度を変化させない。
【0008】
本発明における第3の発明は、上記第2の発明に係る車両用灯具であって、前記角度調整機構は、前記アウターカバーが前記光源側へ押し込まれると前記調整可能状態を維持し、前記アウターカバーが前記光源側へ再び押し込まれると前記調整可能状態を解除する。
【0009】
本発明における第4の発明は、上記第3の発明に係る車両用灯具であって、前記角度調整機構は、前記レンズに対して前記光源側へ突出した被押圧部と、前記調整可能状態であるときに前記アウターカバーと係合して共に回転し且つ回転角度に応じて前記被押圧部を前記アウターカバー側へ押して前記傾斜角度を変化させる押圧部と、を含む。
【発明の効果】
【0010】
第1の発明では、アウターカバーの回転に応じてレンズの傾斜角度が変化し、それにより車両用灯具の照射方向が変化する。そのため、第1の発明によれば、照射方向の調整に際して工具が必要とならない。
(【0011】以降は省略されています)
この特許をJ-PlatPat(特許庁公式サイト)で参照する
関連特許
株式会社豊田自動織機
電源装置
15日前
株式会社豊田自動織機
トランス
15日前
株式会社豊田自動織機
制御装置
14日前
株式会社豊田自動織機
内燃機関
14日前
株式会社豊田自動織機
産業車両
1日前
株式会社豊田自動織機
蓄電装置
14日前
株式会社豊田自動織機
車両用灯具
1日前
株式会社豊田自動織機
排気浄化装置
今日
株式会社豊田自動織機
車両上部構造
1日前
株式会社豊田自動織機
燃料電池システム
8日前
株式会社豊田自動織機
ターボチャージャ
22日前
株式会社豊田自動織機
電力供給システム
27日前
株式会社豊田自動織機
ディーゼルエンジン
6日前
トヨタ自動車株式会社
蓄電池
28日前
株式会社豊田自動織機
車両用熱マネジメントシステム
14日前
株式会社豊田自動織機
蓄電装置の製造方法及び蓄電装置
6日前
株式会社豊田自動織機
繊維構造体および繊維強化複合材
7日前
株式会社豊田自動織機
コア設計装置、及びコア設計方法
1日前
株式会社豊田自動織機
制御装置、及び燃料電池モジュール
14日前
トヨタ自動車株式会社
蓄電モジュール
28日前
株式会社豊田自動織機
多孔質クラスレートシリコンの製造方法
6日前
株式会社豊田自動織機
電子制御装置および電子制御装置の起動方法
1日前
株式会社豊田自動織機
物流システムの物品配置システムおよび倉庫システム
今日
株式会社豊田自動織機
シリコンクラスレートIIを含む負極活物質の製造方法
14日前
株式会社豊田自動織機
産業車両のヘッドガード、産業車両及び産業車両の屋根部材
22日前
個人
室外機器
5か月前
個人
照明装置
27日前
個人
照明システム
5か月前
個人
消火器設置表示装置
1か月前
個人
車載機器の通気構造
2か月前
株式会社遠藤照明
照明器具
6か月前
株式会社遠藤照明
照明装置
2か月前
株式会社小糸製作所
車両用灯具
1か月前
個人
LEDライト
5か月前
能美防災株式会社
表示灯
2か月前
日亜化学工業株式会社
面状光源
7日前
続きを見る
他の特許を見る